1.18氟—氟代脱氧葡萄糖正电子发射计算机断层扫描术是种非创伤性的分子影像显像技术。该技术中的 189F 核由质子 11p 轰击 188O 核生成,相应核反应方程式为( )
A.188O + 11p → 189F + 0−1e B.188O + 11p → 189F + 10n
C.188O + 11p → 189F + 01e D.188O + 11p → 189F + 42He
【答案】
B
【解析】
根据质量数守恒和核电荷数守恒可得相应核反应方程式为
188O + 11p → 189F + 10n
故选 B。
2.我国某研究团队提出以磁悬浮旋转抛射为核心的航天器发射新技术。已知地球和月球质量之比约为 81∶1,半径之比约为 4∶1。若在地球表面抛射绕地航天器,在月球表面抛射绕月航天器,所需最小抛射速度的比值约为( )
A.20 B.6 C.4.5 D.1.9
【答案】
C
3.
如图,水平面 MN 下方存在垂直纸面向里的匀强磁场,纸面为竖直平面。不可形变的导体棒 ab 和两根可形变的导体棒组成三角形回路框,其中 ab 处于水平位置框从 MN 上方由静止释放,框面始终在纸面内框落入磁场且 ab 未到达 MN 的过程中,沿磁场方向观察,框的大致形状及回路中的电流方向为( )
【答案】
C
【解析】
由楞次定律“增反减同”可知回路框中感应电流方向为逆时针,根据左手定则可知左侧导体棒所受安培力斜向右上方,右侧导体棒所受安培力斜向左上方。
故选 C。
4.
X、Y、Z 为大小相同的导体小球,X、Y所带电荷量均为 q,Z 所带电荷量为 − 5q。X、Y 均放置在光滑绝缘水平面上,Y 固定在 P 点,X 与绝缘轻弹簧端相连,弹簧另一端固定,此时 X 静止在平衡位置 O 点,如图所示,将较远处的 Z 移近,先与 X 接触,然后与 Y 接触,再移回较远处,在此过程中,一直保持不变的是( )
A.X 的平衡位置 B.Z 的电荷种类
C.Y 对 X 的库仑力方向 D.X、Y 系统的电势能
【答案】
B
5.
某同学制作了一个小型喷泉装置,如图甲所示两个瓶子均用瓶塞密闭,两瓶用弯管连通,左瓶插有两端开口的直管。左瓶装满水,右瓶充满空气。用沸水浇右瓶时,左瓶直管有水喷出,如图乙所示,水喷出的过程中,装置内的气体( )
A.内能比浇水前大
B.压强与浇水前相等
C.所有分子的动能都比浇水前大
D.对水做的功等于水重力势能的增量
【答案】
A
【解析】
A.用沸水浇右瓶时,装置内气体的温度升高,所以内能增大,故 A 正确;
B.水能喷出的原因就是装置内气体的压强增大,故 B 错误;
C.装置内气体的温度升高,气体分子的平均动能增大,但并不是所有分子的动能都增大,故C错误;
D.水喷出时有动能,故瓶内气体对水做的功等于水动能的增量和重力势能增量之和,故 D 错误。
故选 A。
6.
如图,竖直平面内有一光滑绝缘轨道,取竖直向上为 y 轴正方向,轨道形状满足曲线方程 y = x2。质量为 m、电荷量为 q(q > 0)的小圆环套在轨道上,空间有与 x 轴平行的匀强电场,电场强度大小 E = \(\frac{{2mg}}{q}\),圆环恰能静止在坐标(1,1)处,不计空气阻力,重力加速度 g 大小取 10 m/s2。若圆环由(3,9)处静止释放,则( )
A.恰能运动到(− 3,9)处
B.在(1,1)处加速度为零
C.在(0,0)处速率为 10\(\sqrt 3 \) m/s
D.在(− 1,1)处机械能最小
【答案】
D
【解析】
AD.由题意可知,圆环所受的电场力平行于 x 轴向右,如图所示。
圆环所受重力与电场力的合力为
Gʹ = \(\sqrt {{{(mg)}^2} + {{(qE)}^2}} \) = \(\sqrt 5 \)mg
又 tanθ = \(\frac{{qE}}{{mg}}\) = 2
根据题意可知,坐标(1,1)处是等效最低点,过(1,1)做轨道的切线,再过坐标(3,9)作该切线的平行线,如图所示
根据题意写出该平行线的方程为
y – 9 = tanθ·(x − 3)
即 y = 2x + 3
设该平行线与轨道的交点为 A,则 A 点的坐标满足方程 y = 2x + 3,y = x2
解得 A 点的坐标为(− 1,1),则圆环恰能运动到坐标(− 1,1)。又圆环运动到该点时克服电场力做功最多,故机械能最小,故 A 错误,D 正确;
B.圆环做曲线运动,在(1,1)处加速度一定不为零,故 B 错误;
C.设圆环到达(0,0)处时的速度大小为 v,则圆环由(3,9)处静止释放运动到(0,0)处的过程,由动能定理得 mgy – qEx = \(\frac{1}{2}\)mv2
又 E = \(\frac{{2mg}}{{qE}}\)
联立得 v = 2\(\sqrt 15 \) m/s
故 C 错误。
故选 D。
7.
用薄玻璃制作的平面镜 X 挂在墙上,某同学站在镜前恰能看到自己的全身像,如图甲所示把 X 换成用厚玻璃制作的平面镜 Y,如图乙所示。若该同学仍能看到自己的全身像,那么在竖直方向上,Y 相对于 X 上边缘至少高 Δl1,下边缘至少低 Δl2,不计玻璃侧面透光和表面反射,则( )
A.Δl1 = Δl2 = 0 B.Δl1 = Δl2 > 0
C.Δl1 > Δl2 > 0 D.Δl2 > Δl1 > 0
【答案】
D
【解析】
由题意如图所示。
AB 为人在平面镜中的全身像,根据平面镜成像原理,物像关于镜面对称,则有:DF 为 △ABC 的中位线,那么镜子的长度 DF 至少为 AB 的一半,即人眼到脚底距离的一半。
当换成厚玻璃制作的平面镜 Y 时,光垂直通过平面镜光路没有改变,光倾斜通过平面镜时光线会发生折射,所以头顶和脚部的光线通过平面镜时都会不同程度的发生折射,因为头部光线几乎垂直于平面镜,光线偏离原来方向的程度低,脚部反之,光路图如图所示。

因此该同学仍能看到自己的全身像,则有 Δl2 > Δl1 > 0
故选 D。
8.甲、乙两列简谐横波在 t = 0 时刻的波形如图所示,传播速度均为 1 cm/s。下列说法正确的是( )

A.甲的周期为 2 s
B.甲与乙的频率之比为 3∶2
C.t = 0 时刻,质点 P 的位移为零
D.t = 0 时刻,质点 Q 的速度沿 y 轴正方向
【答案】
BC
9.
如图,小球 X、Y 用不可伸长的等长轻绳悬挂于同一高度,静止时恰好接触,拉起 X,使其在竖直方向上升高度 h 后由静止释放,X 做单摆运动到最低点与静止的 Y 正碰。碰后 X、Y 做步调一致的单摆运动,上升最大高度均为 ,若 X、Y 质量分别为 mx 和 my,碰撞前后 X、Y 组成系统的动能分别为 Ek1 和 Ek2,则( )
A.\(\frac{{{m_x}}}{{{m_y}}}\) = 1 B.\(\frac{{{m_x}}}{{{m_y}}}\) = 2 C.\(\frac{{{E_{{\rm{k}}1}}}}{{{E_{{\rm{k}}2}}}}\) = 2 D.\(\frac{{{E_{{\rm{k}}1}}}}{{{E_{{\rm{k}}2}}}}\) = 4
【答案】
AC
10.
如图,原长为 l0 的轻弹簧竖直放置,一端固定于地面,另端连接厚度不计、质量为m1 的水平木板 X。将质量为 m2 的物块 Y 放在 X 上,竖直下压 Y,使 X 离地高度为 l,此时弹簧的弹性势能为 Ep,由静止释放,所有物体沿竖直方向运动。则( )
A.若 X、Y 恰能分离,则 Ep =(m1 + m2)g(l0 − l)
B.若 X、Y 恰能分离,则 Ep =(m1 + m2)gl
C.若 X、Y 能分离,则 Y 的最大离地高度为 \(\frac{{{E_{\rm{p}}}}}{{({m_1} + {m_2})g}}\) + (l0 − l)
D.若 X、Y 能分离,则 Y 的最大离地高度为 \(\frac{{{E_{\rm{p}}}}}{{({m_1} + {m_2})g}}\) + l
【答案】
AD
11.某学习小组使用如图所示的实验装置探究向心力大小与半径、角速度、质量之间的关系若两球分别放在长槽和短槽的挡板内侧,转动手柄,长槽和短槽随变速轮塔匀速转动,两球所受向心力的比值可通过标尺上的等分格显示,当皮带放在皮带盘的第一挡、第二挡和第三挡时,左、右变速轮塔的角速度之比分别为 1∶1,1∶2 和 1∶3。

(1)第三挡对应左、右皮带盘的半径之比为__________。
(2)探究向心力大小与质量之间的关系时,把皮带放在皮带盘的第一挡后,应将质量__________(选填“相同”或“不同”)的铝球和钢球分别放在长、短槽上半径__________(选填“相同”或“不同”)处挡板内侧;
(3)探究向心力大小与角速度之间的关系时,该小组将两个相同的钢球分别放在长、短槽上半径相同处挡板内侧,改变皮带挡位,记录一系列标尺示数。其中一组数据为左边 1.5 格、右边 6.1 格,则记录该组数据时,皮带位于皮带盘的第__________挡(选填“一”“二”或“三”)。
【答案】
(1)3∶1
(2)不同,相同
(3)二
12.某实验小组欲测量某化学电池的电动势,实验室提供器材如下:
待测化学电池(电动势 1 ~ 1.5 V,内阻较小);
微安表(量程 100 μA),内阻约 1500 Ω);
滑动变阻器 R0(最大阻值 25 Ω);
电阻箱 R1(0 ~ 9999 Ω);
电阻箱 R2(0 ~ 999.9 Ω);
开关 S、导线若干。

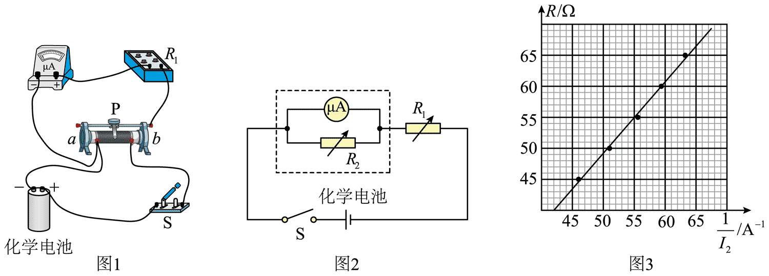
(1)该小组设计的实验方案首先需要扩大微安表的量程。在测量微安表内阻时,该小组连接实验器材,如图 1 所示闭合 S 前,滑动变阻器的滑片 P 应置于__________端(选填“a”或“b”);闭合 S,滑动 P 至某一位置后保持不动,调节电阻箱 R1,记录多组 R1 的阻值和对应微安表示数,微安表示数用国际单位制表示为 I1 后,绘制 R1–\(\frac{1}{{{I_1}}}\) 图像,拟合直线,得出 R1 = 0.159×\(\frac{1}{{{I_1}}}\) − 1619,可知微安表内阻为__________Ω;
(2)为将微安表量程扩大为 25 mA,把微安表与电阻箱 R2 并联,并调整 R2 的阻值为__________Ω(保留 1 位小数);
(3)微安表量程扩大后,按图 2 所示电路图连接实验器材。保持电阻箱__________(选填“R1”或“R2”)的阻值不变,闭合 S,调节电阻箱__________(选填“R1”或“R2”)的阻值 R,记录多组 R 和对应微安表示数,计算得出干路电流 I2 后,作 R–\(\frac{1}{{{I_2}}}\) 图像,如图 3 所示可知化学电池的电动势为__________V(保留 2 位小数)。
【答案】
(1)a,1619
(2)6.5
(3)R2,R1,1.16
13.某同学借助安装在高处的篮球发球机练习原地竖直起跳接球。该同学站在水平地面上,与出球口水平距离 l = 2.5 m,举手时手掌距地面最大高度 h0 = 2.0 m。发球机出球口以速度 v0 = 5 m/s沿 水平方向发球。从篮球发出到该同学起跳离地,耗时 t0 = 0.2 s,该同学跳至最高点伸直手臂恰能在头顶正上方接住篮球。重力加速度 g 大小取 10 m/s2。求:
(1)t0 时间内篮球的位移大小;
(2)出球口距地面的高度。
【答案】
(1)\(\frac{{\sqrt {26} }}{5}\) m
(2)3.7 m
14.
如图,两根相距 L 的无限长的平行光滑金属轨固定放置。导轨平面与水平面的夹角为 θ(sinθ = 0.6)。导轨间区域存在竖直向上的匀强磁场,磁感应强度大小为 B。将导轨与阻值为 R 的电阻、开关 S、真空器件 P 用导线连接,P 侧面开有可开闭的通光窗 N,其余部分不透光;P 内有阴极 K 和阳极 A,阴极材料的逸出功为 W。断开 S,质量为 m 的的导体棒 ab 与导轨垂直且接触良好,沿导轨由静止下滑,下滑过程中始终保持水平,除 R 外,其余电阻均不计重力加速度大小为 g。电子电荷量为 e,普朗克常数为 h。
(1)求 ab 开始下滑瞬间的加速度大小;
(2)求 ab 速度能达到的最大值;
(3)关闭 N,闭合 S,ab 重新达到匀速运动状态后打开 N,用单色光照射 K,若 ab 保持运动状态不变,求单色光的最大频率。
【答案】
(1)0.6g
(2)\(\frac{{15mgR}}{{16{B^2}{L^2}}}\)
(3)\(\frac{{3emgR}}{{4hBL}}\) + \(\frac{W}{h}\)
15.
电容为 C 的平行板电容器两极板间距为 d,极板水平且足够长,下极板接地,将电容器与开关 S、电阻 R1 和 R2 连接成如图所示电路,a、b 是两个输出端,S 断开极板间充满垂直纸面向里的匀强磁场,磁感应强度大小为 B。由质量为 m、电荷量为 q(q > 0)的带电粒子组成的粒子束以水平速度 v0 沿下极板边缘进入极板间区域,单位时间进入的粒子数为 n。带电粒子不计重力且不与下极板接触,忽略极板边缘效应和带电粒子间相互作用。
(1)为使带电粒子能落在电容器上极板,求极板间距的最大值 dm;
(2)满足(1)的前提下,求电容器所带电荷量的最大值 Qm;
(3)已知 R1 = 2R,R2 = R,闭合 S,电容器重新达到稳定状态后,为使 a、b 端接入任意负载时进入极板间的带电粒子全部落在上极板,求 R 应满足的条件和此时 a、b 间输出功率的最大值。
【答案】
(1)\(\frac{{2m{v_0}}}{{qB}}\)
(2)CBd(v0 − \(\frac{{Bqd}}{{2m}}\))
(3)R ≤ \(\frac{{Bd}}{{3nq}}\left( {{v_0} - \frac{{Bqd}}{{2m}}} \right)\),Pab = \(\frac{{{n^2}{q^2}R}}{2}\)
2006 - 2025,推荐分辨率 1024*768 以上,推荐浏览器 Chrome、Edge 等现代浏览器,截止 2021 年 12 月 5 日的访问次数:1872 万 9823。 站长邮箱
