1.下列叙述中,符合物理学史事实的有( )
(A)卢瑟福通过人工转变的方法发现了中子
(B)汤姆孙在对阴极射线研究的过程中发现了质子
(C)卢瑟福通过对α粒子散射的研究,提出了原子的核式结构学说
(D)贝克勒尔通过对天然放射性的研究,发现了原子核是由质子和中子组成的
【答案】
C
2.球从3 m高处落下,被地面弹回,在1 m高处被接住,那么小球通过的路程和位移的大小分别为( )
(A)4 m,3 m (B)3 m,1 m (C)3 m,2 m (D)4 m,2 m
【答案】
D
3.关于能量转化的下列说法中正确的是( )
(A)对蓄电池充电时电能转化为化学能
(B)用MP3听音乐时电池把电能转化为化学能
(C)太阳能电池把太阳能转化为化学能
(D)光合作用把太阳能转化为内能
【答案】
A
4.密封容器中气体的压强( )
(A)是由气体受到重力产生的
(B)是大量气体分子频繁地碰撞器壁所产生的
(C)是由气体分子间的相互作用力(吸引和排斥)产生的
(D)当容器自由下落时将减为零
【答案】
B
5.水平细绳拉着物体在水平桌面上做匀速直线运动,下列说法中正确的是( )
(A)绳对物体的拉力和桌面对物体的摩擦力是一对作用力和反作用力
(B)物体所受的重力和支持力是一对作用力和反作用力
(C)桌面对物体的摩擦力和物体对绳的拉力是一对平衡力
(D)桌面对物体的摩擦力和物体对桌面的摩擦力是一对作用力和反作用力
【答案】
D
6.求几个力的合力所用的物理方法是( )
(A)类比 (B)控制变量
(C)等效替代 (D)建立理想模型
【答案】
C
7.关于宇宙的结构和天体的演化,下列说法中正确的是( )
(A)所谓恒星就是永恒不变的星球
(B)天体的质量越小,寿命越短
(C)太阳系是银河系的一个组成部分
(D)地球是宇宙中唯一有卫星的行星
【答案】
C
8.下列关于真空中传播的电磁波的说法中,正确的是( )
(A)频率越大,传播速度越大
(B)频率不同,传播速度大小相同
(C)频率越大,波长越长
(D)频率越大,传播速度越小
【答案】
B
9.
如图所示,稳定的匀强磁场中有一金属圆环垂直于磁场放置,电键S可控制圆环的闭合与断开,下列各情况中能使圆环产生感应电流的是( )
(A)S闭合瞬间 (B)S闭合后,磁场变强
(C)S闭合,再断开的瞬间 (D)S闭合后,环在磁场内平移
【答案】
C
10.关于电流的磁场,下列说法中正确的是( )
(A)直线电流的磁场,只分布在垂直于导线的某一个平面上
(B)直线电流的磁感线是一些同心圆,磁感线的疏密是均匀的
(C)通电直螺线管的磁感线分布与条形磁铁相同,在管内无磁场
(D)通电长直螺线管的内部中间区域的磁感线是平行等距的直线
【答案】
D
11.
如图所示,a、b是地球赤道上的两点,b、c是地球表面上不同纬度同一经度上的两个点,下列说法中正确的是( )
(A)a、b、c三点的角速度相同
(B)b、c两点的线速度大小相同
(C)a、b两点的线速度大小不相同
(D)b、c两点的角速度不相同
【答案】
A
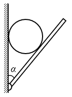
12.
如图所示,竖直墙与挡板成α角,中间有一个重为G的小球,竖直墙与挡板光滑,当α角缓慢变化时(0°<α≤90°),下列说法中正确的是( )
(A)α角增大,小球对墙的压力增大
(B)α角变化时,小球对挡板的压力不可能超过球的重力
(C)α角增大时,小球对挡板的压力增大
(D)α角变化时,小球对挡板的压力不可能小于球的重力
【答案】
D
13.
一列沿x轴正方向传播的简谐横波,波速为60 m/s,某时刻波的图象如图所示,则( )
(A)波的频率为20 Hz,此时质点a的速度向着y轴负方向
(B)波的频率为40 Hz,此时质点b的速度向着y轴负方向
(C)波的频率为20 Hz,此时质点b的速度为零
(D)波的频率为40 Hz,此时质点a的速度为零
【答案】
A
14.
完全相同的甲、乙、丙三盏电灯,允许消耗的最大功率为10 W,连接方法如图所示,接入电源后整个电路允许消耗的最大功率为( )
(A)10 W (B)15 W
(C)20 W (D)30 W
【答案】
B
15.一个质量为m的物体放在地面上,当受到竖直向上的拉力F作用时产生加速度a,如果竖直向上的拉力变为2F时,物体的加速度将是( )
(A)大于2a (B)等于2a (C)在a和2a之间 (D)小于a
【答案】
A
16.
电阻R1、R2的I-U图象如图所示,由图可知R1=_____Ω。将R1、R2并联后接到某电源上,R1消耗的电功率是6 W,则此时R2消耗的电功率是_____W。
【答案】
8,4
18.
如图所示的是_____门的符号,当它的两个输入端一个为高电压另一个为低电压时,输出端的电压为_____电压。
【答案】
与、低
19.牛顿发现万有引力定律一百多年后,_________利用扭秤实验进行了验证并测出了万有引力常量。若两个可视为质点的物体质量分别为m1和m2,当它们相距为r时,引力为F。则当把m1改为3m1,m2不变,r变为r/2其,则两物体间的引力为______F。
【答案】
卡文迪什,12
20.
如图所示为一定质量理想气体的两个变化过程,其中AB段为双曲线,则符合查理定律的是____段。A、C两状态的温度相比较有tA_____tC(选填“>”、“=”或“<”)。
【答案】
BC、>
21.用竖直向上的拉力将质量为20 kg的物块从静止开始以2.5 m/s2的加速度竖直向上提升5 m,拉力所做的功为______J,拉力做功的平均功率为_______W(g取10 m/s2)。
【答案】
1250,625
22.
右图是学生实验用多用电表刻度盘,当学生选用量程为100 mA的电流档测量电流时,表针位置如图所示,则他所测量的电流为_____mA;当他选用欧姆挡的×100倍率测电阻时,正确操作后若表针也指示在图示位置,则所测电阻的阻值为_____Ω。若继续用该表测量另一阻值约为300 Ω的电阻,应将选择开关旋至倍率为_______挡,测量前应该进行的操作是_______。
【答案】
46、2800、×10、调零
23.标出图中金属棒ab的感应电流的方向和cd棒所受的安培力方向。

【答案】
略
23.在图中画出静止在台阶旁的光滑球的受力示意图。

【答案】
略
23.在图中画出点电荷-Q产生的电场中过A点的一条电场线,并标出放在B点的正点电荷所受到的电场力方向。

【答案】
略
23.如图所示为某游乐场过山车部分轨道示意图,若过山车从A点出发沿轨道经B、C运动到D点,请在图中画出从A到B点的位移和经过C点时的速度方向。

【答案】
略
24.如图所示,一个气缸竖直放置在水平地面上,缸内有一质量可忽略不计的活塞,开始时活塞被两个销钉固定,气缸内封闭气体的压强为 1.2×105 Pa、温度为 280 K,体积为 10 L。已知外界的大气压强为 1.0×105Pa,气缸和活塞均不导热。
(1)若气缸内气体温度升高到 350 K,此时气缸内气体压强为多大?
(2)若保持气缸内气体温度为 350 K 不变,拔去两个销钉,当活塞停止移动时,求气缸内气体的体积。(气缸足够长,活塞与气缸间摩擦不计)
【答案】
(1)1.5×105 Pa
(2)15 L
25.
滑板是年轻人十分喜欢的极限运动,现有一场地形状如图所示,场地对滑板的阻力非常小,可以忽略,g取10m/s2。求:
(1)一人以4 m/s的速度从4 m的高台滑下,此人到1.6 m高台处的速度大小;
(2)若他从B处飞出后所能到达的最大离地高度;
(3)若他从1.6 m高台开始下滑,为能到达4 m高台,下滑的最小速度。
【答案】
(1)8m/s
(2)4.8m
(3)4\(\sqrt 3 \)m/s
26.
如图所示,R2=5 Ω,合上电键S,当可变电阻R1接入电阻为7 Ω时,电压表示数为2.5 V,电流表示数为0.75 A。求:
(1)电源的电压;
(2)电阻R3的大小;
(3)调节R1的阻值,使其功率达到最大,写出R1功率的表达式,计算出最大功率。
【答案】
(1)6 V
(2)8 Ω
(3)P1=\(\frac{{36{R_1}}}{{{{(5 + {R_1})}^2}}}\)、1.8 W
2006 - 2026,推荐分辨率 1024*768 以上,推荐浏览器 Chrome、Edge 等现代浏览器,截止 2021 年 12 月 5 日的访问次数:1872 万 9823。 站长邮箱
