1.人类很早就开始思考像石头、棉花、水、黄金等一切物质的结构,现在我们在严密实验基础上建立了物质结构学说,我们知道物质是由______组成的。物体内分子住做永不停息的无规则运动,这种运动跟_______有关,所以把分子的这种运动叫做_______。
【答案】
大量分子,温度,热运动
2.一般分子直径的数量级为______m;分子质量的数量级为______kg。
【答案】
10-10,10-27~10-26
3.一滴露水大约是6×10-7 cm3,它含有水分子数的数量级是__________。
【答案】
1016
4.若一大瓶矿泉水的质量约为1.1 kg,则它所包含的水分子约为_______个。(保留两位有效数字)
【答案】
3.7×1025
5.已知NaCl的摩尔质量为5.85×10-2 kg/mol,而一个NaCl分子的质量为9.72×10-26 kg,则阿伏加德罗常数为______。
【答案】
6.02×1023 mol-1
6.下列有关分子的说法中,正确的是( )
(A)分子是组成物质的最小微粒 (B)分子与质点都是理想化的物理模型
(C)分子是保持物质物理性质的最小微粒 (D)分子是保持物质化学性质的最小微粒
【答案】
D
7.用“油膜法”测分子大小时要满足的理想化的条件是( )
(A)把在水面上尽可能充分散开的油膜视为单分子油膜
(B)把形成单分子油膜的分子看作紧密排列的球形分子
(C)将油膜视为单分子油膜,但需考虑分子间隙
(D)将单分子视为立方体模型
【答案】
AB
8.要估算出气体中分子间的平均距离,应该知道下列物理量中的( )
(A)该气体的密度、摩尔质量
(B)阿伏加德罗常数、该气体的质量和体积
(C)阿伏加德罗常数、该气体的摩尔质量和质量
(D)阿伏加德罗常数、该气体的摩尔质量和密度
【答案】
D
9.已知某种单分子油剂的密度为8×102 kg/m3,将0.8 g这种油剂滴在平静的水面上,最后形成的油膜最大面积约为( )
(A)10-10 m2 (B)104 m2 (C)106 m2 (D)104 cm2
【答案】
B
10.使用“油膜法”估测分子的大小的实验中,实验简要步骤如下:
(A)将画有油膜轮廓的玻璃板放在坐标纸上,数出轮廓内的方格数(不足半个的舍去,多于半个的算一个),再根据方格的边长求出油膜的面积S。
(B)将一滴酒精油酸溶液滴在水面上,待油酸薄膜的形状稳定后,将玻璃板放在浅盘上,用彩笔将薄膜的形状描画在玻璃板上。
(C)用浅盘装入约2 cm深的水,然后将痱子粉或石膏粉均匀地撒在水面上。
(D)用公式d=\(\frac{V}{S}\),求出薄膜厚度,即油酸分子的大小。
(E)根据酒精油酸溶液的浓度,算出一滴溶液中纯油酸的体积V。
(F)用注射器或滴管把事先配制好的酒精油酸溶液一滴一滴地滴入量筒,记下量筒内增加一定体积时的滴数。
上述实验步骤的合理顺序是_____________。
【答案】
FCBAED
12.空凋在制冷过程中,室内空气中的水蒸气接触蒸发器(铜管)液化成水,经排水管排走,空气中水分越来越少,人会感觉干燥。某空调工作一段时间后,排出液化水的体积V。已知水的密度为ρ、摩尔质量为M,阿伏加德罗常数为NA,求:
(1)该液化水中含有水分子的总数N;
(2)一个水分子的直径d。
【答案】
(1)\(\frac{{\rho V{N_A}}}{M}\)
(2)\(\sqrt[3]{{\frac{{6M}}{{\pi \rho {N_A}}}}}\)
15.已知铁的摩尔质量为5.6×10-2 kg/mol,密度为7.8×103 kg/m3,则1 g铁中含有______个铁原子,1 cm3的铁中含有_________个铁原子。(阿伏加德罗常数取6.0×1023 mol-1,结果保留两位有效数字)
【答案】
1.1×1022,8.4×1022
17.用油膜法测出油分子的直径后,要测定阿伏加德罗常数,只需知道油滴的( )
(A)摩尔质量 (B)摩尔体积 (C)体积 (D)密度
【答案】
B
18.已知某种物质的摩尔质量为μ,单位体积的质量为ρ,阿伏加德罗常数为NA,那么这种物质单位体积中所含的分子数为( )
(A)\(\frac{{{N_A}}}{\rho }\) (B)\(\frac{{\rho {N_A}}}{\mu }\) (C)\(\frac{{{N_A}}}{\mu }\) (D)\(\frac{{{N_A}}}{{\mu \rho }}\)
【答案】
B
18.物体做匀速圆周运动的条件是( )
(A)物体有一定的初速度,且受到一个始终和初速度垂直的恒力作用
(B)物体有一定的初速度,且受到一个大小不变,方向变化的力的作用
(C)物体有一定的初速度,且受到一个方向始终指向圆心的力的作用
(D)物体有一定的初速度,且受到一个大小不变,方向始终跟速度垂直的力的作用
【答案】
D
19.若已知阿伏加德罗常数、物质的摩尔质量、摩尔体积,则不可以估算( )
(A)固体物质分子的大小和质量 (B)气体分子的大小和质量
(C)液体物质分子的大小和质量 (D)气体分子的质量和分子间的平均距离
【答案】
B
20.在“用单分子油膜估测分子的大小”实验中。
(1)实验中使用到油酸酒精溶液,其中酒精溶液的作用是( )
(A)使油酸和痱子粉间形成清晰的边界轮廓 (B)对油酸溶液起到稀释作用
(C)有助于测量一滴油酸的体积 (D)有助于油酸的颜色更透明便于识别
(2)在滴入油滴之前,要先在水面上均匀撒上痱子粉,这样做的目的是___________;
(3)某同学在实验过程中,距水面约2 cm的位置将一滴油酸酒精溶液滴入水面形成油膜,实验时观察到,油膜的面积会先扩张后又收缩了一些,请简要说明油膜收缩的主要原因是_______________________。
【答案】
(1)B
(2)使油膜边界清晰,便于描绘油膜形状
(3)溶液中酒精挥发,使液面收缩
24.分子动理论的主要内容是_________________,________________,_____________________。
【答案】
物体是由大量分子组成的,分子永不停息地做无规则运动,分子之间存在相互作用力
25.有一上端开口的长玻璃管,下部是无色的水,上部是红色的酒精,放置一段时间后,整支玻璃管内的液体都变成了红色,总体积也少了些,这个现象叫做________现象,它说明了:①分子是在_____________,②分子间__________。
【答案】
扩散,做无规则运动,有空隙
26.实验表明,微粒的大小对布朗运动也有一定的影响,微粒越_____,布朗运动越显著。
【答案】
小
27.布朗运动本身不是________运动,却反映了液体内分子运动的__________。液体温度越______(选填“高”或“低”),分子热运动就越剧烈。
【答案】
分子,无规则性,高
29.下列所举事例中,不能说明分子运动的现象是( )
(A)河水的流动 (B)墨水滴入清水中缓慢散开
(C)打开酒精瓶盖就嗅到酒精的气体 (D)水中悬浮花粉的布朗运动
【答案】
A
30.关于布朗运动,下列说法正确的是( )
(A)布朗运动就是分子热运动
(B)布朗运动就是悬浮粒子的运动
(C)布朗运动就是液体分子的无规则运动
(D)布朗运动就是悬浮粒子的分子的无规则运动
【答案】
B
32.关于分子间的引力和斥力,下列说法正确的是( )
(A)水的体积很难被压缩,这是分子间存在吸引力的宏观表现
(B)气体总是很容易充满容器,这是分子问存在斥力的宏观表现
(C)用力拉小棒的两端,木棒没有断,这是分子间存在吸引力的宏观表现
(D)在马德堡半球实验中,半球很难被拉开,这是分子间存在吸引力的宏观表现
【答案】
C
34.在一定温度下,某种理想气体分子的速率分布规律是 ( )
(A)分子速率都相等,它们具有相同的动能
(B)分子速率都不相等,速率很大的和速率很小的分子数目都很少
(C)分子速率都不相等,但在不同速率范同内,分子数的分布是均匀的
(D)分子速率都不相等,每个分子具有多大的速率完全是偶然的
【答案】
BD
35.房间地面表面积为15 m2,高为3 m,空气的平均密度为1.29 kg/m3,空气的平均摩尔质量为2.9×10-2 kg/mol。求该房间内空气的质量和空气分子间的平均距离。(结果保留两位有效数字)
【答案】
58 kg,3.3×10-9 m
【解析】
房间内空气的质量m为1.29×15×3 kg=58kg;
房间中空气的总分子数n=\(\frac{m}{M}\)·NA=1.2×1027个,每个分子占据的空间体积V0=\(\frac{V}{n}\)=37.5×10-27 m3,则分子间的平均距离约为\(\sqrt[3]{{{V_0}}}\)=3.3×10-9 m.
36.坚硬的固体很难伸长,这是因为物质分子间存在着______力;我们也很难使固体压缩,这是因为物体分子间存在着______力。这两种力是同时存在的。
【答案】
引,斥
37.将下列实验事实与产生原因对应起来。事实:A.水与酒精混合后体积变小;B.糖在热水中溶解得较快。原因:a.分子间存在引力;b.分子运动的剧烈程度与温度有关;c.分子间存在空隙。它们的对应关系分别为①_______;②_______。(在横线上填上实验事实与产生原因前的符号)
【答案】
A→c,B→b
38.取两杯体积相同的清水,同时分别滴入一滴红墨水,出现如图(a)、(b)所示的情景。这个实验观察到的现象是___________;由此可以判断水的温度较高的是图______;从分子动理论的角度分析,这个实验揭示的物理规律是_____________。

【答案】
(b)中的墨水扩散得快,(b),温度越高,水分子运动越剧烈
40.布朗运动说明了( )
(A)液体分子做无规则运动
(B)悬浮微粒时刻做无规则运动
(C)液体分子与悬浮颗粒之间有相互作用力
(D)悬浮颗粒做无规则运动的激烈程度与温度无关
【答案】
A
41.在较暗的房间里,从射进来的阳光中,可以看到悬浮在空气中的微粒在不停地运动,这些微粒的运动是( )
(A)布朗运动 (B)扩散现象
(C)自由落体运动 (D)由气体对流和重力引起的运动
【答案】
D
45.
如图所示,为大量氮气分子在甲、乙两种状态下的速率分布统计规律图,则下列说法正确的是( )
(A)氮气在甲状态下的温度较高
(B)乙状态下氮气分子做无规则运动更剧烈
(C)甲状态下做无规则运动平均速率较大的氮气分子多??
(D)某时刻速率为1 000 m/s的分子在下一时刻的速率一定还是1 000 m/s
【答案】
B
46.若把1 g的水均匀地洒在地球表面,求地球表面每平方厘米的面积上水分子的个数。(R地取6 370 km)
【答案】
6.6×103 个
47.气体的三个状态参量分别是气体的_________、_______和______,只要其中任何一个状态参量发生变化,我们就说气体的状态发生了变化。
【答案】
体积,温度,压强
48.气体分子所能达到的空间范围称为气体的________,其国际单位是_______;容器壁单位面积上所受到的压力就是气体的_____,其国际单位是___________。
【答案】
体积,m3,压强,Pa(帕斯卡)
49.
气体的压强是由于组成气体的________向各个方向运动撞击器壁而产生的。对此我们可以通过如右图中小钢珠自由落下不断撞击托盘后弹出,并使磅秤上有一持续示数的实验来进行________(选填“观察”“类比”“分析”或“综合”)。
【答案】
大量分子,类比
52.下列有关气体温度的说法中,正确的是( )
(A)气体温度越高,其分子平均动能越大
(B)气体温度越高,其分子平均动能越小
(C)气体温度越高,其每个分子运动速度越大
(D)热力学温标中表示的温度叫做热力学温度,其国际单位是开尔文
【答案】
AD
53.对于一定质量的封闭气体,在等温变化中,下列物理量一定不会发生变化的是( )
(A)气体的密度
(B)气体的压强
(C)气体分子的总数
(D)单位体积内的分子总数
【答案】
C
54.
如图,若大气压是 1 标准大气压(相当于 76 cmHg),则管内被封闭气体的压强为( )
(A)50 cmHg (B)46 cmHg (C)30 cmHg (D)26 cmHg
【答案】
D
57.将一瓶气体从室内拿到室外置于阳光下,则瓶内气体的温度将会______(选填“升高”或“降低”),气体的状态______(选填“会”或“不会”)发生变化。
【答案】
升高,会
58.用托里拆利管测大气压强时,若管内混入了少量空气,则测得的大气压值将偏______(选填“高”或“低”);若不慎将管顶打破,则管中的水银面将___________________。
【答案】
低,下降到与水银槽中的水银面相平
59.
如图(a)用质量为m、面积为S的活塞将部分空气密封在汽缸内,此时汽缸内气体的压强为_________;如果再用力F将活塞下压如图(b)所示,则缸内气体的压强为_______。(已知大气压强为p0)
【答案】
p0+\(\frac{{mg}}{S}\),p0+\(\frac{{mg + F}}{S}\)
61.气体对器壁有压强是因为( )
(A)单个分子对器壁碰撞产生压力 (B)几个分子对器壁碰撞产生压力
(C)大量分子对器壁碰撞产生压力 (D)以上说法都不对
【答案】
C
62.下列叙述正确的是( )
(A)气体的温度取决于气体分子的速率
(B)气体的压强是由于气体自身的重力引起的
(C)气体的体积就是组成气体的所有分子体积的总和
(D)气体的压强在数值上等于作用在单位面积容器壁上的压力
【答案】
D
67.
如图所示,一段长为12 cm的水银柱,p0为一个标准大气压强。在均匀玻璃管中封闭了一定质量的气体。若将玻璃管管口向上放置在一个倾角为30°的光滑斜面上,在下滑过程中被封闭气体的压强为多大?
【答案】
76 cmHg
68.玻意耳定律的内容:一定质量的气体在温度不变时,它的压强与体积成_______,用公式表示为_________或________。
【答案】
反比,\(\frac{{{p_1}}}{{{p_2}}}\)=\(\frac{{{V_2}}}{{{V_1}}}\),p1V1=p2V2
69.温度不变时,在直角坐标系中,纵轴表示压强p,横轴表示体积V,则p与V的函数图像是一条________,这种表示等温过程的p-V图像叫做______线;若纵轴表示压强p,横轴表示体积的倒数\(\frac{1}{V}\),则p与\(\frac{1}{V}\)的函数图像是一条_________。
【答案】
双曲线,等温,直线
70.汽缸内用活塞封闭着一定质量的理想气体,已知该气体的压强为p,体积为V,用手缓缓地将活塞往下压,使其体积变为原来的\(\frac{1}{3}\),则此时汽缸内气体的压强为_________。整个过程中温度不变)
【答案】
3p
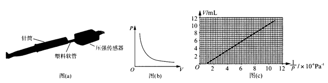
72.下列有关玻意耳定律的说法中,正确的是( )
(A)该定律适用于任何气体的等温变化
(B)该定律用p-V图像来表示时,其图像是一条双曲线
(C)该定律只适用于一定质量气体在常温常压下的等温变化
(D)在p-V图中,离原点越远的等温线,其图像所表示的气体的温度越高
【答案】
BCD
73.将一定质量的理想气体在其温度不变的情况下,当气体压强增大时,下列有关该气体的密度的说法中,正确的是( )
(A)该气体的密度减小 (B)该气体的密度增大
(C)该气体的密度保持不变 (D)不能确定该气体密度的变化情况
【答案】
B
74.
如图所示,是一定质量的理想气体的等温线,A、B 为图像上的两点,则 A、B 两点所表示的状态参量 pA、VA、tA和 pB、VB、tB 的关系正确的是( )
(A)pA > pB (B)VA > VB
(C)tA > tB (D)pAVA = pBVB
【答案】
AD
76.
如图所示,在做“用DIS研究温度不变时,一定质量的气体压强与体积的关系”实验时,得到一组压强p与体积V的数据,并计算出p、V的乘积,如下表所示:
|
实验次数 |
压强p/Pa |
体积V/m3 |
pV值/Pa·m |
|
1 |
1.59×105 |
0.75×10-5 |
1.19 |
|
2 |
1.20×105 |
1.00×10-5 |
1.20 |
|
3 |
0.97×105 |
1.25×10-5 |
1.21 |
|
4 |
0.75×105 |
1.60×10-5 |
1.20 |
|
5 |
0.60×105 |
2.0×10-5 |
1.20 |
(1)A是______传感器,所研究的对象是注射器中被封闭的空气,它的体积可由________直接读出。
(2)实验时要保持气体的温度和气体的________不变,实验数据表明,在实验允许的误差范围内,气体的压强p与体积V成__________;
(3)利用表格中记录的p、V数据在如图所示的p-V图中,将数据点连接成一根光滑的p-V图像;
(4)若保持纵轴p不变,横轴改为_________,则得到的实验图像为一条过原点的直线。
【答案】
(1)压强,注射器刻度
(2)质量,反比
(3)

(4)\(\frac{1}{V}\)
77.一个气泡从水底升到水面,它的体积增大为原来的2倍,设水的密度ρ=1.0×103 kg/m3,大气压强p0=1.01×105 Pa,水底到水面的温度差不计。求水的深度。
【答案】
10.1 m
78.
大气压强为一个标准大气压,粗细均匀玻璃管开口向上长60 cm,管中有14 cm长的水银柱将一段30 cm长的空气柱封闭住,现将玻璃管缓慢转动至水平位置,求水平时空气柱的长度l2,并讨论水银有无溢出。
【答案】
l2=35.5 cm,水银未溢出
79.气体压强和体积的关系:在温度不变时,一定质量的气体,体积减小时,压强_______,体积增大时,压强_______。
【答案】
增大,减小
82.长为100 cm内径均匀的细玻璃管,内有长为20 cm的水银柱,一端封闭一端开口,当开口端向上时空气柱的长度为49 cm.已知大气压强为76 cmHg,则当开口端向下时管内被封闭的空气柱长为______cm。
【答案】
81.6
84.
如图所示,A、B为一定质量气体的两条等温线,则下列关系式正确的是( )
(A)TA<TB (B)TA=TB (C)TA>TB (D)条件不足,无法判断
【答案】
A
86.某种理想气体的初始压强p1=5p0,保持该气体的温度不变,使它的压强增大了3p0,此时它的体积变化了3 L,则该气体的初始体积为( )
(A)2 L (B)4 L (C)6 L (D)8 L
【答案】
D
87.如图1所示,在“用DIS研究温度不变时,一定质量的气体压强与体积的关系”实验中:


(1)为了保持封闭气体的质量不变,实验中采取的主要措施是________;
(2)为了保持封闭气体的温度不变,实验中采取的主要措施是___________和____________。
(3)图2是甲、乙两同学在相同环境中得到的p-\(\frac{1}{V}\)图像,若两人实验时均操作无误且选取的坐标标度相同,那么两曲线斜率不同的主要原因是________。
【答案】
(1)在注射器活塞上涂润滑油,这样可以保持气密性
(2)移动活塞要缓慢,不能用手握住注射器封闭气体部分
(3)气体质量不同
88.
如图所示,活塞A可在汽缸内无摩擦自由滑动,但不漏气,活塞质量不计,横截面积为2 cm2,当活塞静止不动时,活塞距汽缸底部10 cm,现用4 N的恒力竖直向上拉活塞,活塞向上移动2.5 cm后静止。设温度不变,求原来封住汽缸内的气体压强。
【答案】
1.0×105 Pa
89.一端开口的粗细均匀的长直玻璃管长为100 cm,保持周围的环境温度不变,将此玻璃管开口朝下竖直插入水银槽中50 cm后保持静止。若大气压强为75 cmHg,求进入玻璃管内的水银柱的高度。
【答案】
25 cm
90.气体在体积不变的情况下发生的状态变化过程叫做______过程。
【答案】
等容
91.一定质量的气体在_______不变时,它的压强与热力学温度成正比,这就是______定律。用公式表示为__________。
【答案】
体积,查理,\(\frac{{{p_1}}}{{{T_1}}}\)=\(\frac{{{p_2}}}{{{T_2}}}\)
92.英国科学家开尔文把______℃作为零度,创立了一个新的温标,叫做______温标,用热力学温标表示的温度叫做热力学温度,用符号______表示,它的单位是_______,简称开,国际单值符号是________。
【答案】
-273,热力学,T,开尔文,K
93.人的正常体温为_______℃,用热力学温标表示为_______K;目前,我国已制成了转变温度为215 K的超导体,则215 K=_______℃。
【答案】
37,310,-58
94.从分子动理论来看,当气体的温度增加时,气体分子的_______增加,撞击速度也加大,由于气体体积不变,单位时间撞击容器壁的_______会增加,平均撞击器壁的_____也会增大,因此气体的压强就会变大。
【答案】
平均速率,分子数,作用力
95.下列有关摄氏温度和热力学温度的判断正确的是( )
(A)100℃比100K的温度低 (B)-100℃比54K的温度低
(C)-273℃比5K的温度高 (D)升高1℃和升高1K的温差相同
【答案】
D
96.将一定质量的气体密封在容积不变的容器内,现使气体的温度降低,则下列判断正确的是( )
(A)压强不变,密度变小 (B)压强不变,密度不变
(C)压强变小,密度变小 (D)压强变小,密度不变
【答案】
D
97.保持一定质量的某种气体的体积不变,若将其热力学温度降低到原来的一半,则其压强将( )
(A)升高到原来的2倍 (B)升高到原来的4倍
(C)降低到原来的\(\frac{1}{2}\) (D)降低到原来的\(\frac{1}{4}\)
【答案】
C
100.某容器内有一定质量的理想气体,其压强为20p0,温度为23℃。若将气体的温度升高60℃,求气体的压强。(结果用p0表示)
【答案】
24p0
102.物理学上将______℃叫做绝对零度。事实上,所有气体都达不到绝对零度,原因是___________________________________。
【答案】
-273,任何气体在达到绝对零度以前就已经液化了
104.一容积为32 L的氧气瓶,在-3℃时瓶中氧气的压强为27个大气压,若氧气的温度上升到27℃时,则瓶中氧气的压强为_______个大气压。
【答案】
30
105.
由查理定律可知,一定质量的理想气体在体积不变时,它的压强随温度变化的关系如图中实线表示。将这个结论进行合理推理,便可得出图中t0=_________℃;若温度能降低到t0,则气体的压强将减小到_______Pa。
【答案】
-273,0
107.在一个密封的钢瓶内充有一定质量的氧气,当7℃时,瓶内氧气的压强为2个大气压;当压强增大到2.2大气压时,氧气的温度为( )
(A)35 K (B)70 K (C)35℃ (D)70℃
【答案】
C
108.一定质量的气体密封在一容器中,温度从117℃降到-13℃,它的压强是原来的( )
(A)4倍 (B)2倍 (C)\(\frac{3}{2}\)倍 (D)\(\frac{2}{3}\)
【答案】
D
109.在一个密闭容器内装有一定质量的气体,其温度由227℃升高到了232℃。设气体的初始压强为p,则气体的压强增加了( )
(A)0.1%p (B)0.2%p (C)1%p (D)2%p
【答案】
C
110.
如图(a)所示,为验证查理定律的DIS实验装置,其基本原理是对一定质量的气体,当体积不变时,压强与_______成正比。所用到的传感器有_______传感器和______传感器。若在实验操作使水温升高的过程中没有做好密封的措施,则可能出现图(b)中的图线______(选填“1”、“2”或“3”)。

【答案】
热力学温度,压强,温度,3
111.一只氧气瓶能承受的最大压强为1.0×106 Pa,若给它充满0℃、9.0×105 Pa的氧气后,能否将它置于40℃的环境中?
【答案】
不能
112.
如图所示,为一定质量的某种理想气体的p-t图像,它在A、B、C三个状态时的体积分别为VA、VB、VC,由图可知VA_______VC,VB______VC。(均选填“>”“=”或“<”)
【答案】
<,=
114.在密闭的容器中,当其内部的气体被加热,温度升高1 K,其压强比原来增加0.25%,则原来容器中气体的温度是______℃。
【答案】
127
116.下列实例中,属于查理定律在生活生产中实际应用的是( )
(A)吹气球 (B)拔火罐 (C)用吸管喝饮料 (D)液压千斤顶
【答案】
B
119.下列p-V和p-T图中,能正确描述一定质量理想气体等容变化规律的是( )

【答案】
B
120.上端开口竖直放置的玻璃管,管中有一段长15 cm的水银柱将一些空气封闭在管中,如图所示,此时气体的温度为27℃。当温度升高到30℃时,为了使气体体积不变,需要再注入多少厘米长的水银?(已知大气压强为75 cmHg)
【答案】
0.9 cm
121.将一只盛满了沸水的暖瓶里的水全部倒出,盖紧瓶寨(不漏气),这时瓶内空气温度为90℃。一段时间后,温度降低为50℃(不考虑瓶内残留水份及水蒸气的影响)。设大气压强p0=1.0×105 Pa。
(1)求此时瓶内的压强;
(2)设热水瓶口的横截面积为10 cm2,瓶塞与热水瓶间的最大静摩擦力大小为f=7 N。问至少要用多大的力才能将瓶塞拔出?
【答案】
(1)8.9×104 Pa
(2)18 N
【解析】
(1)由题意得p0=1.0×105 Pa,T0=363 K,T1=323 K,根据查理定律,有\(\frac{{{p_0}}}{{{T_0}}}\)=\(\frac{{{p_1}}}{{{T_1}}}\),代入数据,解得p1=8.9×104 Pa。
(2)瓶塞内外压强差为Δp=1.1×104 Pa。ΔF=ΔpS=11 N,设至少用力F才能将瓶塞拔出,则根据力的平衡:F=ΔF+f,解得F=18 N
122.若钢筒里的气体的温度从27℃升高到227℃,则气体的压强将增大为原来的_____倍。
【答案】
\(\frac{5}{3}\)
124.实验室有一个氧气瓶,冬天时测得室温为10℃;到了夏天,发现氧气瓶上的压力阀显示瓶内气体压强相比冬天时增加了10.2%,则此时的温度约为______℃。
【答案】
39
126.
如图所示,直线ABD为一定质量的气体的等容线,气体由B到D过程是等容升温过程,则D点的温度为_______℃。若气体在D状态后做等温膨胀,体积膨胀一倍至E状态,请在图中画出DF这一过程的图线。
【答案】
473,图略
129.一定质量的气体在体积不变的情况下,温度由50℃升高到了100℃,则下列说法正确的是( )
(A)气体压强变为原来的两倍 (B)气体压强是原来的\(\frac{{373}}{{323}}\)倍
(C)气体压强比原来增加了\(\frac{{50}}{{273}}\) (D)温度每升高1℃,压强增加为原来的\(\frac{{1}}{{273}}\)
【答案】
B
130.一定质量的理想气体,在体积不变的情况下改变温度,则当气体增加的压强等于它在0℃时的压强时,气体增加的温度为( )
(A)273 K (B)280 K (C)273℃ (D)280℃
【答案】
AC
131.
如图所示,为一定质量的气体的实验图线,则下列说法正确的是( )
(A)AB的延长线与横轴的交点C表示-273K
(B)图线AB的斜率为\(\frac{{p_0}}{{273}}\),p0为大气压强
(C)图线AB与纵轴的交点B表示0℃时的压强
(D)绝对温度为0 K时的压强为p0,p0为大气压强
【答案】
C
132.家用高压锅正常使用时,当锅内气体压强p1=1.5×105 Pa时,锅内气温高达t1=150℃,若此时强行打开锅盖会出现什么现象?若想尽快打开锅盖可先采用什么方法?若想使锅内压强降至p0=1.0×105 Pa,设锅内气体体积和质量均不变,则锅内温度应降至多少?
【答案】
锅内东西喷出来,降温,9℃(282K)
134.一定质量的气体在压强不变时,温度升高1℃,体积的增加量等于它在0℃时体积的\(\frac{1}{273}\),这个结论叫做________,其表达式为________________,式中Vt为t℃时气体的体积,V0为0℃时气体的体积。
【答案】
盖·吕萨克定律,Vt=V0(1+\(\frac{t}{273}\))
135.盖·吕萨克定律的另一种描述:一定质量的气体在压强不变时,它的体积和热力学温度成_______,用公式表示为_______。
【答案】
正比,\(\frac{{{V_1}}}{{{T_1}}}\)=\(\frac{{{V_2}}}{{{T_2}}}\)
136.
如图所示,为一定质量的气体的等压变化图线,图线l和2与t轴的交点A是_____℃,图线1和图线2的压强分别为p1、p2,则它们的大小关系为p1______p2(选填“>”“<”或“=”)。
【答案】
-273,<
137.一定质量的气体在27℃时的体积为6×10-2 m3,保持其压强不变,将其温度升高到127℃,则体积变为______m3。
【答案】
8×10-2
138.一定质量的气体在压强不变的条件下,将气体加热,若使温度升高273℃,气体的体积变为原来的2倍,则气体的初温是________K,终温是______K。
【答案】
273,546
139.一定质量的气体,保持压强不变,使其体积增大,则( )
(A)每个气体分子的动能都增大
(B)气体分子的平均动能将增大
(C)单个气体分子碰撞容器壁的平均作用力增大
(D)单位时间内单位面积上气体分子碰撞容器壁的次数减少
【答案】
BCD
140.对一定质量的理想气体,下列说法正确的是( )
(A)等温变化时,气体的压强与体积成正比
(B)等温变化时,气体的密度与压强成正比
(C)等压变化时,气体的体积与温度成正比
(D)等压变化时,气体的密度与温度成正比
【答案】
BC
141.一定质量的某种气体,在7℃时的体积为4 L,若保持压强不变,而要使它的体积增大为5 L,则它的温度应升高至( )
(A)70℃ (B)77℃ (C)343 K (D)350 K
【答案】
BD
142.一定质量的气体,在压强不变的情况下,当温度从50℃升高到100℃时,则它的体积( )
(A)为原来的2倍 (B)为原来的\(\frac{{373}}{{323}}\)倍
(C)比原来增加了\(\frac{{50}}{{323}}\)倍 (D)比原来增加了\(\frac{{50}}{{273}}\)倍
【答案】
BC
143.对一定质量的理想气体,由状态A经状态B变为状态C,其中A→B过程为等压变化,B→C过程为等容变化。已知pA=p0、VA=0.3 m3,TA=300K,TB=300 K,TC=400 K。求:
(1)气体在状态B时的体积;
(2)气体在状态C时的压强。
【答案】
(1)0.4 m3
(2)\(\frac{{3}}{{4}}\)p0
145.对于一定质量的理想气体,保持其压强不变,当气体的温度变化到_________℃时,才能使它的体积变为在273℃时的体积的一半。
【答案】
0
147.一定质量的空气,在27℃时的体积为100 cm3,若压强不变,则当它的体积增大到120 cm3时,该气体的温度为_______℃。
【答案】
87
149.
如图所示,汽缸中封闭着温度为100℃的空气,一重物用绳索经滑轮跟缸中活塞相连接,重物和活塞都处于平衡状态,这时活塞离汽缸底的高度为10 cm,若缸内空气的温度降低为0℃,则重物将上升_______cm。
【答案】
2.68
150.下列四个图像中,能正确表示盖·吕萨克定律的V-t或V-T图像的是( )

【答案】
BC
156.理想气体是指______________________________的气体,而实际气体在_______和________时可作为理想气体处理。
【答案】
在任何温度和压强下都严格遵守气体实验定律,温度小太低压强不太大
157.一定质量的某种理想气体在从状态1变化到另一个状态2时,尽管其p、T、V都可能改变,但是压强跟体积的乘积与热力学温度的比值________,这就是理想气体的状态方程的内容,用公式表示为___________或___________。
【答案】
不变,\(\frac{{pV}}{T}\)=C,\(\frac{{{p_1}{V_1}}}{{{T_1}}}\)=\(\frac{{{p_1}{V_1}}}{{{T_1}}}\)
158.
如图所示,为一定质量理想气体的p-T图,其中A、B、C三点表示气体所处的三个不同的状态。在这三个状态中,体积最大的状态是_______,体积最小的状态是______。
【答案】
C,A
159.一定质量的某种理想气体的压强为p0、温度为27℃、体积为10 L,若将该气体的体积压缩为原来的\(\frac{1}{3}\),并使其压强变为原来的5倍,则该气体的最后温度为_______℃。
【答案】
227
160.
如图,为粗细均匀、一端封闭一端开口的U形玻璃管。当t1=31℃,大气压强p0=1 atm时,两管水银面相平,这时左管被封闭气柱长l=8 cm。当温度t2=______℃时,左管气柱长为9 cm。
【答案】
78
161.下列说法正确的是( )
(A)玻意耳定律对任何压强都适用
(B)盖·吕萨克定律对任意温度都适用
(C)常温、常压下的各种气体,可以当做理想气体
(D)一定质量的气体,在压强不变的情况下,它的体积跟温度成反比
【答案】
C
162.下列几种气体变化的过程,可能发生的是( )
(A)气体的温度变化,但压强、体积保持不变
(B)气体的温度、压强、体积都发生变化
(C)气体的温度、压强保持不变,而体积发生变化
(D)气体的温度保持不变,而压强、体积发生变化
【答案】
BD
164.对于一定质量的理想气体,在下列几种状态变化中,能使气体的压强回到初始状态的压强的是( )
(A)先将气体等温膨胀,再将气体等容降温
(B)先将气体等温压缩,再将气体等容降温
(C)先将气体等容降温,再将气体等温膨胀
(D)先将气体等容降温,再将气体等温压缩
【答案】
BD
165.
一个两端封闭的U形管竖直放置在水平面上,内装有水银,两端水银面相平,均封有压强p0=75 cm Hg、长L1=12 cm的空气柱,室温t1=27℃。现将右管空气柱加热,使右管水银面下降高度h=2 cm。求右管空气柱的最后温度。
【答案】
166℃
166.一定质量的理想气体在27℃时的压强为1 atm,体积为1.5 L,现将气体温度升高到127℃,其压强增大为2 atm,则此时气体的体积为______L。
【答案】
1
168.一个气泡从45 m深的湖底浮向水面,在气泡上升的过程中,气泡内的压强将会______(选填“减小”“增大”或“不变”);若湖底的水温为4℃,水面温度为20℃,则气泡在升到水面时的体积是在湖底时的体积的_____倍。(水的密度为103 kg/m3,g取10 m/s2.大气压强取1.0×105 Pa)
【答案】
减小,5.8
170.对于一定质量的理想气体,下列几种气体状态的变化中,可能发生的是( )
(A)升高温度时,压强减小,体积减小 (B)升高温度时,压强增大,体积减小
(C)降低温度时,压强减小,体积增大 (D)降低温度时,压强增大,体积增大
【答案】
BC
175.
一定质量的理想气体,其状态变化如图中箭头所示顺序进行,则AB段是_____过程,遵守________定律,BC段是________过程,遵守_______定律,若CA段是以纵轴和横轴为渐近线的双曲线的一部分,则CA段是________过程,遵守_________定律。
【答案】
等容,查理,等压,盖·吕萨克,等温,玻意耳
178.
一定质量的理想气体经历了如图所示的A→B→C的三个变化过程,则通过图像可以判断A、B、C三个状态时,气体的体积VA、VB、VC的大小关系是________。设A状态体积为150 mL,则C状态的体积为_____mL。
【答案】
VA=VB>VC,100
182.
一定质量的理想气体由状态A经过状态B变为状态C,其有关数据如图(a)所示。若气体在状态A的温度tA=-73℃,在状态C的体积VC=0.6 m3。求:
(1)根据图像提供的信息,计算图中VA的值;
(2)在图(b)坐标系中,作出由状态A经过状态B变为状态C的V-T图像,并在图线相应位置上标出字母A、B、C。
【答案】
(1)0.4 m3
(2)如图

183.
如图所示,一定质量的理想气体,沿状态A→B→C变化,则温度最高的是______状态,密度最大的是_____状态。(均选填“A”“B”或“C”)
【答案】
B,A
191.
人们把储存在高压容器中的气体称为_______气体,产生这种气体的机械叫做_______,如图所示,就是一种气体___________。
【答案】
压缩,压缩泵,压缩泵
192.获得压缩气体的两种方法是______和_________。
【答案】
减少气体的体积,升高气体的温度
193.一个刚充完气的篮球,在下午使用时的弹性比在上午使用时的弹性_______(选填“强”“弱”或“相同”),其原因主要是__________________________________。
【答案】
强,下午时的气温较高,使气体的压强增大
196.在某排球比赛中,若二传手用双手对排球做技术动作时,球内气体的质量和温度都保持不变,体积突然减小,则对于排球内的气体,下列说法正确的是( )
(A)密度和压强都变小 (B)密度和压强都变大
(C)密度变大,压强变小 (D)密度变小,压强变大
【答案】
B
197.一定质量的气体,温度由-13℃升高到117℃,若保持体积不变,它的压强的增加量是原来压强的( )
(A)0.5倍 (B)\(\frac{2}{3}\)倍 (C)\(\frac{3}{2}\)倍 (D)2倍
【答案】
A
198.
如图所示,在扁平塑料瓶靠近底部的四面,用针对称地刺四个小孔,灌入大半瓶水盖紧瓶盖,从不同方向挤压瓶体,观察所发生的现象。从本实验可得出结论:一定质量的气体,保持_________不变并减少它的___________,就可以获得________气体。
【答案】
温度,体积,压缩
199.压缩气体在日常生活中有许多应用,请举出几种与压缩气体的应用有关的用品。
【答案】
略
200.请同学们想一想,家用液化气钢瓶内的燃气会用完吗?请简要解释其原因。
【答案】
不会的。其原因是储存在钢瓶里的燃气的压强远大于外界大气压时,打开阀门后,燃气就会向外流出,同时瓶内燃气压强降低;当瓶内燃气压强降到跟外界大气压相等时,达到平衡状念,燃气就不再流出,此时瓶内仍留有跟外界大气压相同压强的一定质量的燃气。
201.婴儿在用奶嘴喝完一整瓶奶的过程中,用力应该越来越________(选填“大”或“小”),原因是_______________________________________________________,因此应该适时拔出奶嘴使奶瓶内气体的压强增大。若都是在里面气压相等的情况下将奶嘴拔出来,则相邻两次拔出的时间间隔应该越_________(选填“长”或“短”)。
【答案】
大,瓶内气体温度不变,体积变大,压强减小,内外压强差增大,需要用更大的力,长
202.一容积为200 L的汽车内胎,当温度为7℃时胎内气体的压强为5.8×105 Pa,在炎炎夏日经日晒后,温度升高到37℃时,气体的压强为________Pa。(内胎的容积变化忽略不计)
【答案】
6.42×105
203.若马德堡半球内部没有完全抽成真空,在室温27℃下,容器外部的压强是其内部压强的2倍。通过加热马德堡半球的方法可以使半球不用拉而自然分开,则需加热到_________℃。
【答案】
327
207.
如图所示,将汽缸用弹簧测力计倒挂在天花板上,汽缸内用活塞封闭着一定质量的气体。活塞与汽缸间的摩擦不计,则当温度发生变化时,下列说法正确的是( )
(A)温度降低时,示数变小
(B)温度升高时,示数变大
(C)无论温度升高还是降低,示数始终不变
(D)条件不足,无法判断
【答案】
C
208.
玻璃烧瓶口上塞紧带玻璃管的橡皮塞,玻璃管上橡皮管的一端连接着指针式金属压强计。加热烧瓶中的气体,观察压强计示数的变化。从本实验可得出结论:一定质量的气体,保持_________不变并________温度,就可以获得__________气体。
【答案】
体积,升高,压缩
211.下列关于温度的说法中,正确的是( )
(A)某物体温度升高了200 K,也就是升高了200℃
(B)某物体温度升高了200℃,也就是升高了473 K
(C)-200℃比-250℃温度低
(D)200℃和200 K的温度相同
【答案】
A
212.下列有关气体的状态参量的说法中,正确的是( )
(A)气体体积等于各个分子的体积之和
(B)某种气体温度越高,分子的平均速率越小
(C)由于气体也有重力,所以气体对下壁的压强大于对上壁的压强
(D)一定质量的气体,体积不变时,分子平均速率越大,气体压强越大
【答案】
D
214.一定质量的理想气体,在体积不变的情况下,温度从5℃升到10℃的压强增量为Δp1,温度从15℃升到20℃的压强增量为Δp2,则( )
(A)Δp1=Δp2 (B)Δp1<Δp2
(C)Δp1>Δp2 (D)无法比较大小
【答案】
A
215.
如图所示,为一定质量的理想气体状态变化的p-T图。气体在a、b、c三个状态的密度分别为ρa、ρb、ρc,则( )
(A)ρa>ρb>ρc (B)ρa>ρb=ρc
(C)ρa<ρb=ρc (D)ρa=ρb=ρc
【答案】
B
216.下列有关分子动理论的说法中,正确的是( )
(A)物质是由大量分子组成的 (B)分子永不停息地做无规则运动
(C)分子间有相互作用的引力和斥力 (D)分子动理论是在一定实验基础上提出的
【答案】
ABCD
217.下列有关布朗运动的说法中,正确的是( )
(A)布朗运动是液体分子的扩散现象
(B)布朗运动永不停止,且温度越高其运动越剧烈
(C)悬浮在液体中的颗粒越小,它的布朗运动就越显著
(D)布朗运动既不是同体分子的运动,也不是液体分子的运动,而是液体分子运动的反映
【答案】
BCD
219.对于一定质量的理想气体,在某状态下的压强、体积和温度分别为p1、V1、T1,在另一状态下的压强、体积和温度分别为p2、V2、T2,则下列判断正确的是( )
(A)若V1=V2,则p1T1=p2T2 (B)若V1=V2,则\(\frac{{{p_1}}}{{{T_1}}}\)=\(\frac{{{p_2}}}{{{T_2}}}\)
(C)若T1=T2,则p1V1=p2V2 (D)若T1=T2,则\(\frac{{{p_1}}}{{{V_1}}}\)=\(\frac{{{p_2}}}{{{V_2}}}\)
【答案】
BC
220.对一定质量的气体,若它的温度和体积都不变,则压强一定_______(选填“不变”或“变化”);若它的温度发生了变化,则它的压强或体积至少有______个量发生变化。
【答案】
不变,一
223.一定质量的气体,在温度不变的情况下,体积变为原来的\(\frac{1}{2}\),则气体的压强变为原来的______倍,气体的密度变为原来的______倍。
【答案】
2,2
224.
如图所示,总质量为M的汽缸放在地面上,活塞连同手柄的质量为m,活塞的截面积为S,大气压强为p0,气体温度为T0,汽缸内气体的长度为L。当汽缸竖直放置时,汽缸内气体的压强为________;现给气体加热(活塞不会离开汽缸,活塞与汽缸的摩擦不计)。当汽缸内气体的长度变为2L时,汽缸内气体的温度为__________。
【答案】
p0+\(\frac{{mg}}{S}\),2T0
226.(1)油膜法测定分子的大小的实验中,为了使测量结果具有较高的准确度,实验中最关键的是( )
(A)一滴油酸酒精溶液的体积必须准确测量
(B)散在水面上的油膜的面积必须准确测量
(C)散在水面上的油膜应尽量散开,形成单分子油膜
(D)散在水面上的油膜应尽量聚拢,以便准确测量其面积
(2)体积为1×103 cm3的一滴油在水面上形成面积为0.04 m2的油膜。由此估算出油分子直径为_______cm。
【答案】
(1)C
(2)2.5×10-8
227.在“用DIS研究温度不变时,一定质量的气体压强与体积的关系”中,一小组的同学测得一组实验数据如下:
|
次数 |
1 |
2 |
3 |
4 |
5 |
6 |
|
p / kPa |
101.3 |
111.2 |
123.5 |
138.7 |
158.3 |
184.3 |
|
V / mL |
10 |
9 |
8 |
7 |
6 |
5 |

(1)图(a)为实验器件,实验中气体的压强可以通过压强传感器测量,气体的体积则通过____________获得;
(2)利用DIS实验软件上提供的数据处理功能,上述数据生成的p-V图像如图(b)所示,其中的曲线称为“等温线”。接着该组同学保持密闭的气体质量不变,又用热毛巾包着注射器进行了第二次实验,若将第二次测量的数据仍画在图(b)中,请你在图中画出第二次实验的等温线;
(3)为了验证“一定质量的气体在温度保持不变时,其压强与体积成反比”假设,该组同学利用上述数据作V-\(\frac{1}{p}\)图像,如图(c)所示,发现图线没通过原点,与横坐标有一段截距,请分析误差的原因是________________________。
【答案】
(1)读针筒上的刻度
(2)略
(3)气体体积漏计入塑料软管部分的体积
229.
在一根一端封闭且粗细均匀的长玻璃管中,用一段长10 cm的水银柱将管内一部分空气密封。如图(a)所示,当管开口向上竖直放置时,管内空气柱的长度L1为0.3 m;如图(b)所示,若将玻璃管开口向下竖直放置,水银没有溢出,待水银柱稳定后,空气柱的长度L2是多少?(已知大气压为76 cmHg.并保持不变;室温保持不变)
【答案】
0.39 m
234.下列说法正确的是( )
(A)用手捏面包,面包体积会缩小,这是因为为分子间有间隙
(B)打开酒瓶后可嗅到酒的气味,说明分子在做无规则运动
(C)将碳素墨水滴入清水中,观察到的布朗运动,是碳分子无规则运动的反映
(D)因为空气分子间存在斥力,所以用打气筒给自行车打气时,要用力才能压缩空气
【答案】
B
235.下列有关分子的数量的说法中,正确的是( )
(A)1 g的氢气和1g的氦气含有相同的分子数
(B)体积相等的固体和液体相比较,固体中的分子数多
(C)无论什么物质,只要它们的摩尔数相同就含有相同的分子数
(D)无论什么物质,只要它们的体积相同就含有相同的分子数
【答案】
C
236.
如图所示,一根足够长的均匀玻璃管开口向下竖直,用一段水银封闭着一定质量的理想气体,能使管内水银柱逐渐沿管壁向管口移动的是( )
(A)外界大气压增大,温度不变
(B)外界大气压不变,温度升高
(C)温度不变、大气压不变时将管子逐渐转到水平位置
(D)外界大气压不变,管子匀速向下运动
【答案】
B
237.
一定质量的理想气体,在三次加热升温的过程中,其压强与温度的关系如图所示,由图像可知( )
(A)在由状态A变到状态D的过程中,气体的体积减小
(B)在由状态B变到状态D的过程中,气体的密度减小
(C)在由状态C变到状态D的过程中,气体的密度不变
(D)在由状态A变成状态D的过程中,气体的体积增大
【答案】
D
239.若设某种气体摩尔质量为M,每摩尔任何气体在标准状态的体积均为V0。阿伏加德罗常数为NA,则下列说法正确的是( )
(A)每个气体分子的体积为\(\frac{{{V_0}}}{{{N_A}}}\)
(B)每个气体分子的质量为\(\frac{M}{{{N_A}}}\)
(C)此气体在标准状态下的密度为\(\frac{M}{{{V_0}}}\)
(D)此气体在标准状态下的分子数密度为\(\frac{{{N_A}}}{{{V_0}}}\)
【答案】
BCD
240.
右端封闭的U形玻璃管内封闭有A、B两段被水银柱封闭的空气柱,各段水银柱的高度如图所示。若大气压强为p0,空气柱A、B的压强为pA、pB,则下列关系式正确的是( )
(A)pA=p0+ρgh1 (B)pB+ρgh3=pA+ρgh2
(C)pB+ρgh3=p0+ρgh1+ρgh2 (D)pB+ρgh3=p0+ρgh1+pA+ρgh2
【答案】
AB
242.对于体积变化导致压强变化的现象,从分子动理论的角度分析可得,当一定量气体的体积减小时,单位时间内撞击单位面积的_______增加,从而导致单位面积上受到的______增大,这样气体的压强就会变大。
【答案】
次数,压力
243.水和酒精混合后体积缩小的现象,说明_______________________________;布朗运动说明__________________;两块铅块压紧以后能连成一体,说明__________________;固体和液体很难被压缩,说明_____________________________。
【答案】
液体分子间有间隙,液体分子在做无规则运动,分子间有引力,分子间有斥力
244.1 g 氢气中含有氢分子的个数是__________,在标准状况下它的体积是_________m3。
【答案】
3.01×1023,1.12×10-2
247.
如图所示,A容器中气体压强为p1,体积为V1,B容器中气体压强为p2,体积为V2。A、B容器中气体温度相同。若将销钉拔去,让活塞自由无摩擦滑动(温度不变),当活塞稳定后,两容器中气体的压强为___________,若此时再让两边气体同时升高相同的温度,则活塞将_________移动(选填“向左”“向右”或“不”)。
【答案】
\(\frac{{{p_1}{V_2} + {p_2}{V_2}}}{{{V_1} + {V_2}}}\),不
247.有一个容积为0.2 m3的氧气瓶,里面装有氧气,当它的温度为-3℃时,瓶内氧气的压强为5 atm,已知氧气的的摩尔质量为32 g/mol,则氧气的质量为______g。当运输到温度为27℃的医院放置一段时间后,瓶内氧气的压强为________atm。
【答案】
1444.4,5.56
248.
在“用油膜法估测分子大小”的实验中所用的油酸酒精溶液的浓度为1 000mL溶液中有纯油酸0.6 mL,用注射器测得1 mL上述溶液为80滴,把1滴该溶液滴入盛水的浅盘内,让油膜在水面上尽可能散开,测得油酸薄膜的轮廓形状和尺寸如图所示,图中正方形方格的边长为1 cm,试求:
(1)油酸膜的面积是________cm2;
(2)实验测出油酸分子的直径是_________m(结果保留两位有效数字);
(3)实验中要让油膜尽可能散开的目的是__________________________。
【答案】
(1)110
(2)6.8×10-10
(2)为了让油膜在水面上形成单分子油膜
251.一根两端开口、粗细均匀的细玻璃管,长L=30 cm,竖直插入水银槽中深h0=10 cm处,用手指按住上端,轻轻提出水银槽,并缓缓倒转,求此时管内封闭的空气柱。(大气压p0=75 cmHg)
【答案】
18.1 cm
253.
如图所示,一个质量为M的汽缸,被一质量为m密封良好的无摩擦的长柄带底座的活塞封闭了部分气体,汽缸内横截面积为S,设外界大气压强为p0,温度始终不变,汽缸与活塞底座无接触。
(1)如图(a)所示,把汽缸吊起,平衡时活塞距汽缸底为h,此时缸内气体的压强p1为多少?
(2)如图(b)所示,放开吊绳,让整个装置以活塞底座放在水平地面上,平衡时,活塞距汽缸底的距离h′为多少?
【答案】
(1)p0-\(\frac{{mg}}{S}\)
(2)\(\frac{{{p_0}S - mg}}{{{p_0}S + Mg}}\)h
2006 - 2026,推荐分辨率 1024*768 以上,推荐浏览器 Chrome、Edge 等现代浏览器,截止 2021 年 12 月 5 日的访问次数:1872 万 9823。 站长邮箱
