1.国际单位制中,磁通量的单位为( )
(A)T (B)Wb (C)N (D)C
【答案】
B
2.阴极射线的本质是( )
(A)α粒子 (B)β粒子 (C)核外电子 (D)核内电子
【答案】
C
【解析】
汤姆孙通过对阴极射线的研究发现了电子,阴极射线的本质是核外电子,通过这个实验说明了原子是有内部结构的,电子是原子的组成部分。
正确选项为C。
3.牛顿认为作用力与反作用力大小相等。此论断( )
(A)只在物体处于静止状态时适用
(B)只在物体做匀速直线运动时适用
(C)只在物体做匀加速直线运动时适用
(D)宏观的物体处于低速状态时都适用
【答案】
D
4.在α粒子散射实验中,使α粒子发生大角度偏转的物质被卢瑟福命名为( )
(A)原子核 (B)电子 (C)中子 (D)质子
【答案】
A
【解析】
α粒子和原子核都带正电,之间存在静电斥力,这个力使α粒子发生大角度偏转。
正确选项为A。
5.α、β和γ三种射线在真空中运动时,其速度大小分别为v1、v2和v3,则( )
(A)v1最大 (B)v2最大 (C)v3最大 (D)v1=v2=v3
【答案】
C
【解析】
γ射线是电磁波,在真空中的速度为光速,而其他两种射线都是实物粒子,运动的速度小于光速。
正确选项为C。
6.最先证明原子核具有复杂结构的实验是( )
(A)中子的发现 (B)对阴极射线的研究
(C)α粒子散射实验 (D)天然放射性元素的发现
【答案】
D
7.一个广告牌从楼顶落下,2 s后落地,则楼高大约为( )
(A)5 m (B)10 m (C)15 m (D)20 m
【答案】
D
8.关于磁场,下列判断正确的是( )
(A)磁场是虚拟出来的模型
(B)只有磁铁的周围才存在磁场
(C)电流的周围一定存在磁场
(D)对放入磁场中的通电导线一定有力的作用
【答案】
C
【解析】
A.磁场是客观存在的实体,并不是虚拟模型;
BC.除了磁铁,在电流周围也存在磁场;
D.若通电导线与磁场平行放置,则磁场力为零。
正确选项为C。
9.某同学沿半径为R的圆形跑道跑了一圈半,该同学的位移大小为( )
(A)2R (B)πR (C)2πR (D)3πR
【答案】
A
10.电量为q的检验电荷放在场强为E的某点,该电荷受到的电场力为F。则下列说法正确的是( )
(A)若q增大,则E增大 (B)若q减小,则E增大
(C)若F增大,则E必增大 (D)q的变化不会影响E
【答案】
D
11.
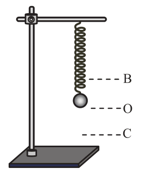
如图,小球在BC间做机械运动,O为平衡位置,则( )
(A)C点的速度最大 (B)O点的加速度最大
(C)B、C点的回复力均最大 (D)B、C点的合外力均最小
【答案】
C
12.长为L的直导线放入空间某位置不受磁场力的作用,则( )
(A)该处一定不存在磁场
(B)该导线一定没有通电
(C)导线既未通电,该处也无磁场
(D)导线既可能通电,该处也可能存在磁场
【答案】
D
13.一物体由静止开始做匀加速直线运动,经过时间t的速度为v,则物体的位移为( )
(A)vt (B)\(\frac{{vt}}{2}\) (C)\(\frac{{{v^2}}}{{2t}}\) (D)\(\frac{{{v^2}t}}{2}\)
【答案】
B
14.
如图为某纯电阻电器的铭牌,则其正常工作时的电阻为( )
(A)0.8 Ω (B)1.25 Ω (C)1.5 Ω (D)2 Ω
【答案】
C
15.水的摩尔质量为M,密度为ρ,阿伏加德罗常数为NA,则一个水分子的质量为( )
(A)\(\frac{M}{{\rho {N_A}}}\) (B)\(\frac{M}{{{N_A}}}\) (C)\(\frac{M{N_A}}{{\rho }}\) (D)\(\frac{\rho}{{ {N_A}}}\)
【答案】
B
16.一物体在运动过程中,克服重力做了功,则该物体( )
(A)重力势能一定增大 (B)动能一定增大
(C)重力势能一定减小 (D)机械能一定增大
【答案】
A
17.
如图,一物体在竖直向上的拉力作用下静止在水平地面上。若减小拉力,则( )
(A)重力减小 (B)合力减小
(C)支持力增大 (D)摩擦力增大
【答案】
C
18.质量为0.1 kg的物体同时受到3个大小分别为3 N、4 N、5 N的力的作用,则该物体加速度的最小值为( )
(A)0 (B)10 m/s2 (C)20 m/s2 (D)30 m/s2
【答案】
A
19.汽车在平直的路面上由静止开始匀加速启动,达到额定功率后继续加速达到最大速度,所受阻力恒定,能正确反映这个过程的v-t图是( )

【答案】
C
20.在“用DIS研究通电螺线管的磁感应强度”实验中,探管从长直螺线管一端到另一端,以螺线管中央为坐标原点,测得磁感应强度B随位置x的变化图像可能是( )

【答案】
D
【解析】
通电螺线管中的磁感应强度分布特点是“中间强、两边弱,中间位置附近区域近似为匀强磁场,关于中央对称”,此题是以螺线管中央为坐标原点,因此正确选项为D,B出现负值的原因是磁传感器探管方向与磁场方向相反(虽然这样做不是很符合实验的操作规范)。
正确选项为D。
21.虹口区某天的最高温度为33℃,最低温度为22℃。用热力学温标表示,虹口区这一天的最高温度和最大温度差分别为( )
(A)306 K、11 K (B)33 K,11 K
(C)33 K、295 K (D)306 K、295 K
【答案】
A
22.
一列横波向左传播,某时刻介质中质点A的位置如图所示。\(\frac{5}{4}\)周期后,质点A位于平衡位置的( )
(A)上方,且向上运动
(B)下方,且向上运动
(C)上方,且向下运动
(D)下方,且向下运动
【答案】
B
23.一正点电荷从静止开始,仅在电场力作用下由a点向b点运动,且加速度逐渐增大。该电荷所在的电场分布可能为( )

【答案】
B
24.汽车在10 s内加速运动了200 m,已知牵引力大小为2.1×103 N,则发动机的平均功率为( )
(A)1.05×104 W (B)4.2×104 W (C)4.2×106 W (D)3.5×104 W
【答案】
B
25.一重力为G的物体放在电梯的水平地板上,电梯从1楼开始向上启动,到20楼停下。此过程中,物体受到地板的支持力F与时间t之间的关系图像,可能正确的是( )

【答案】
C
26.
北京和上海两处的物体随地球自转的运动可近似地看作是匀速圆周运动,两物体运动的周期分别为TB、TS,线速度的大小分别为vB、vS,则( )
(A)vB>vS (B)vB=vS
(C)TB>TS (D)TB=TS
【答案】
D
27.
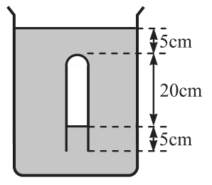
一端封闭的直玻璃管竖直放置在水银槽内,管内封闭一定质量的气体,相关尺寸如图所示。已知外界大气压强p0=76 cmHg,则封闭气体的压强为( )
(A)51 cmHg (B)81 cmHg
(C)101 cmHg (D)106 cmHg
【答案】
C
28.一定质量的封闭气体做等温变化,下列图像一定能表示该过程的是( )

【答案】
D
29.物体在地球表面所受重力约等于地球对该物体的万有引力,设物体质量为m,地球质量为M,地球半径为R,引力常量为G,则地球表面重力加速度g的大小为( )
(A)\(\frac{{Gm}}{R}\) (B)\(\frac{{GM}}{R}\) (C)\(\frac{{Gm}}{{{R^2}}}\) (D)\(\frac{{GM}}{{{R^2}}}\)
【答案】
D
30.
一定质量的理想气体由状态a沿图示直线缓慢变化到状态b,则气体的( )
(A)体积增大,内能增加
(B)体积不变,内能增加
(C)体积减小,内能增加
(D)体积不变,内能减少
【答案】
A
31.
如图,在同一平面内有两个相互绝缘的金属圆环A、B,圆环A平分圆环B为面积相等的 Ⅰ 和 Ⅱ 两部分,A中通以恒定的电流I。则穿过 Ⅰ 、 Ⅱ 两部分的磁通量大小关系为( )
(A)ΦⅠ=ΦⅡ
(B)ΦⅠ>ΦⅡ
(C)ΦⅠ<ΦⅡ
(D)A中电流I的大小未知,无法确定
【答案】
B
【解析】
金属圆环的内部磁场要比外部磁场强,即BⅠ>BⅡ,由Φ=BS可知,虽然Ⅰ 、 Ⅱ 两部分的面积相同,但ΦⅠ>ΦⅡ。
正确选项为B。
32.
图示电路中,R1、R2、R3是完全相同的电阻,额定功率均为10 W,将a、b分别接到电源的两端,则a、b间总功率的最大值为( )
(A)15 W (B)20 W (C)30 W (D)40 W
【答案】
A
33.
如图,质量为m的小球从桌面竖直向上抛出,在小球到达最大高度的过程中,以地面为零势能面,小球重力势能增加量为ΔE1;而以桌面为零势能面,小球重力势能增加量为ΔE2。则( )
(A)ΔE1>ΔE2 (B)ΔE1=ΔE2
(C)ΔE1<ΔE2 (D)无法确定二者大小关系
【答案】
B
34.
如图,直导线与环形线圈共面放置,直导线中通以电流I,线圈中通有顺时针方向的电流2I,直导线受到磁场力为F1,线圈受到磁场力为F2,则下列说法正确的是( )
(A)F2更大,方向向上 (B)F2更大,方向向下
(C)F1更大,方向向下 (D)F1=F2,F1向下、F2向上
【答案】
D
35.
一台抽水机将地面上的水全部抽到长为a、宽为b、高为h的蓄水池中,刚好将水池灌满(池底与地面等高)。己知水的密度为ρ,则抽水机克服水的重力做功为( )
(A)\(\frac{1}{2}\)ρabh2g (B)-\(\frac{1}{2}\)ρabh2g
(C)ρabh2g (D)-ρabh2g
【答案】
C
36.某同学做“用DIS研究温度不变时,一定质量的气体压强与体积的关系”实验时,采用的物理方法是__________。为了保证注射器内气体的温度不变,在缓慢推动活塞时,还应注意:___________________________。

【答案】
控制变量法;手不握注射器封闭气体的部分
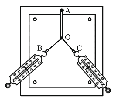
37.
某同学在“研究共点力的合成”实验中,第一次用一个弹簧秤将橡皮筋结点拉到O点并记录了此时拉力F的大小和方向,第二次用两个弹簧秤同时拉橡皮筋,使结点再次拉到O点,此操作符合_________的物理思想。该实验可以得出结论:合力与分力之间的关系遵循________定则。
【答案】
等效替代;平行四边形
38.图示装置为“测定直流电动机的效率”实验。

(1)实验时,需调整砝码的质量,保证砝码盘上升过程中,做__________运动。
(2)实验中保持电动机两端电压U恒为6 V,重物每次上升的高度h均为1.5 m,所测物理量及测量结果如下表所示:
|
实验次数 |
1 |
2 |
3 |
4 |
|
电动机的电流I/A |
0.2 |
0.4 |
0.6 |
0.8 |
|
所提重物的重力Mg/N |
0.8 |
2.0 |
4.0 |
6.0 |
|
重物上升时间t/s |
1.4 |
1.65 |
2.1 |
2.5 |
则第4次实验中,电动机的工作效率为___________。
【答案】
(1)匀速直线
(2)75%
【解析】
(1)只有砝码盘做匀速直线运动,才能使电动机产生的拉力大小上等于重力,才能测出正确的结果;
(2)效率η=\(\frac{{Mgh}}{{UIt}}\)=\(\frac{{6 \times 1.5}}{{6 \times 0.8 \times 2.5}}\)×100%=75%。
39.
如图,条形磁铁向下穿过螺线管的过程中,观察到灯泡L发光。
(1)该过程中,穿过螺线管的磁通量如何变化?
(2)依据功、能观念,分析说明该过程中系统的能量是怎样转化的?
【答案】
(1)磁通量先增大后减小(或:“增大、不变,再减小”)
(2)条形磁铁克服磁力做功,将机械能转化为回路中的电能;电流流经灯泡 L 的过程,电流做功,电能再转化为内能、光能。
40.
如图所示,在竖直平面内的直角坐标系中,一个质量为m的质点在外力F的作用下,从坐标原点O由静止沿直线ON斜向下运动,直线ON与y轴负方向成θ角(θ>45°)。
(1)F至少为多大?
(2)若F=mgtanθ,试定性分析质点机械能的变化情况。
【答案】
画力的合成图,F垂直于 ON 时,最小
解出最小值Fmin=mgsinθ
F=mgtanθ时,F只能水平向右
F做正功,机械能增大
2006 - 2026,推荐分辨率 1024*768 以上,推荐浏览器 Chrome、Edge 等现代浏览器,截止 2021 年 12 月 5 日的访问次数:1872 万 9823。 站长邮箱
