1.原子核是带电的,通常地球也是带电的。则 ( )
(A)地球一定不能看成点电荷
(B)原子核一定能看成点电荷
(C)地球有时也能看成点电荷
(D)原子核有内部结构,一定不能看成点电荷
【答案】
C
2.下列式子中是用比值法定义物理量的是( )
(A)a=\(\frac{F}{m}\) (B)B=\(\frac{F}{{IL}}\) (C)λ=\(\frac{v}{f}\) (D)I=\(\frac{U}{R}\)
【答案】
B
3.
如图所示,两个质量均为M,半径均为R的均匀球,其最近两点间的距离为L,则它们间的万有引力大小为( )
(A)两球不可以看成质点,无法计算
(B)G\(\frac{M}{{{L^2}}}\)
(C)G\(\frac{M}{{{(L+R)^2}}}\)
(D)G\(\frac{M}{{{(L+2R)^2}}}\)
【答案】
D
5.关于星系,下列说法中正确的是( )
(A)星系是由宇宙中的恒星、气体和尘埃组成的
(B)银河系是椭圆星系
(C)太阳处于河外星系中
(D)银河系中恒星只有很少的几颗
【答案】
A
8.下列关于阿伏加德罗常数的说法中,正确的是( )
(A)是指1 m3的任何物质含有的分子数
(B)是指任何状态下1 mol的任何物质含有的分子数
(C)是指标准状态下1 mol气体含有的分子数
(D)是指1 kg任何物质含有的分子数
【答案】
B
12.由场强公式E=\(\frac{F}{q}\)可知,( )
(A)在电场中某点不放电荷时,电场力为零,所以该点场强也为零
(B)在电场中某点放入的电荷量加倍时,该点的场强将减半
(C)在电场中某点放入负电荷时与放入正电荷时,场强方向将相反
(D)在电场中某点放入电荷量加倍时,该点场强仍不变
【答案】
D
13.178O核比146C核内多__________个质子和__________个中子。
【答案】
2,1
14.下列各图像中能表示匀速直线运动规律的是__________图,能表示匀加速运动规律的是__________。

【答案】
乙和丙,甲
15.一物体从离地某高处自由下落,空气阻力不计,经3 s时间落到地面,则落地时速度大小为_______m/s,下落前离地高为________m。
【答案】
30,45
16.
甲图中为一通电导线在磁场中受到图示方向的作用力,则导线中电流方向向___________(选填“里”或“外”),乙图中为一导线沿图示方向运动时导线中产生感应电流,则导线中电流方向向___________(选填“里”或“外”)。
【答案】
外,外
17.
如图所示,质量为4 kg的均匀杆对称地用两根等长的轻绳悬挂于天花板上A、B两点,绳子与天花板的夹角都为θ=53°,则每根绳子的拉力大小为__________N,若不改变其他条件,要使每根绳子所受拉力减小些,应将AB间距离__________(填“增大”或“减小”)些。
【答案】
25,减小
18.
如图所示为一列横波在某一时刻的波形图,已知波的频率为2 Hz,则这列波的波速为____________m/s,若在x=6 cm处的质点此时正向y轴负方向运动,该波的传播方向为___________。
【答案】
0.16,向左
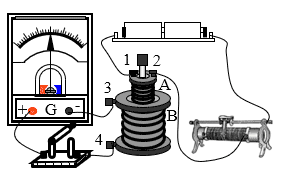
19.
为观察电磁感应现象,某学生将电流表、螺线管A和B、干电池、滑动变阻器、电键用导线连接成如图所示的实验电路。
(1)(单选题)当接通和断开电键时,电流表的指针都没有偏转,其原因是( )
(A)电键位置接错
(B)电流表的正、负极接反
(C)线圈B的接头3、4接反
(D)干电池的正、负极接反
(2)在开始实验之前,需要先确定电流表指针偏转方向与电流方向之间的关系,为此还需要的器材是_________、__________。
(3)如果正确电路后,除接通和断开电键外还有什么办法能使线圈B回路中有感应电流产生?
【答案】
(1)A
(2)一节干电池、保护电阻
(3)移动滑动变阻器滑臂,插入或拔出线圈A中的铁芯,移近或移远A线圈与B线圈的距离
20.将质量为0.2 kg的一物体由地面竖直向上抛出,空气阻力不计,上升到最高点后又下落到离地高30 m时速度大小变为25 m/s,以地面为零势能面,求:
(1)此时物体的机械能,
(2)物体抛出时速度的大小,
(3)物体能上升的最大高度,
(4)以向上为正方向,画出物体从抛出到此时的位移的图示。
【答案】
(1)122.5 J
(2)35 m/s
(3)61.25 m/s
(4)图略
21.
如图所示,均匀直玻璃管下端封闭,开口向上竖直放置,管内有一段长为h=15 cm的水银柱封住一段空气柱,温度为t1=27 ℃、大气压强为p0=75 cmHg时气体柱长度为L1=40 cm,问 :
(1)初始时管内气体的压强p1为多大?
(2)若保持温度不变,把玻璃管开口向下竖直放置,管内空气柱长L2为多大?
(3)若将玻璃管再转到开口向上竖直放置,要保持管内空气柱长度为L2不变,则管内气体温度t2应变为多少?
【答案】
(1)p1=90 cmHg
(2)L2=60 cm
(3)T2=450 K,t2=17℃
23.
如图所示电路中,小灯泡L标有“6 V,12 W”字样,R2=8 Ω,电键S接通时,电流表示数为1.5 A,电压表示数为3 V,求 :
(1)小灯泡的电阻RL及电阻R1的阻值;
(2)电源电压;
(3)小灯泡的实际功率;
(4)为使小灯泡正常发光,其余条件不变,R1的阻值应增大还是减小?
【答案】
(1)RL=3 Ω,R1=6 Ω
(2)U=15 V
(3)PL=3 W
(4)增大R1的阻值
2006 - 2026,推荐分辨率 1024*768 以上,推荐浏览器 Chrome、Edge 等现代浏览器,截止 2021 年 12 月 5 日的访问次数:1872 万 9823。 站长邮箱
