1.
如图所示,水平放置的长直导线MN中通以恒定电流,正方形金属线框abcd与导线在同一平面内,ad边平行于长直导线,其分别进行以下几种运动:(A)向右平动;(B)向下平动;(C)绕通过ab中点与dc中点的轴转动;(D)以长直导线为轴转动;(E)由正方形变成圆形。试判断哪几种运动情况下线圈中有感应电流产生?
【答案】
BCE
【解析】
感应电流产生的条件有两个:一是闭合回路;二是通过闭合回路的磁通量发生变化。磁通量的变化通常有两种形式:一是磁场分布不变,闭合回路的正对有效面积发生变化;二是闭合回路的正对有效面积不变,而磁场发生改变。
如图为从左向右看的侧视图,可以看到通电长直导线周围的磁场分布并不均匀,离导线越远,磁场越弱。与导线等距离沿导线方向的磁场强弱不变,垂直于导线方向。由以上分析得出:(A)向右平动,磁通量不发生改变;(B)向下平动,磁通量增加;(C)绕通过ab中点与dc中点的轴转动,有效面积减小,磁通量减小;(D)以长直导线为轴转动,虽然位置不同,但相对磁场的位置不变,磁通量不发生改变;(E)周长不变的情况下,圆面积最大。所以线圈由正方形变成圆形,有效面积变大,金属线框中的磁通量增加。
2.
如图所示,两根平行光滑金属导轨放置于一通电长直导线附近,与长直导线平行且在同一水平面上。导轨上搁置两根可自由滑动的导体棒ab和cd。现对导体棒ab作用一外力F,使棒ab向右运动,则导体棒cd将如何运动?
【答案】
导体棒cd将向右运动。
【解析】
判断电流产生的磁场方向应使用右手螺旋定则,判断导体切割磁感线时产生的感应电流方向应使用右手定则,判断电流在磁场中的受力方向应使用左手定则。如图所示,根据右手螺旋定则,通电长直导线在导轨所处范围内产生垂直纸面向里的磁场。导体棒ab在该磁场中向右运动,根据右手定则,切割磁感线产生从b→a的感应电流。该电流流过导体棒cd后,根据左手定则,使cd棒受到向右的磁场力作用。
右手螺旋定则、左手定则、右手定则均为判断方向的定则,在不同的物理情景中,针对解决不同的物理问题,虽较易混淆,但只要分析清楚使用的条件和对象即可。
3.复习磁场、电磁感应两单元的知识后,在下面的概念图中填入恰当的内容。

【答案】
右手螺旋,左手,右手
4.电流的磁效应是________发现的,电磁感应现象是______发现的。
【答案】
奥斯特,法拉第
5.如图所示,正方形导线框垂直匀强磁场放置。当线框水平向右运动时,导线框中______感应电流产生;当线框以ad边为轴转过90°的过程中,导线框中_______感应电流产生。(均选填“有”或“无”)
【答案】
无,有
6.
某校一教室墙上有一朝南的钢窗,当把钢窗左侧向外推开至垂直于墙面方向时,如图所示,通过被推开的窗门的地磁场的磁通量_______(选填“增大”、“不变”或“减小”);窗门中的感应电流方向是_______(从推窗人的角度来看“顺时针”还是“逆时针”)。
【答案】
减小,逆时针
7.图中已标出了导体棒ab在匀强磁场中沿金属导轨移动时,螺线管中感应电流的方向。试在图中标出ab运动方向及置于螺线管右端小磁针静止时的N、S极。

【答案】
图略
8.关于电磁感应现象,下列说法中正确的是( )。
(A)电磁感应现象是由奥斯特首先发现的
(B)电磁感应现象说明了磁也能生电
(C)只要闭合回路内有磁场通过,就一定会产生电磁感应现象
(D)闭合回路的一部分在磁场中运动,就一定会产生电磁感应现象
【答案】
B
9.如图所示,有一正方形闭合线圈,在足够大的匀强磁场中运动。下列四个图中能产生感应电流的是图( )

【答案】
D
10.导体在磁场中切割磁感线会产生感应电流,导体的运动速度v、磁场B、电流I三者的方向有确定的空间关系,在如图所示的4个图中,能正确表示这种关系的是( )

【答案】
D
11.
“探究感应电流产生的条件”的实验电路如图所示。实验表明:当穿过闭合电路的________发生变化时,闭合电路中就会有电流产生。在闭合电键S前,滑动变阻器滑动片P应置于_______(选填“a”或“b”)端。电键S闭合后还有多种方法能使线圈C中产生感应电流,试写出其中的一种方法:_________。
【答案】
磁通量,a,移动滑动变阻器的滑片(线圈A在线圈C中拔出或插入、断开电键等)
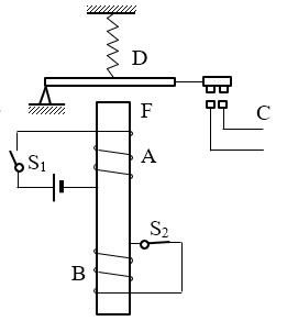
12.
如图所示是一种常用的延时继电器示意图,图中的S2是常闭的。当开关S1闭合时,衔铁D将被吸下,C线路接通;当S1断开时,D将延迟一段时间才被释放,延时继电器就是这样得名的。请运用相关的物理规律说明该继电器的工作原理。图中F为电磁铁,A、B为导线线圈。
【答案】
当开关S1闭合时,线圈A通电后产生磁场,因而电磁铁F将衔铁D吸下,C线路接通;当S1断开时,线圈A产生的磁场减弱,通过线圈B的磁通量将发生变化,因此发生电磁感应现象,在B中产生磁场,继续使电磁铁F吸引衔铁D,所以D将延迟一段时间才被释放。
13.如图所示,一闭合导体环沿水平方向固定,一条形磁铁S极向下沿过导体环圆心的竖直线向下穿过导体环,请判断下落过程中导体环中的感应电流方向。
【答案】
从上向下看,感应电流方向先顺时针后逆时针。
【解析】
感应电流的方向与导体环磁通量的变化有关,根据楞次定律,应先判断磁场方向;再根据磁通量的变化,判断出感应磁场的方向;最后根据右手螺旋定则判定感应电流的方向。
导体环里磁场方向始终保持向上不变。
在磁铁中心下落到导体环所在平面时,通过导体环的磁通量最大。所以,在磁铁下落的过程中,通过导体环的磁通量先增大后减少。
由此可判断感应磁场的方向先向下后向上。
根据右手螺旋定则,从上向下看,感应电流方向先顺时针后逆时针。
14.如图所示,竖直放置的光滑U形导轨间距为L,上端连接一电阻,阻值为R。磁感应强度为B的匀强磁场方向垂直于纸面向外。质量为m、阻值为r的金属棒ab,从静止释放后沿导轨下滑,下滑过程中ab始终保持水平,且与导轨接触良好,导轨电阻忽略不计,重力加速度为g。求ab下滑的最大速度vm。
【答案】
vm=\(\frac{{mg(R + r)}}{{{B^2}{L^2}}}\)
【解析】
初始时刻,导体棒仅受到重力G的作用,做加速运动;在下落过程中,受到竖直向下的G和竖直向上的安培力F安的作用(如图所示),由F安=BIL,I=\(\frac{E}{{R + r}}\),E=BLv,得
F安=\(\frac{{{B^2}{L^2}v}}{{R + r}}\)
随着下落速度增大,安培力F安逐渐增大。根据牛顿第二定律,G-F安=ma,加速度a逐渐减小。所以导体棒下落后,做加速度减小的加速运动,当导体棒受到的安培力增大到F安=G=mg时,加速度变为零,此时ab达到最大速度vm,可得
vm=\(\frac{{mg(R + r)}}{{{B^2}{L^2}}}\)
15.
如图所示,有一个\(\frac{1}{4}\)圆弧的线圈OAB,从图示的位置开始绕O点沿顺时针方向匀速转动,线圈下方为匀强磁场,转动周期为2 s,则在线圈转动一周的过程中,在______时间内线圈中有顺时针方向的感应电流,在______时间内线圈中没有感应电流。
【答案】
1~1.5 s,0.5~1 s和1.5~2 s
16.
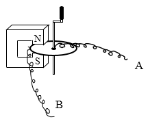
如图所示是世界上早期制作的发电机及电动机的实验装置,有一个可绕固定转轴转动的铜盘,铜盘的一部分处在蹄形磁铁当中.实验时用导线A连接铜盘的中心,用导线B连接铜盘的边缘.若用外力摇手柄使得铜盘顺时针转动起来,电路闭合会产生感应电流,则电流从______端流出;若将A、B导线端连接外电源,铜盘会逆时针转动起来。则此时_____端连接外电源的正极(均选填“A”或“B”)。
【答案】
B,A
17.如图所示,(1)甲图中,当电流通过导线PQ时,导线上方的小磁针北极指向纸面外,请画出导线PQ中的电流方向;(2)乙图中,MN是闭合电路中的一段导体,当MN向右运动时,请画出导体中感应电流的方向;(3)丙图中,请画出通电导线在磁场中受力的方向。

【答案】
图略
18.
如图,粗糙水平桌面上有一质量为m的铜质矩形线圈,当一竖直放置的条形磁铁从线圈中线AB正上方等高快速经过时,若线圈始终不动,则关于线圈受到的支持力FN及在水平方向运动趋势的正确判断是( )
(A)FN先小于mg后大于mg,运动趋势向左
(B)FN先大于mg后小于mg,运动趋势向左
(C)FN先小于mg后大于mg,运动趋势向右
(D)FN先大于mg后小于mg,运动趋势向右
【答案】
D
【解析】
条形磁铁从线圈正上方等高快速经过时,通过线圈的磁通量先增加后又减小。当通过线圈磁通量增加时,为阻碍其增加,在竖直方向上线圈有向下运动的趋势,所以线圈受到的支持力大于其重力,在水平方向上有向右运动的趋势,当通过线圈的磁通量减小时,为阻碍其减小,在竖直方向上线圈有向上运动的趋势,所以线圈受到的支持力小于其重力,在水平方向上有向右运动的趋势。综上所述,线圈所受到的支持力先大于重力后小于重力,运动趋势总是向右。
19.
如图所示为地磁场磁感线的示意图,飞机在我国的上空匀速飞行。机翼保持水平,飞行高度不变。由于地磁场的作用,金属机翼上有电势差,设飞行员左方机翼末端的电势为φ1,右方机翼末端处的电势为φ2,则( )。
(A)若飞机从西往东飞,φ2比φ1高
(B)若飞机从东往西飞,φ2比φ1高
(C)若飞机从南往北飞,φ1比φ2高
(D)若飞机从北往南飞,φ2比φ1高
【答案】
C
20.
如图所示,线圈abcd所在平面与磁感线平行,在线圈以ab轴由上往下看逆时针转过180°的过程中,线圈中感应电流的方向 ( )。
(A)总是沿abcda
(B)总是沿dcbad
(C)先沿abcda,后沿dcbad
(D)先沿dcbad,后沿abcda
【答案】
D
21.
如图所示,先后以速度v1和v2匀速把一矩形线圈拉出有界匀强磁场区域,v1=2v2,在先后两种情况下( )。
(A)线圈中的感应电流之比为I1∶I2=2∶1
(B)线圈中的感应电流之比为I1∶I2=1∶2
(C)线圈中产生的焦耳热之比Q1∶Q2=1∶4
(D)通过线圈某截面的电荷量之比q1∶q2=1∶2
【答案】
A
22.
一根条形磁铁自左向右穿过一个闭合线圈,则流过灵敏电流计的感应电流方向是( )
(A)始终由a流向b
(B)始终由b流向a
(C)先由a流向b,再由b流向a
(D)先由b流向a,再由a流向b
【答案】
D
【解析】
23.(多选题)如下左图是电流通过检流计时指针的偏转情况。右面四图为验证楞次定律实验的示意图,竖直放置的线圈固定不动,将磁铁从线圈上方插入或拔出,线圈和电流表构成的闭合回路中就会产生感应电流。各图中分别标出了磁铁的极性、磁铁相对线圈的运动方向以及线圈中产生的感应电流的方向等情况,其中方向关系正确的是( )

【答案】
CD
【解析】
24.
如图所示,两条平行金属导轨左右两端分别接灯L1、L2,处于方向垂直于导轨平面向下的匀强磁场中,磁感应强度为0.5 T。金属棒ab搁在平行导轨上向右做匀速运动,此时标有“4V 2W”的L1灯恰能正常发光。若已知导轨间距为0.9 m,金属棒ab的电阻为0.5 Ω,灯L2标有“6V 4.5W”,试求 :
(1)通过L1的电流大小和方向;
(2)ab棒运动的速度大小;
(3)灯L2的实际功率大小。
【答案】
(1)0.5A,向下
(2)10 m/s
(3)2 W
25.
如图所示,质量为m=0.2 kg、长为l=1 m的金属棒,放置在倾角为θ=37°角的光滑平行金属导轨上,导轨底端接阻值为R=2 Ω的定值电阻,整个装置处在垂直于斜面向上、磁感应强度为B=1 T的匀强磁场中,棒与导轨的电阻不计。当金属棒由静止下滑到达导轨底端时速度达到最大且匀速运动,求棒匀速运动时的速度。
【答案】
2.4 m/s
2006 - 2026,推荐分辨率 1024*768 以上,推荐浏览器 Chrome、Edge 等现代浏览器,截止 2021 年 12 月 5 日的访问次数:1872 万 9823。 站长邮箱
