1.
如图所示,A是一个未画线圈的螺线管,E是电源,P处有一个小磁针。今要使小磁针处在图示状态并保持静止。试画出螺管上绕着的线圈,并接上电源。
【答案】

【解析】
首先要根据磁针的状态画出通过它的一根磁感线,再根据此磁感线在螺线管里的指向,画出一组平行的电流方向,然后根据电源正负极的位置完成绕线方法,并连接成电路。
2.如图所示是生产中常用的闸刀开关。图中A是导电的闸刀,B是金属簧片(可以与闸刀保持紧密接触或分离),C是带铁芯的线圈,O是固定转动轴(即支点),D是杠杆(右边下降时左边上升),K是弹簧。图中箭头是电流方向。试一说明这种闸刀开关在什么情况下会自动断开电源?
【答案】
当电流过大时,闸刀开关自动切断电源。
【解析】
通过线圈C中的电流增大到一定程度时,磁场增强,杠杆D的右边被吸下来,左端向上翘起,在弹簧K的拉力作用下,闸刀与簧片B脱开,这时电源断开。
3.电流________存在着磁场,这现象是物理学家_______首先发现的。
【答案】
周围,奥斯特
4.磁感线是一些假想的曲线,这些曲线________________________________。
【答案】
疏密表示磁场强弱,切线方向表示该点处磁场方向
5.判断下列关于磁感线的说法,正确的在括号中打“√”,错误的在括号中打“×”。
(1)磁感线是真实存在的。
(2)实验中观察到的铁屑的分布就是磁感线。
(3)磁感线是一种物理模型,并不真实存在。
(4)磁感线自N极起,终止于S极。
(5)磁感线的疏密反映了磁场的强弱。
(6)磁感线不能反映磁场的方向。
【答案】
(1)×(2)×(3)√(4)×(5)√(6)×
6.图中的直导线通电时,观察到导线下面的小磁针的N极转向读者,画出直导线中的电流方向。

【答案】
向左
7.通电螺线管右侧的小磁针指向如图所示。请在图上指明电源的正负极。

【答案】
右端是正极,左端是负极
8.试画出如图所示三种情况中,电流产生的磁场里经过P点的一条磁感线[图(c)的P点在圆管内]。

【答案】
(a)向下直线(b)斜向上曲线(c)逆时针的圆
9.图中的A、B、C是放在通电螺线管磁场中不同位置的三块软铁,试标出它们被磁化后的磁极极性。

【答案】
A:左S,右N;B:左N,右S;C:左S,右N
11.图(a)所示的是一种电磁起重机。为了安全,它是用永久磁铁制成的,它能将杂碎铁块吸住而不掉下来。在它的两臂上绕有线圈,并与电源、按钮开关 S 构成回路。当需要释放铁块时只要按下 S,产生一个与原磁极相反的磁场而抵消原磁场,铁块便能脱落。请你在图(b)中按此要求连接电路。

【答案】

11.
如图所示,AB是一根通电导线,绕了一个圈,它处于纸面所在的平面上,导线下有一个小磁针,通电时N极指向纸外。试在纸面上画出导线附近M、P、Q处磁感应强度的方向(用“·”或“×”表示)。
【答案】
M点“×”,P点“×”,Q点“×”
12.
如图所示,有一卷捆扎在一起的电线连在电源上,放在一旁的小磁针此时 N 极指向下方,试判断电源的哪一端为正极?你判断的依据是什么?
【答案】
a 为正极,b 为负极
13.
图为“奥斯特的实验记录”。你能看出下列奥斯特所用的符号所表永的含义吗?
(1)“+、-”,“N、S”及箭头“↗”。
(2)图A6记录的实验中,小磁针是放在直导线的上方还是下方?
【答案】
(1)“+…”“-”表示电流,“N”“S”表示小磁针,“↗”箭头表示小磁针转动方向。
(2)上方
14.
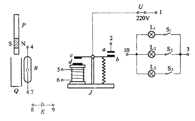
如图所示是宾馆中常用的一种总电门卡,进房间时只要将带有磁铁的卡P插入盒子U中,这时由于磁体吸引簧片,开关B就接通。通过继电器J使整个房间的电器的总开关接通,房客便能使用室内各种电器。出门时只要取走此卡,总门切断,所有电器都不再工作。图中E为低压电源,U为220 V电源,L为灯泡,S为开关。当继电器工作时,cd相吸,ab便接通。请你将图中各接线端1、2、3、4、5、6、7、8、9、10适当地连接起来,构成能正常工作的电门卡电路。
【答案】
8-7,4-5,6-9,1-3,2-10
15.
如图所示是生产中常用的一种闸刀开关。请说明这种闸刀开关是在什么情况下会自动断开电源的?
【答案】
电压过低时,电磁铁电流过小而吸力减小,弹簧K将手柄A拉开,切断电路。
16.
如图所示,蹄形磁铁放置在地面上,在它的上方悬挂一根用软弹簧连接着的金属棒。上部接有电源。开始时,金属棒处于静止状态,通电后可观察到什么现象?
【答案】

17.
如图所示,MW为长直通电导线,PQ是一根与MW平行的竖直轴,轴上套有一个可以自由转动的通电金属框abcd(它与PQ绝缘)。开始时,金属框的平面正对MW,即ab边与cd边跟MW的距离相等。放开金属框将看到什么现象?为什么?
【答案】
金属框发生转动,自上向下看逆时针转动,直到金属框跟直导线MW在同一平面时为止。
【解析】
为了便于分析,先画出此装置的俯视图[图(b)],可以用下面两种方法来解答本题:
(1)描绘出一条磁感线,根据左手定则确定ab边的受力方向是指向MW,同理,cd边受力背离MW。简单地说,同方向电流相互靠近,反方向电流相互远离。
(2)用等效方法来解答。通电金属框相当于一个“小磁针”[图(c)],它的N极在外,S极在里。根据直线电流周围磁场方向,可推测“小磁针”要逆时针转动。结论与前面相同。

18.关于通电直导线L在磁场中受力。下列说法正确的是( )。
(A)只要L在磁场中,总要受到作用力 (B)受力F与B垂直,与I方向无关
(C)受力总是与I相垂直,跟B不一定垂直 (D)受力总垂直于I与B所在的平面
【答案】
D
19.在图中画出或说明图中所示情形下通电导线I所受磁场力的方向。

【答案】
向左,向上,垂直纸面向外,向上,向上
20.完成下列各题:

(1)在图(a)中画出导线的受力方向。
(2)在图(b)中画出导线中电流的方向。
(3)在图(c)中画出电源正、负极。
【答案】
(1)在纸面里跟B垂直(斜向左上方)
(2)垂直纸面向里
(3)a为负极,b为正极
21.
一个环形电流的中心有一根通电导线,如图所示。关于通电直导线的受力情况是( )。
(A)受向左的磁场力 (B)受向右的磁场力
(C)受磁场力使直导线偏离圆环中心 (D)不受磁场力
【答案】
D
22.
在水平光滑桌面上平放一根条形磁铁,在S极的上方有一根垂直于纸面放置的长直导线A,如图所示。当导线中通有垂直纸面向外的电流时,条形磁铁( )。
(A)对桌面的压力减小,同时向左加速运动
(B)对桌面的压力增大,同时向左加速运动
(C)对桌面的压力减小,同时向右加速运动
(D)对桌面的压力增大,同时向右加速运动
【答案】
B
【解析】
(导线和磁体受力情况如图所示)
23.
如图所示,通电长直导线MW固定,电流向右,在导线上方悬挂一条形磁铁,此时磁铁发生转动,P端向纸外、Q端向纸里,可以确定该磁铁哪一端是N极,哪一端是S极?
【答案】
P端是N极,Q端是S极
24.
如图所示的是一电磁炮,如果电流从右向左流过炮弹,则炮弹经过处的磁感线方向应如何?若导轨斜向上方,则在炮弹从静止起动经导轨从远端飞出的过程中,磁场力做的功可能转化为哪些能量?(说出两至三种)
【答案】
垂直导轨平面向上,动能,势能,内能
25.
有人设计了一个小玩艺如图所示。将一根细而柔软的铜丝绕成螺旋弹簧形状,并悬挂起来,弹簧下端焊接一簇更细的铜丝。铜丝的下端与一块圆形铜片相接触,铜片及弹簧上端分别与电源、开关相接。试问:合上开关后会看到什么现象?为什么?这个装置能否实现设计者的期望?请你试一试。
【答案】
铜丝会不停地上下振动。通电后螺旋弹簧各圈中电流方向相同,磁场力使它们相互靠近,弹簧收缩,电路断开,然后弹簧恢复原状,电路再次接通,重复上述过程,铜丝便上下振动。
26.如图所示,平行轨道MN和PQ上有一辆平板小车,车上有一个通电线框,图中虚线框A、B、C、D、E等是磁场区域,内有垂直纸面向里或向外的磁场。

(1)要使小车在图示位置时受到向右的推力,此时A、B部分磁场的方向如何?
(2)小车经过B、C位置时,如果仍要使小车受到向右的推力,B、C两处磁场方向应如何?怎样改变磁场方向才能使小车始终受到推力?
(3)从这个模型可以联想到什么实际应用?
【答案】
(1)A处磁场是“×”,B处磁场是“·”。
(2)B处磁场是“×”,C处磁场是“·”;闭合电路的左边到达的磁场区域,磁场总是“×”,闭合电路的右边到达的磁场区域,磁场总是“·”,因而小车始终受到向右的推力。
(3)磁浮列车。
27.如图所示是一种输送导电液的水泵——电磁泵,它能将液体抽送到高处。试说明电路中a、b两端应接电源的什么电极?说出此水泵的工作原理。

【答案】
a为负极,b为正极。当有电流向上通过液体时,导电液体受到向左的磁场力作用,从而推动导电液体向左流动。
28.假设在人的一块皮肤内有一个顺时针的微循环电流,现有一个磁性较强的磁铁的N极靠近该皮肤的中央,则该处的电流会出现什么情况?
【答案】
循环电流的半径会增大,即电流流动的范围会扩大。
29.
如图所示,用特制的弹簧测力计将单匝线框悬挂在匀强磁场中,线框长为10 cm,宽为2 cm(引线a、b可与电源相接),线框平面与磁场相垂直。线框通电前弹簧测力计的示数为0.1 N,通以1.6 A电流后,弹簧测力计的示数变为0.11 N。求:
(1)磁场的磁感应强度为多大?
(2)如果通电后线框在磁场中的长度为5 cm,那么线框中的磁通量为多大?
【答案】
(1)B=0.31 T
(2)Φ=3.1×10-4Wb
30.磁感应强度是描述________的物理量,B=\(\frac{F}{{Il}}\)中的F是______,I是____,l是_____。磁感应强度的单位是______。
【答案】
磁场强弱和方向,磁场力,电流,在磁场中导线的长度,特(T)
31.____________________叫做磁通量,单位是________,它与磁感应强度的关系是_____________。
【答案】
穿过某一面积的磁感线条数,韦(Wb),Φ=BS
32.关于磁感应强度,正确的说法是( )。
(A)根据定义式B=\(\frac{F}{{Il}}\),磁场中某点的磁感应强度B与F成正比,与Il成反比
(B)B是矢量,方向与F的方向一致
(C)B是矢量,方向与放在该点的小磁针N极指向垂直
(D)在确定的磁场中,某点的B是确定的,不同点的B可能不同;磁感线密的地方B大些,磁感线疏的地方B小些
【答案】
D
33.关于磁通量,下列说法正确的是( )。
(A)穿过某一面积的磁通量为零,该处磁感应强度为零
(B)垂直于磁场方向的磁感线条数越多,磁通量越大
(C)在磁场中所取平面的面积增大,磁通量总是增大的
(D)磁场中磁感应强度大的地方,磁通量不一定很大
【答案】
D
34.一根长为20 cm的通电导线,电流为0.1 A,处于匀强磁场中,方向与磁场垂直,受到的磁场力为4×10-3 N,则磁感应强度为_______T;若电流增大到0.2 A,此时磁感应强度为________T。
【答案】
0.2,0.2
35.已知磁感应强度为4×10-4 T的匀强磁场中,有一个跟磁场方向垂直、面积为2×10-4 m的平面,则穿过该平面的磁通量Φ=_________Wb。
【答案】
8×10-8
36.在垂直于磁场方向放置一个边长为2×10-2 m的正方形线框,穿过线框平面的磁通量为3×10-5 Wb,则该处磁感应强度的平均值为_______T。
【答案】
7.5×10-2
37.“磁感应强度就是磁通密度”的说法对吗?为什么?
【答案】
不对。磁感应强度是描述磁场强弱和方向的物理量,是矢量;磁通密度是从磁感线疏密描述磁场强弱的角度引出的物理量,是标量。
38.下列单位中与磁感应强度的单位T不相当的是( )。
(A)Wb/m2 (B)N/(A·m)
(C)N/(C·m) (D)kg/(s2·A)
【答案】
C
39.在匀强磁场中有一个半径为3×10-2 m的圆环,其平面的法线跟磁感线方向一致。已知磁感应强度为0.15 T,当平面转过90°(即转到其法线跟磁感线垂直)时,通过圆环的磁通量改变了__________Wb。
【答案】
4.24×10-4(减小)
40.
如图所示,一条形磁体其轴线与z轴平行,且在zy平面内,其中点在y轴上。现有四个圆形线圈,a在xz平面内,其轴线为y轴;b在yz平面内;c在zy平面内;d在zy平面内。下列说法正确的是( )。
(A)a、b、d磁通量为零
(B)b、c、d磁通量为零
(C)b、d磁通量为零,a、c磁通量不为零
(D)a、b、c、d磁通量均不为零
【答案】
A
41.
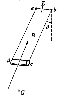
如图所示,有一金属短棒cd重为G,长为L,电阻为R,用质量不计的导线将其两端焊接,并在ab两点将它悬挂起来,接在电压为E的电源(内阻不计)上。当加一个与abcd平面平行的均匀磁场时,金属棒恰好处于平衡状态,平面abcd偏过竖直方向θ角,求:
(1)此时棒受到的磁场力为多大?方向如何?
(2)磁场的磁感应强度为多大?
【答案】
(1)F=Gsinθ,垂直于cd与B所在的平面向上
(2)B=\(\frac{{RG\sin \theta }}{{EL}}\)
42.请你设计一个DIS实验,要求利用磁传感器及DIS系统测定长直通电导线周围的磁感应强度B与电流I及离导线的距离r的关系。

(1)在虚线框中画出实验的装置图。[磁传感器的画法如图(a)、(b)所示,可选其一,电源、变阻器、电流表、导线、支架等,均只需画符号,不画实物]
(2)针对要记录的物理量设计出数据表格。
(3)写出简要的实验步骤。
(4)估计哪些因素会造成测量的误差,怎样避免或减小?
【答案】
装置如图所示。为避免地磁场干扰,该装置的平面应沿南北方向放置。

43.
如图所示,设计一个实验,估测电动玩具小汽车的效率。可选用的器材有:电动玩具小汽车、长木板、电流表、停表、直尺、弹簧测力计、量角器等。要求:
(1)画出实验示意图。
(2)说明要测定的物理量和使用的计算公式。
(3)列出数据记录表格。
(4)说明本实验中产生误差的可能原因。
【答案】
(1)实验示意图如图所示,让小车沿斜面向上做匀速运动。
(2)要测定的物理量是电源电压U(根据电池判断),电流I(由电流表读出),玩具汽车的重力mg(用弹簧测力计测得),斜面倾角θ,汽车的位移s,所需时间t等。根据P出=Fv=mgsinθ·\(\frac{s}{t}\),P入=IU,于是可用η=\(\frac{{mg\sin \theta \cdot s}}{{IUt}}\)求玩具汽车的效率。
(3)数据表格如右所示。
|
次数 |
1 |
2 |
3 |
|
θ |
|
|
|
|
s/m |
|
|
|
|
t/s |
|
|
|
|
I/A |
|
|
|
m=_______,U=_________
实验结论:
η1=________
η2=________
η3=________
\(\bar \eta \)=________
(4)造成误差的可能原因是:①由于存在摩擦阻力,汽车的牵引力F应略大于mgsinθ;②电源的实际输出电压U会略小于电池的额定值,实验中没有测实际电压;③从汽车中外接电表的电线一定程度上会影响小车的运动,给时间t或牵引力F的测量带来误差;④小汽车的运动不能完全看作匀速运动,实验时将它处理成匀速,也是造成误差的原因之一。
【解析】
本题属于“实验设计”,并不要求真正做这个实验。但它可以反映你研究性学习的水平。解答本题的要求是原理正确,方法合理,基本可行,对误差的估计符合实际。
44.电动机是______能转化为______能的装置。电动机的_____与_______之比叫做电动机的效率。由于电动机运行中总有_______,所以其效率不可能达到_______%。
【答案】
电,机械,输出功率,输入功率,能量损耗,100
45.简单的直流电动机由______和_______两部分组成,其中一个是永久磁铁,那么另一个就是__________。安装在电动机转轴上用来改变电流方向的装置叫_______,它必须通过______与电源相连接。
【答案】
定子,转子,线圈,换向器,电刷
46.如图所示,把通电线圈放入永久磁铁的匀强磁场中。问:

(1)图(a)中的线圈怎样转动?
(2)图(b)中,由上往下看线圈做顺时针转动,指出磁铁的N、S极。
(3)图(c)中,由上往下看线圈做逆时针转动,标出线圈中电流的方向。
【答案】
(1)由上往下看逆时针方向
(2)左边S极,右边N极
(3)线圈左边向上,右边向下
47.如图所示,在磁极两极间有一个线框。在(a)、(b)、(c)三种情况下,线框两条边的受力情况如何?转动情况如何?

【答案】
(a)左边受力向下,右边受力向上,逆时针转动
(b)上边受力向下,下边受力向上,逆时针转动
(c)上边受力向下,下边受力向上,不产生转动效果
48.
如图所示是一种转子和定子都有线圈的电动机原理图(换向器未画出),在图示状态,线框转动方向如图中箭头方向。试说明a、b两端,哪一端是电源的正极?哪一端是负极?(在线圈中画出电流方向和线框的受力方向)
【答案】
无论a、b哪端接电源正极,线框总是按图中箭头方向转动,也就是说它是一种单一转向的电动机
49.有一台电动机的效率是85%,请分析它的能量转换情况。
【答案】
电能的85%转换为机械能,其余15%电能转换为内能等其他形式能。
50.
如图所示是一提升重物用的直流电动机的电路图。已知电动机的内阻R机=0.5 Ω,电源电压U=4 V,电压表的示数U=3 V,电流表的示数I=0.1 A,g取10 m/s2。求:
(1)电动机的输入功率P入。
(2)如果重物质量m=0.1 kg,在t=3 s内匀速上升65 cm。那么,这个直流电动机的效率是多少?
【答案】
(1)0.3 W
(2)72%
51.
【小制作】制作一个简易的电动机
如图所示是一个用简单器材制成的简易电动机的照片。
制作简易电动机所用的器材是:1号干电池一节,较强的磁铁一块,金属片两条(可用铜片或易拉罐皮制),泡沫塑料一块(3.5 cm×2.5 cm×0.7 cm),漆包线一根(表面涂有高强度绝缘漆的铜丝,长约60 cm,直径约0.8 mm)。
制作时先将漆包线在泡沫塑料块上绕成线圈,两端留出部分作为转轴。然后刮去半根轴上的漆(如左上图)。最后用橡筋将金属片固定在电池两极上,中央装上磁铁,再装上线圈。用手推转一下线圈就会不断地转动。
【答案】
提示:刮去漆的部位在轴上接触铜片处,且是对着线圈的位置。
52.电动机的输出功率过大时转子可能会停止转动(例如转轴遇到很大阻力时),这种现象通常称为“卡转”或“卡死”。这时电流会很大,甚至会烧毁电动机。试从能量的角度解释这种现象,这时电动机的效率如何?
【答案】
“卡转”时输出的机械能为零,电能全部转化为内能。由于电动机线圈的电阻很小,电流很大,输入功率(IU)很大,发热功率很大,所以易烧毁电动机,此时电动机的效率为零。
53.
如图所示是人们早期发明的圆盘电动机,你能说明圆盘不停转动的原理吗?
【答案】
金属圆盘通电后,有电流从汞槽通过金属圆盘流入转轴,在磁场作用下,受到向左的磁场力,使圆盘顺时针转动。
54.有一台电动机的额定功率为500 W,效率为85%,用它直接提升重物,提升的速度为2 m/s。它能提起多重的物体?
【答案】
212.5 N
55.
如图所示为一种安装在电动自行车上的电动机,它具有直接驱动、低噪声,无废气、无油污等特点,而且它的能源利用效率也很高。右面的表格列出了该助动车上电动机的主要技术数据。试回答:
|
输入电压U/V |
36 |
|
输出功率P/W |
1000 |
|
额定电流I/A |
≤30 |
|
运行速度v/km·h-1 |
40 |
(1)它在额定状态下运转,电动机的效率为多大?
(2)在上述情况下估计助动车获得的牵引力约为多大?(不计机械等其他损耗)
【答案】
(1)92.6%(这是电动机效率,不是助动车效率)
(2)90 N
56.
如图所示是一架提升重物的卷扬机的结构图。皮带轮A的半径 r1 = 10 cm,B的半径 r2 = 40 cm,提升货物轴 C 的半径为 r3 = 10 cm,轮 B 与轴 C 是固定在一起的。今要使重 1600 N 的货物以 1 m/s 的速度匀速上升,电动机的转速多大?若电动机效率为 80%,则应选用多大功率的电动机?(其他机械损耗不计)
【答案】
6.37 rad/s,2 kW
57.试判断下列说法正确与否。
(1)丹麦物理学家奥斯特通过实验发现了电流的磁场和磁场对电流的作用,使人们认识到了电和磁之间有密切的联系。 ( )
(2)磁感线可以形象地描述磁场的强弱和方向,它起始于N极,终止于S极。 ( )
(3)磁场的基本特性是对处于磁场中的电流有力的作用,这个力的方向跟磁场方向、电流方向有关,可以用左手定则判定。 ( )
(4)磁感应强度B的单位是“T”,也可以用“Wb/m2”作单位。 ( )
(5)在匀强磁场中,磁通量的计算式“Φ=BS”表示:磁通量等于磁感应强度B与平面面积S的乘积。 ( )
【答案】
(1)×(2)×(3)√(4)√(5)×
58.下列关于电场线和磁感线的说法中,不正确的是( )。
(A)它们并不是电场或磁场中真实存在的曲线,只是用来形象化描述电场或磁场的一种方法
(B)两块带电平行金属板之间(除边缘部分)的电场线彼此平行且疏密均匀,可以看作匀强电场。在通电螺线管内部(除两端边缘部分)的磁感线互相平行且疏密均匀,也可以看作匀强磁场
(C)只有电场线才有起始位置(正电荷或无限远处)和终止位置(负电荷或无限远处);磁感线都是闭合曲线,没有起始位置和终止位置
(D)单个点电荷电场的电场线都是放射状直线;单个磁极的磁感线从它出来,回到它自己所在的位置进去
【答案】
D
59.
如图所示,一束带电粒子沿水平方向飞过小磁针上方,并与磁针指向平行。为了能使磁针的 N 极转向读者,那么这束带电粒子可能是( )。
(A)向右飞行的正离子束
(B)向左飞行的正离子束
(C)垂直纸面向外飞行的负离子束
(D)向左飞行的负离子束
【答案】
B
60.
如图所示,在同一平面内,同心的两个导体圆环中通以同向的电流时( )。
(A)两环都有向内收缩的趋势
(B)两环都有向外扩张的趋势
(C)内环有收缩的趋势,外环有扩张的趋势
(D)内环有扩张的趋势,外环有收缩的趋势
【答案】
D
【解析】
根据同向电流相互吸引这个推论,两环之间有相互吸引的磁场力。因此内环A有扩张趋势,外环B有收缩趋势。正确选项为D。
61.
如图所示,在匀强磁场区域内有一个光滑斜面,倾角为θ。在斜面上水平放置一根长为l、质量为m的导线中,通以如图所示方向的电流,通电导线恰好静止。则关于该匀强磁场的磁感应强度B的几种说法中,不可能的是( )。
(A)B=\(\frac{{mg\sin \theta }}{{Il}}\),方向垂直斜面向上
(B)B=\(\frac{{mg\sin \theta }}{{Il}}\),方向垂直斜面向下
(C)B=\(\frac{{mg}}{{Il}}\),方向水平向左
(D)B=\(\frac{{mg\tan \theta }}{{Il}}\),方向竖直向上
【答案】
B
62.
均匀U形金属框abcd置于匀强磁场中,它可以绕AP轴转动,如图所示。若导线中电流方向是由P到A,欲使导线平面往纸外转出α角后达到平衡,则磁场方向应是( )。
(A)竖直向下 (B)水平向左
(C)垂直纸面向外 (D)垂直纸面向里
【答案】
A
62.引起磁通量发生变化的因素有:(1)_____________;(2)______________;(3)_______________。
【答案】
(1)磁感应强度变化
(2)线圈面积变化
(3)线圈平面跟磁场方向的夹角发生变化
64.
如图所示,甲、乙两处有一处是电源,另一处是用电器。在中途用小磁针测试,发现P处小磁针N极指向纸外,Q处小磁针N极指向纸里。试判断甲、乙中哪一处是电源?
【答案】
乙处是电源
65.
如图所示,在扬声器的内部结构图中,接线端a、b加有与声音频率相同的电压。你能说明它的工作原理吗?
【答案】
线圈中的电流随电压的变化而变化,它所受的磁场力也随之发生变化,使纸盆随声音频率振动,将电信号转变为声音信号。
66.
如图所示是一个特制的天平,它的左边是一个置于磁场中的矩形线框,线框的宽度为2 cm,共有20匝,右边有一个盛砝码的盘,线框未通电时调节天平平衡。当线框中通以如图所示方向、大小为1.5 A电流时,右盘中要增加10 g砝码才能继续保持平衡,则线框所在处磁场的磁感应强度为多大?
【答案】
0.17 T
67.【小实验】利用地磁场估测磁极远端的磁感应强度
小磁针在只受地磁场作用时,其N极应指向北方,这个方向即地磁场磁感应强度B地的方向。如图所示,如果在东西方向水平面上放一个磁体,在磁体的轴线OOʹ上,离磁极N较远处的P点放一小磁针,假设没有地磁场存在,小磁针的N极应沿轴线指向右方,这个方向即磁体在该处产生的磁感应强度BP的方向,BP与B地是相互垂直的。

实际上P点既有磁体的磁场,又有地磁场,该处的磁场应是一个合磁场。因此,小磁针将静止在合磁场B合的方向上(设它与B地的夹角为θ)。
由于磁感应强度是一个矢量,它遵循矢量合成的法则,所以,B合即以B地和BP为邻边的平行四边形的对角线,即
\(\frac{{{B_P}}}{{{B_地}}}\)=tanθ,
BP=B地tanθ。
通常地磁场在水平面上的分量B地是已知的,一般为5×10-5 T。于是,可以通过实验来估测磁体远端某一点的磁感应强度的大小。
试用小磁铁(如一些铅笔盒上的)、小磁针(将缝衣针磁化后用细线悬挂着即可)和量角器等来做这个实验,测定离磁极10cm处的磁感应强度。
【答案】
注意点:磁针离磁极不能太近,使偏角不致太大。
68.
物理学家法拉第在研究电与磁的关系时,曾做过著名的“电磁旋转实验”,如图是实验原理图。这个实验的现象是:如果载流导线附近只有磁铁的一个极,磁铁就会围绕导线旋转;反之,载流导线也会围绕单独的某一磁极旋转。这一实验装置实际上就是最早的电动机“模型”。图中A是可动磁铁,B是固定导线,C是可动导线,D是固定磁铁。图中灰色部分表示汞,下部跟电源连接。请你判断这时A和C将怎样转动(自上向下看是顺时针还是逆时针转动)?
【答案】
A顺时针转动,C逆时针转动。
69.【课题研究】酸、碱、盐溶液是导电的
导电的液流在磁场中能不能显示磁场力作用的效果呢?你不妨设计一些实验进行研究分析。例如,细束导电水流在磁场中会不会偏转?两细束导电液流通以同向或反向电流会产生什么现象?通电的溶液会不会在磁场作用下旋转?通电的液面在磁场中会不会不再呈水平?等等。先作出假设,然后选择器材设计实验,写出实验报告或小论文。
【答案】
水流通以较大电流时会偏转;同方向电流会吸引;放在强磁铁上小盆中盛导电液,通电时会旋转。
70.人类对磁场的利用很多。例如,利用磁场进行电能和机械能的相互转变,人们制造出发电机、电动机;利用磁性材料的磁化和退磁,人们广泛使用了磁卡、磁盘、磁带;地磁场能为我们导航、寻矿等;在日常生活中,利用磁场也给我们带来了很大的方便。请你关注一下周围的生活环境,有哪些地方可以应用磁性使生活更方便。写出你的创意,并画出简单的设计示意图。
【答案】
如用磁体收集铁钉,存储硬币等。
2006 - 2026,推荐分辨率 1024*768 以上,推荐浏览器 Chrome、Edge 等现代浏览器,截止 2021 年 12 月 5 日的访问次数:1872 万 9823。 站长邮箱
