1.
如图所示,用细绳竖直吊着的小球下端接触一斜面,问小球受到几个弹力?
【答案】
1个
2.相互接触的两个物体之间是否一定存在弹力呢?如图所示,小球在A、B处有弹力吗?
【答案】
不一定。A处无,B处有
3.力是_____对_______的作用;力的作用效果是使物体发生_____________或________________。力学中常见的力按性质分类有______、__________和_________。
【答案】
物体,物体,形变,运动状态发生改变,重力,弹力,摩擦力
4.质量为50kg的人在上海地面所受的重力多大?在月球表面所受的重力又是多大?(上海的重力加速度为9.794m/s2,月球的重力加速度是地球表面的\(\frac{1}{6}\))
【答案】
489.7 N,81.6 N
5.
如图所示,一块均匀的且左右是对称的薄板悬挂在天花板下,试用直尺画出薄板的重心位置。
【答案】
如图所示,一块均匀的且左右是对称的薄板悬挂在天花板下,试用直尺画出薄板的重心位置。
6.弹力指的是发生_________的物体因要恢复原状,而对使它_____________的物体施加的力;弹力的方向总是跟物体形变的方向_________,且与接触面_______,物体间弹力的产生条件是____________,产生弹力的两物体必须___________,且发生___________。
【答案】
弹性形变,发生形变,相反,垂直,有接触且接触面间有挤压,接触,弹性形变
7.下列各种形变中属于弹性形变的是( )。
(A)把细钢丝弯曲成弹簧
(B)汽车开过软泥地时留下的轮胎纹印
(C)把铜锭压制成铜板
(D)弹簧测力计在称过重物后指针恢复到零刻度
【答案】
D
8.画出图中各静止物体受到的弹力的示意图。(要求画出图中A物体所受弹力的方向和作用点)

【答案】
略
9.
如图所示,手拉一放在地面上的箱子,箱子没有被拉动,画出这时箱子受到的重力、拉力、摩擦力和地面对箱子的支持力。这里的摩擦力属于哪一类?(货物可以看作质点 )
【答案】
如图所示,手拉一放在地面上的箱子,箱子没有被拉动,画出这时箱子受到的重力、拉力、摩擦力和地面对箱子的支持力。这里的摩擦力属于哪一类?(货物可以看作质点 )
10.
如图所示,排球运动员在扣球瞬间手与球相互接触,画出球受到的弹力(用F1表示),这个力是什么物体形变产生的?再画出手受到的弹力(用F2表示),它又是什么物体形变产生的?
【答案】
如图所示,排球运动员在扣球瞬间手与球相互接触,画出球受到的弹力(用F1表示),这个力是什么物体形变产生的?再画出手受到的弹力(用F2表示),它又是什么物体形变产生的?
11.以下关于弹力的说法中错误的是( )。
(A)只有发生弹性形变的物体,才会对它所接触的物体产生弹力的作用
(B)两个靠在一起的物体,它们相互之间一定有弹力作用
(C)就力的性质而言,压力、支持力、拉力都是弹力
(D)压力和支持力的方向总是垂直于接触面
【答案】
B
12.
如图所示,画一画拍球时网球受到的弹力,它是什么物体形变产生的?再观察一下球拍的网面是否也有形变?是否也受弹力 ?
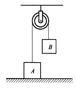
【答案】
如图所示,画一画拍球时网球受到的弹力,它是什么物体形变产生的?再观察一下球拍的网面是否也有形变?是否也受弹力 ?
13.
如图所示,画一画这个半球形物体所受的弹力。
【答案】
如图所示,画一画这个半球形物体所受的弹力。
14.两个小孩拉一辆车,一个用力450 N,另一个用力600 N,两力的夹角是90°,求他们的合力。
【答案】
F=750 N,F与分力F1的夹角α=53°
15.关于两个共点力的合力与两个分力的大小关系,下列说法中正确的是( )。
(A)合力的大小,一定比任意一个分力大
(B)合力的大小,至少大于其中一个分力
(C)合力的大小,一定等于两个分力的大小之和
(D)合力的大小,可以比两个分力都小,也可能比两个分力都大
【答案】
D
16.如果一个力作用在物体上,它产生的效果跟几个力共同作用在同一物体上的效果相同时,这个力叫做那几个力的______力,而那几个力叫做这个力的_____力。
【答案】
合,分
17.如图所示。在四幅物体的受力图中,物体各受三个力作用,其中肯定不属共点力的是( )。
【答案】
D
18.一个球重0.4 N,受到水平风的作用力是0.2 N,则球所受的合力是多大?方向与竖直方向成几度角?
【答案】
F合=0.45 N,tanθ=\(\frac{1}{2}\),θ=26.6°(可从计算器上求得)
19.
如图所示,一个光滑圆柱形锅炉用A、B两支座支撑着,每个支座对锅炉的作用力均为2000 N,两支座对锅炉作用力的合力为多大?(在原图上用作图法求出 )
【答案】
合力为3300 N(作图求得)
20.关于合力的叙述,错误的是( )。
(A)合力的作用效果与原来几个力的效果相同
(B)合力的性质一定与原来的力相同
(C)合力的大小一定不会比各力的代数和大
(D)两个互成180°的共点力的合力随夹角的减小而增大
【答案】
B
21.大小均为50 N的三个共点力,F1、F2、F3,在同一平面内互成120°角,则其合力为_______N;若F1、F2的方向不变,将F3在同一平面内转动60°,则三力的合力大小又为_______N。
【答案】
0,50
22.已知两个分力F1=3 N,F2=4 N,则它们的合力的最大值是_____N,最小值是_______N。当这两个力互相垂直时,其合力大小为_____N。
【答案】
7,1,5
23.请在图中,用作图法求解合力。

【答案】
略
24.一根绳子能承受的最大拉力为100 N,若两人沿相反方向拉绳,当每人用力达到_______N时,绳子会被拉断,若绳的一端被固定,一人用力拉绳子的另一端,则此人用力达到______N时,绳就会被拉断。
【答案】
100,100
25.
平面上有5个力作用在O点,如图所示,O点和各力的矢量终点恰好在一个正六边形的各顶点,这5个力中最小的力是1 N,那么这5个力的合力大小为________N。
【答案】
6
26.
如图所示,在野营时需要用绳来系住一根直杆,绳OA、OB、OC在同一平面内。OA、OB绳的拉力相同,夹角是90°。已经知道绳能承受的拉力跟绳的横截面积成正比,那么在这种情况下,选择OC绳的直径,应是OA或OB绳的几倍 ?
【答案】
\(\sqrt 2 \)
【解析】
本题既有实际意义,又不是能直接得到结果,有一定的难度。首先要分析出绳的拉力Fʹ可看成是OA与OB绳拉力F的合力(从图上看出OA与OB与OC是对称的,即OA与OB拉力相同)。从图上可以看出,F'=\(\sqrt 2 \)F,所以\(\frac{{F'}}{F}\)=\(\sqrt 2 \)。设绳的半径分别为r'和r,横截面积分别为S'、S。则\(\frac{{F'}}{F}\)=\(\frac{{S'}}{S}\)=\(\frac{{\pi {{r'}^2}}}{{\pi {r^2}}}\)=\(\frac{{{{r'}^2}}}{{{r^2}}}\)=\(\sqrt 2 \),所以\(\frac{{r'}}{r}\)≈1.2。即OC绳的直径约是OA、OB绳直径的1.2倍。
27.
如图所示,吊灯与OA和OB绳相交于O点,OB绳与竖直墙壁垂直,OA绳与天花板的夹角α=45°,吊灯总重20 N,吊灯通过绳子使O点受到一个竖直向下的力F,大小等于吊灯的重力,求力F沿OA、OB两根绳方向的分力大小。
【答案】
如图所示,吊灯与OA和OB绳相交于O点,OB绳与竖直墙壁垂直,OA绳与天花板的夹角α=45°,吊灯总重20 N,吊灯通过绳子使O点受到一个竖直向下的力F,大小等于吊灯的重力,求力F沿OA、OB两根绳方向的分力大小。
28.将一个力分解,可以有_______组解,力的分解方法是力的合成方法的________。若要将一个力分解为两个力得到唯一确定的解,须有附加条件:①____________或②_____________。
【答案】
无数,逆运算,已知一个分力的大小与方向,已知两个分力的方向
29.
在图中沿OA方向画一个15 N的力,它的一个分力方向沿OB,大小为6 N,用作图方法画出另一个分力的方向,并求这个分力的大小。
【答案】
用1 cm长度代表5 N,作为线段单位。在原图上作力的图示,得到另一个分力约为11 N。
30.
如图所示,一人通过箱带拉着一个旅行箱前进,拉力是12 N,箱带与水平面夹角是30°,则拉力的水平分力是多大?竖直分力是多大?
【答案】
水平拉力为6\(\sqrt 3 \)N≈10.4 N,竖直分力为6 N。
31.请在图中,用作图法求出已知力F的两个分力F1和F2。
【答案】
略
32.如图所示,请根据力的作用效果,在各图中,作出小球重力的两个分力。

【答案】
略
33.
如图所示,一个重200 N的光滑油桶搁在直角形槽内,槽壁AB与竖直方向夹角为30°,BC与竖直方向夹角为60°,求油桶对两槽壁的压力。
【答案】
100 N,100\(\sqrt 3 \) N
34.
图中帆板船的帆与船身成37°角,今有垂直于帆,大小为400 N的风力作用于帆面上,则船在前进方向上获得的推力为多大?在船的侧面所受的推力为多大?
【答案】
前进方向240 N,侧面320 N。
35.将一个大小等于20 N的力F分解成两个力。若其中一个分力的方向与F成30°角,另一个分力的大小为12 N,则分解的结果有______个解。
【答案】
2
36.
如图所示,用两根绳子OA和OB系住一重物,绳OA固定于A点,手拉绳OB使OB由水平位置逐渐转向OBʹ方向,同时保持OA与天花板夹角θ(θ>45°)不变,在这一过程中绳OB所受的拉力大小将( )
(A)始终减小
(B)始终增大
(C)先减小后增大
(D)先增大后减小
【答案】
C
37.
有一只四个人也难推动的大橱,仅你一个人居然也能移动它,信不信?
你可按下面的办法去试试:找两块木板,它们的总长度略大于橱与墙壁之间的距离,搭成一个人字形(图中A、B),两个底角要小,这时你往中央一站,大橱被推动了。
(1)为什么木板能产生很大的推力?
(2)这与你学过的哪一知识很类似?
(3)有什么办法把大橱推得更远?
【答案】
(1)画出两个分力如图(a)所示,由于底角θ很小,所以两个分力比人对板的压力大得多,因而能推动大橱。
(2)跟学过的“劈”相类似。
(3)可以不断更换长板,或在墙脚边加入砖块[图(b)]

38.
【小实验】测一根细线(或头发)能承受多大的力。
如图所示,在一根长度已知的细线的中央悬挂着重力已知的重物,然后沿着尺将双手慢慢分开,观察分开到什么距离时线断了,就可计算细线能承受的最大拉力。
请做这个实验并计算出细绳能承受的最大拉力。
【答案】
提示:实验用的细线不能太牢固,用纸条来做实验效果会更明显。要求记下数据,求出线受到的最大拉力。
39.重为G的球,置于倾角为α的光滑斜面上,下方用垂直斜面的挡板挡住,使球静止,求:
(1)斜面对小球的支持力FN1。
(2)挡板对小球的压力FN2。
(3)若挡板竖直放置,挡板对球的压力和斜面对球的支持力又等于多少?
【答案】
(1)FN1=Gcosα
(2)FN2=Gsinα
(3)FN1=\(\frac{G}{{\cos \alpha }}\),FN2=Gtanα
40.
如图所示,质量为m的滑块静止在倾角为θ的斜面上,求它受到的斜面的支持力和摩擦力的大小和方向。
【答案】
mgcosθ,mgsinθ,方向略。
41.有两个大小分别为6 N和8 N的力互成90°,作用于一个质点上。要使质点平衡,还应加一个多大的力?方向如何?
【答案】
10 N,方向与8 N的力成143°。
42.在水平面上有如下两组共点力:A.3 N、4 N、6 N,B.1 N、2 N、4 N,先后作用于同一物体,物体能否保持平衡,为什么?
【答案】
A组能平衡,B组不能平衡。A组中两个较小的力相加大于最大的力,总合力可为零,B组则不能。
43.一个物体受到5 N、7 N、9 N、12 N、20 N等多个共点力的作用,处于平衡状态,现将9 N那个力突然反向(其余力不变),为了维持平衡,应加多大的力?这个力的方向如何?
【答案】
还应加18 N的力与原9 N力的方向一致。
44.
如图所示,竖直墙上A点用AB细线悬挂一个光滑小球,小球质量为m=1 kg,半径r=3 cm,细线AB长l=2 cm,C为接触点。(g取10 m/s2)试求:
(1)AB绳对球的拉力。
(2)墙在C点对球的压力。
(3)设AB绳所受的拉力F,墙对球的支持力为FN,则当悬线AB增长时,拉力F将_______,支持力FN将_______。(均选填“增大”“减小”或“不变”)
【答案】
(1)12.5 N
(2)7.5 N
(3)减小,减小
45.
如图所示,用一个水平力F推放置在粗糙斜面上的物体A,使它静止在斜面上,则物体A受到力的个数是( )。
(A)3个 (B)4个
(C)3个或4个 (D)4个或5个
【答案】
C
46.
如图所示的悬绳能承受的最大拉力是200 N,现用它悬挂一个重100 N的物体A。再在绳上P点用同样的绳系住,并水平缓缓拉绳使OP逐渐偏离竖直方向,试说明绳的哪一部分可能先断裂,断裂时OP偏过的角度为多大?
【答案】
OP部分先断裂,OP与竖直方向夹角为60°
47.
两个物体A和B,质量分别为m和mʹ,用跨过定滑轮的轻绳相连,A静止在水平面上,如图所示,不计摩擦,A对绳的作用力大小与地面对A的作用力大小分别是( )。
(A)mʹg、mg (B)(m-mʹ)g、mg
(C)mʹg、(m-mʹ)g (D)(m+mʹ)g、(m-mʹ)g
【答案】
C
48.
如图所示,牵引汽车正在将重为G的货物从洼地拉至地面,此时绳索与水平面夹角为α=15°,货物表面与水平面的夹角为θ=45°,不计摩擦,求此时绳索对货物的拉力。
【答案】
\(\frac{{\sqrt 3 }}{6}\)G
49.
如图所示,一块质量分布不均匀的薄板,两次悬挂在天花板下,试用作图的方法找出重心的位置。
【答案】
略
50.
如图所示的光滑圆球A支撑在尖端B和斜壁C上,试画出B对A和A对C的弹力;它们分别是______和______形变而产生的。
【答案】
画弹力略,B,A
51.试画出一个10 N和一个20 N且互成30°角的两个力的合力。
【答案】
略
52.在进行“研究共点力的合成”的实验中,下列操作是否正确或必要?(用√或×表示)
(A)将橡皮筋的一端固定,另一端套上两个绳套。( )
(B)将两个弹簧测力计分别钩住绳套,互成角度地将橡皮筋拉长至某一位置。( )
(C)记录橡皮筋的原长和伸长的长度。( )
(D)记下结点的位置,在读取弹簧测力计数值时,手应按住结点不动。( )
(E)记下拉力(即绳套)的方向。( )
(F)用一个弹簧测力计代替两个弹簧测力计将结点拉到原伸长的位置,记下示数和方向。( )
(G)用平行四边形定则画合力,通过修改使画出的合力尽可能与真实合力相符。( )
(H)改变拉力的夹角再做几次。( )
【答案】
(A)对(B)对(C)错(D)错(E)对(F)对(G)错(H)对
53.12 N、5 N和6 N三个共点力的合力,最大值是_____N,最小值是______N。
【答案】
21,1
54.一个80 N的力分解为两个力,其中一个分力是100 N,另一个分力与合力垂直,这个力的大小是_____N。
【答案】
60
55.
如图所示,一端系有定滑轮的绳子,另一端固定在左壁上。另一根跨过定滑轮的绳子下端挂有重物G,另一端固定在右壁上,跨过定滑轮的两段绳子互成直角。OA、OB和OC三段绳的拉力各是多大?
【答案】
\(\sqrt 2 \)G、G、G
56.
如图所示,天花板下用两根细绳系一重为G的物体,OB、OC与竖直方向间的夹角均为45°,它们在同一平面内,同时用弹簧测力计竖直向上拉物体,弹簧测力计的拉力为(\(\sqrt 2 \)-1)G。求每根绳受力的大小。
【答案】
(\(\sqrt 2 \)-1)G
57.
如图所示,木工常用木楔来固定木榫,如图,直角三角形楔子底边长35 mm,高5 mm,今用水平力F打入楔子时,木楔侧面能产生多大的挤压力?(摩擦不计 )
【答案】
7F
58.
图中是一种普通的拉链,很多个搭扣B固定在两边布条上,B的端部上面凸起,下面凹陷,每两个搭扣恰能交错结合,互相卡住。A是一段很短的导轨,尖劈C是A的一部分,图中黑色部分表示导轨的剖面,向上拉动导轨,拉链就闭合;向下拉动导轨,拉链就分开。试分析其力学原理(分析重点是A、C)。
【答案】
拉链开关上的斜劈C使搭扣受到分力而分离,而拉链开关上的斜槽A使搭扣受到分力而结合。
59.
如图所示,攀崖运动员连同装备总质量为160kg,处在如图状态时手受到的拉力和脚受到的作用力恰好通过他的重心,两力大致垂直。估计此时手受到的拉力约多大?
【答案】
800 N
60.
如图所示,一位大力士用牙齿拉动一辆大卡车,缓缓地前进,从图中可以看出大力士身体后倒倾斜,绳子是斜向上方的。试分析卡车和人所受绳的拉力的有关分力,并说明这些分力所起的作用。
【答案】
拉力可分解为竖直向上的分力和水平向前的分力,前者有减小对地面压力的作用,后者有使汽车向前运动的作用,人受到向左的分力和向下的分力,向下的分力增大了人对地面的压力,从而增大了摩擦力。
61.求图所示4个力的合力大小和方向,合力的方向用它与水平方向的夹角表示。

【答案】
11.2 N,与水平方向夹角是10.4°(第四象限内)。
62.
【小实验】估测风力和浮力
如图所示,一个氢气球系在水平栏杆上,由于水平风力的作用气球与竖直方向有一定的偏角,气球本身重力不计。现给你一个弹簧测力计,一个量角器,如何估测风力和浮力?选择恰当的方案进行实地测量。
【答案】
略
63.【课题研究】风对球的作用力与哪些因素有关?
研究风速一定的情况下球受风的作用力与球的质量、大小的关系,选用的器材是塑料球(用双线悬挂起来)、家用电扇(风力不太大)、量角器或刻度尺等(如图)。
要求:
(1)组成研究小组。
(2)讨论方案。
怎样保持球的大小不变,而改变其质量,研究F与m的关系?
怎样保持球的质量不变,改变球的横截面积,研究F与S的关系?
球表面的光滑程度是不是一个应该控制的因素?
(3)设计实验步骤、记录数据的表格。
(4)进行实验探究、采集数据、处理数据、得出结论。
(5)写出实验报告或论文,在班级中交流。
【答案】
【课题研究】风对球的作用力与哪些因素有关?
研究风速一定的情况下球受风的作用力与球的质量、大小的关系,选用的器材是塑料球(用双线悬挂起来)、家用电扇(风力不太大)、量角器或刻度尺等(如图)。
要求:
(1)组成研究小组。
(2)讨论方案。
怎样保持球的大小不变,而改变其质量,研究F与m的关系?
怎样保持球的质量不变,改变球的横截面积,研究F与S的关系?
球表面的光滑程度是不是一个应该控制的因素?
(3)设计实验步骤、记录数据的表格。
(4)进行实验探究、采集数据、处理数据、得出结论。
(5)写出实验报告或论文,在班级中交流。
2006 - 2026,推荐分辨率 1024*768 以上,推荐浏览器 Chrome、Edge 等现代浏览器,截止 2021 年 12 月 5 日的访问次数:1872 万 9823。 站长邮箱
