1.
装饰用的彩灯,串成一串串,接在220V电源上,观察灯的结构发现,每个灯的灯丝(R1)引线绕有金属电阻丝(R2),如图所示,即使R1断了,R2仍能导电。根据工作特性,R1应该______R2(选填“大于”、“等于”或“小于”),当其中一个或几个灯的灯丝断了,其余的灯将______(选填“变亮”、“变暗”或“完全熄灭”)
【答案】
小于;变暗
【解析】
本题涉及电阻串、并联的问题。由题意可知每个彩灯之间是串联,灯丝R1与金属电阻丝R2并联,其作用是当其中一个彩灯坏了将不影响其他彩灯的工作。当一串彩灯正常工作时,灯丝电阻R1小于金属电阻丝R2,灯丝才能获得较大电流;当其中一个彩灯坏了,即灯丝电阻R1断了,金属电阻丝R2仍能导电,所以不影响其他彩灯的工作。但由于坏灯的电阻是金属电阻丝R2,大于R1与R2并联时的电阻,整个电路的电流将会减小,所以,其余彩灯将会变暗。
3.
如图所示是一个简单家用双门小轿车的车门报警逻辑电路图,图中的两个按钮开关分别装在汽车的两扇门上。只要打开任意一扇门,即电路中任何一个开关处于断开状态,发光二极管就发光报警。请你根据报警装置的要求,在电路图的虚线框内画出门电路符号,并完成该门电路的真值表。
|
输入 |
输出 |
|
|
A |
B |
Z |
|
0 |
1 |
1 |
|
1 |
0 |
|
|
0 |
0 |
0 |
|
1 |
1 |
|
【答案】
门电路符号:
;表中两空格均“1”。
4.如图所示,A、B是某门电路输入端的电信号,Z是其输出电信号,则该门电路是_____门,其符号为_____。

【答案】
与,
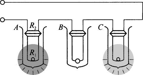
5.智能化自动控制系统通常由______、______和______组成。使用模块电路进行楼道自动灯控制,要求白天灯不亮,夜晚有声响时灯才亮,则其输入端需要使用______传感器和_____传感器。
【答案】
传感器,控制器,执行器,光,声
9.“
”、“
”是两种门电路符号。它们分别属于( )
(A)“与门”和“或门” (B)“或”门和“与门”
(C)“与”门和“非门 (D)“或门”和“非”门
【答案】
B
12.当电路中的电流超过熔丝的熔断电流时,熔丝就要熔断。由于种种原因,熔丝的横截面积略有差别。那么熔丝熔断的可能性较大的是( )
(A)横截面积大的地方
(B)横截面积小的地方
(C)同时熔断
(D)可能是横截面积大的地方,也可能是横截面积小的地方
【答案】
B
13.用多用电表测量时,完成下列问题。
(1)一多用电表测量时,指针指示如左图所示。如选择开关置于直流电压2.5 V挡时,其示数为______V;当选择开关置于电流100 mA挡时,则表的示数为_____mA;当选择开关置于右图所示位置时,则被测电阻值为______Ω。


(2)若继续用该表测量另一阻值约为300 Ω的电阻,应将选择开关旋至倍率为______挡,并在测量电阻前先进行______操作。
【答案】
(1)1.3,52,2200
(2)×10,调零
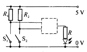
14.用多用表可以分别测量电流、电压和电阻等物理量,其中刻度盘上划度分布不均匀的物理量为______。用多用表测量一只电阻的阻值,下列给出了必要的操作步骤:
①将红、黑表笔短接,调节欧姆挡调零旋钮,使指制指在右端的0Ω刻度处;
②根据被测电阻的估计值,选择欧姆挡的适当倍率;
③将选择开关旋到OFF挡;
④将红、黑表笔分别接到被测电阻两端的引线上;
⑤将指针所指刻度值乘以所选倍率,得到被测电阻的阻值。
将以上步骤前的字母,按正确的操作顺序排列_____________。
【答案】
电阻,②①④⑤③
20.
如图所示,一只鸟站在一条通过500 A电流的铝质裸导线上。鸟两爪间的距离是5 cm。该输电铝导线每米的电阻为1.57×10-4 Ω。则鸟两爪间的电压为____V。
【答案】
3.9×10-3
21.对接入某电路中的用电器,下列说法中正确的是( )
(A)工作时间相同,额定功率较大的用电器消耗电能不一定较多
(B)用电器两端所加电压越大,其额定功率也越大
(C)用电器内通过的电流越大,其额定功率也越大
(D)通电时间越长,它的电功率越大
【答案】
A
22.
如图所示,A、B两盏电灯完全相同,当滑动变阻器的滑片向左移动时,则(设电灯的电阻保持不变,电源电压不变)( )
(A)A灯变亮,B灯变亮
(B)A灯变暗,B灯变亮
(C)A灯变亮,B灯变暗
(D)A灯变暗,B灯变暗
【答案】
B
23.
家用电热灭蚊器中电热部分的主要元件是PTC,PTC元件是由钍酸钡等半导体材料制成的用电器,其电阻与温度的关系如图所示,由于这种特性,因此PTC元件具有发热、控温双重功能。则下列判断中正确的是( )
(A)通电后,其电功率一直增大
(B)通电后,其电功率保持不变
(C)当其产生的热量与散发的热量相等时,温度保持在T1或T2不变
(D)当其产生的热量与散发的热量相等时,温度保持在T1~T2的某一值不变
【答案】
D
24.
用伏安法测灯泡电阻时,若将电流表和电压表的位置接成如图所示电路,可能出现的情况是( )
(A)电流表烧坏 (B)电压表示数为零
(C)灯泡不亮 (D)灯泡烧坏
【答案】
C
25.
多用电表的电阻挡有×1、×10、×100三个倍率,现用×10挡测量某电阻时,操作步骤正确,发现表头指针偏转角度很小,为了较准确地进行测量,应换到____挡。如果换挡后立即用表笔连接待测电阻进行读数,那么缺少的步骤是______;若补上该步骤后测量,表盘的示数如图所示,则该电阻的阻值为____Ω。
【答案】
×100,重新调零,2200
26.某同学使用多用电表测电阻时,按如下步骤进行:
(1)把选择开关旋到“×100”的欧姆挡;
(2)把表笔插入测试杆插孔中,先把两表笔相接触。旋转调零旋钮,使指针指在电阻刻度的零位上;
(3)把两表笔分别与某一待测电阻的两端相接,发现这时指针偏转较大;
(4)换用“×10”的欧姆挡,发现指针偏转适中,随即记下多用电表的示数;
(5)把表笔从测试杆插孔中拔出后,就把多用电表放回桌上原处,实验完毕。
该同学在测量时已经注意到:待测电阻与其他元件及电源断开;不用手碰到表笔的金属杆部分,请问这位同学在实验中违反了哪些重要的实验操作规则?
①___________________________;②________________________________。
【答案】
换用“×10”欧姆挡后应重新调零
测量结束应把选择开关旋到OFF挡(或:交流电压最大量程挡)
27.用模块电路设计一盏自动控制路灯:当有人进入过道时路灯自动点亮;当人离开时路灯继续点亮一段时间后自动熄灭。请写出初步的设计方案(提示:使用延时程序)
【答案】
传感器;红外线传感器;控制器;延时控制器;执行器;灯
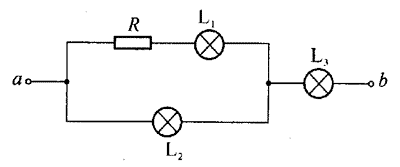
28.
规格小同的三只小灯泡L1、L2、L3与定值电阻R连接如图所示。当在ab两端加上的电压为U时,三灯泡的实际功率正好相等,若将三灯泡并联接入电路,哪个功率最大?哪个功率最小,试通过计算列式说明。(设电灯的电阻保持不变)
【答案】
P3>P1>P2
29.
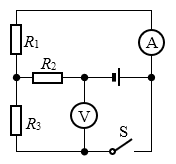
如图所示的电路中,电源电压15 V,R1=R3=10 Ω,R2=5 Ω,问:
(1)当电键S断开时电流表和电压表的示数各为多少?R1及R2消耗功率各为多少?
(2)当S闭合时,电压表和电流表的示数各为多少?
(3)当S闭合时,电源的总功率及R3的功率各为多少?
【答案】
(1)5 V,1 A,10 W,5 W
(2)15 V,0.75 A
(3)22.5 W,5.625 W
2006 - 2026,推荐分辨率 1024*768 以上,推荐浏览器 Chrome、Edge 等现代浏览器,截止 2021 年 12 月 5 日的访问次数:1872 万 9823。 站长邮箱
