1.质量为m的小球系于绳子的一端,绳子的另一端固定于光滑水平面上的O点,小球以水平速度v在该水平面上以O点为圆心,做半径为L的匀速圆周运动一周,绳子拉力对小球做的功为_________。
【答案】
0
2.把质量为m的物体竖直向上抛出,运动过程中所受空气阻力的大小恒为f,上升的最大高度为H,则上升和下降的整个过程中重力对物体做的功为_______。整个过程中空气阻力对物体做的功为_______。
【答案】
0,-2fH
3.用一水平拉力使质量为m=50 kg的物体沿水平路面匀速前进了s=20 m,物体与路面间的动摩擦因数为μ=0.2。在此过程中,重力对物体做的功是_______J,弹力对物体做的功是_______J,物体克服摩擦力做的功是_______J,水平拉力做的功是_______J。
【答案】
0,0,2000,2000
4.起重机在2 s内把质量为1 t的货物匀减速地提高2 m而静止,起重机拉力对货物做的功为_______J,重力对货物做的功为_______J。
【答案】
18000,-20000
5.用与水平面成θ角斜向下的推力F,推动质量为m的木块,沿水平面移动距离s,木块与水平面间的动摩擦因数为μ,则此过程中F力对木块所做的功为_______,摩擦力对木块做的功为_______。
【答案】
Fscosθ,-μ(mg+Fsinθ)s
6.质量为m=80 kg的物体在水平拉力作用下从静止开始沿水平地面运动,2 s内移动了4 m,物体与地面间的动摩擦因数为0.25,则拉力所做的功为_______J。
【答案】
1440
7.水平地面上有一块重为2 N的静止石块,小孩用大小为10 N的力踢石块,使石块滑行了1 m,则小孩对石块所做的功为( )。
(A)10 J (B)2 J (C)12 J (D)条件不足,无法确定
【答案】
D
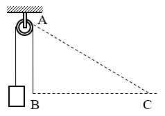
8.用恒力F沿光滑水平面拉质量为m的物体由静止起运动时间t,拉力F和水平方向成α=60°角斜向上,要使拉力所做功扩大到原来的2倍,可以采取的措施是( )。
(A)拉力增至2F,其他不变 (B)质量变为m/2,其他不变
(C)时间扩大为2t,其他不变 (D)α变为0°,其他不变
【答案】
B
9.
如图所示,质量为m的物体在水平推力F作用下,沿倾角为θ的斜面向上移动距离s,物体与斜面间的动摩擦因数为μ,则推力对物体做的功为( )。
(A)Fscosθ (B)Fssinθ
(C)μmgcosθ (D)(μmgcosθ+Fsinθ)s
【答案】
A
10.
如图所示,三个质量相同的物体静止于同一光滑水平面上,分别施以三个不同方向的外力,使它们以相同的加速度运动了相同时间,则三个力对物体做功的大小关系是( )。
(A)W1>W2>W3 (B)W1<W2=W3
(C)W1<W2<W3 (D)W1=W2=W3
【答案】
D
11.
如图所示,质量为 m 的物体始终固定在倾角为 θ 的斜面上,问:
(1)若斜面向右匀速移动距离 s,斜面对物体做多少功?
(2)若斜面向上匀速移动距离 s,斜面对物体做多少功?
(3)若斜面向左以加速度 a 匀加速移动距离s,斜面对物体做多少功?
(4)若斜面向下以加速度 a 匀加速移动距离s,斜面对物体做多少功?
【答案】
(1)0
(2)mgs
(3)mas
(4)-m(g-a)s
12.一质量为m、边长为a的正方体木箱放在水平地面上,与地面间的动摩擦因数为μ。问:
(1)一个人用水平力将木箱沿直线缓缓推动距离na,此人对木箱做了多少功?
(2)若此人将木箱慢慢翻滚距离na,人对木箱又做了多少功?
(3)在什么条件下翻滚比推动做功少?
【答案】
(1)μmgna
(2)mgna\(\frac{{\sqrt 2 {\rm{ - }}1}}{2}\)
(3)μ>\(\frac{{\sqrt 2 {\rm{ - }}1}}{2}\)
13.
如图所示,一根木棒与水平桌面成α角放置,沿水平桌面从M点运动到N点,MN间的距离为s,棒与桌面间相互作用的摩擦力大小为f,那么棒克服桌面摩擦力做的功为_______,桌面克服摩擦力做的功为_______。
【答案】
fs,0
14.用一与斜面平行的拉力,把一个质量为m=100 kg的物体沿长为L=5 m、高为H=3 m的斜面从其底端匀速拉到顶端,物体和斜面间的动摩擦因数为μ=0.1。在这个过程中,重力对物体做的功为_______J,物体克服摩擦力做的功为_______J,拉力对物体做的功为_______J。
【答案】
-3000,400,3400
15.一根粗细不均匀的木棒长为L,水平放在地面上,抬起木棒右端用力F1,抬起木棒左端用力F2,则以右端为支点,将此棒缓慢竖立起来,至少要做的功为_______。
【答案】
F2L
16.
如图所示,一个质量为m的小球,用长为L的轻绳悬挂于O点,小球在沿水平方向的拉力F作用下,从平衡位置P缓慢地移动到Q点,此时绳与竖直方向间的夹角为α,在此过程中水平拉力对小球做的功为_______。
【答案】
mgL(1-cosθ)
17.一个均匀长方体物块的三条边长分别为a、a和2a,重为G,将它从原来横放状态竖立起来,在此过程中,推力做的功至少为_______。
【答案】
(\(\sqrt 5 \)-1)Ga/2
18.
如图所示,在倾角为θ的斜面体上静止着一个质量为m的物体,当斜面体在水平面上向右匀速运动距离s时,物体克服斜面弹力做的功为_______,静摩擦力对物体做的功为_______,重力做的功为_______。
【答案】
mgscosθsinθ,mgscosθsinθ,0
19.
如图所示,一小物块放在光滑斜面上,斜面又放在光滑水平地面上。从地面上看,在小物块沿斜面下滑的过程中,斜面对小物块的作用力( )。
(A)垂直于接触面,做功为零
(B)垂直于接触面,做功不为零
(C)不垂直于接触面,做功不为零
(D)不垂直于接触面,做功为零
【答案】
B
20.质量为M的物体,受到一个水平拉力F的作用,在粗糙水平地面上运动,则( )
(A)如果物体做匀加速运动,F必对物体做正功
(B)如果物体做匀减速运动,F必对物体做负功
(C)如果物体做匀减速运动,F可能对物体做正功
(D)如果物体做匀速运动,F必不做功
【答案】
AC
21.斜面长为s、高为h,质量为m的物块恰能沿此斜面匀速下滑。若将物块由斜面底拉到斜面顶,则拉力对物块做的功至少为( )。
(A)mgh (B)2mgh (C)mgs (D)2mgs
【答案】
B
22.
如图所示,人通过光滑定滑轮和轻绳拉住一个质量为m的物体,当人从A点沿水平方向缓慢走到B点时,绳由竖直方向变为与水平方向成α角。已知AB间的距离为s,则人对绳子的拉力所做的功为( )。
(A)mgscosα (B)mgs/cosα
(C)mgs (D)mgs(1-sinα)/cosα
【答案】
D
23.如图所示,均匀直杆长为L、重为G,上端铰接于O点。
(1)用水平恒力F拉杆的下端,使它转到与竖直方向成60°角为止,求此过程中拉力所做的功。
(2)用水平力F拉杆的下端,使它缓慢抬起,到杆与竖直方向成60°角为止,求在此过程中拉力所做的功。
【答案】
FL/4,GL/4
24.
如图所示,两个底面积均为S的圆桶,放在同一水平面上,桶内装有水,水面高度分别为h1和h2,水的密度为ρ。现把连接两桶底部的阀门打开,最后两桶水面高度相等,求在此过程中重力所做的功。
【答案】
ρgS(h1-h2)2/4
25.一个质量为m的物体,在恒定合外力F的作用下由静止开始做直线运动,则在t时刻F力的即时功率P=_______,时间t内F力的平均功率P′=_______,时间t内F力所做的功W=_______。
【答案】
F2t/m,F2t/2m,F2t2/2m
26.一起重机吊着质量为m1=2 t的重物时,匀速向上提升时的速度大小为v1=2 m/s。若保持起重机功率不变,起吊质量为m2=4 t的重物时,匀速向上提升时的速度大小为v2=____m/s。
【答案】
1
28.一个质量为m=2 kg的物体从某一足够高处自由落下,不计空气阻力,则在它下落过程中的第3 s末重力做功的即时功率为_______W,在它下落过程中的第3 s内重力做功的平均功率为_______W,在它下落过程的前3 s内重力所做的功为_______J。
【答案】
600,500,900
28.光滑水平面上有一物块,以水平力F拉物块由静止起运动时间t,拉力做的功为W,拉力的平均功率为P。如果用水平力2F拉物块由静止起运动2t时间,其他条件不变,则拉力做的功为_______W,拉力的平均功率为_______P。
【答案】
16,8
29.用竖直向上的拉力将质量为20 kg的物块以2 m/s的速度匀速向上提升10 m,拉力所做的功为_______J,拉力做功的功率为_______W。若将物块从静止开始以2 m/s2的加速度竖直向上提升10 m,拉力所做的功为_______J,拉力做功的平均功率为_______W。
【答案】
2000,400,2400,240\(\sqrt {10} \)
30.质量为m=5×103 kg的小汽车,在水平路面上由静止起做加速度为a=2 m/s2的匀加速直线运动,所受的阻力大小为f=1×103 N,汽车启动后t=1 s末牵引力的即时功率为______W。
【答案】
22000
31.设在平直公路上以一般速度行驶的一辆自行车,所受的阻力约为车和人总重的0.02倍,则骑车人的功率接近于( )。
(A)10-1 kW (B)10-3 kW (C)1 kW (D)10 kW
【答案】
A
32.如图所示,分别用力F1、F2、F3,使质量为m的物体,由静止起沿同一光滑斜面以相同的加速度从斜面底端运动到顶端。在此过程中,三个力的平均功率分别为P1、P2、P3,则三者的关系正确的是( )。

(A)P1=P2=P3 (B)P1>P2=P3
(C)P1<P2=P3 (D)P1>P2>P3
【答案】
A
33.汽车行驶时所受阻力的大小和行驶的速度大小成正比。当汽车发动机的功率为 P 时,汽车做匀速运动的速度大小为 v;当汽车发动机的功率变为 3P 时,其匀速运动的速度大小变为( )。
(A)3v (B)9v (C)\(\sqrt 3 \)v (D)3\(\sqrt 3 \)v
【答案】
C
34.一辆汽车,以相同的牵引力在水平的:(1)柏油路上,(2)碎石子路上,由相同初速度开始前进相同距离。设在此过程中,发动机所做的功分别为W1和W2,发动机做功的平均功率分别为P1和P2,则( )。
(A)W1=W2,P1=P2 (B)W1>W2,P1>P2
(C)W1>W2,P1>P2 (D)W1=W2,P1>P2
【答案】
D
35.用竖直向上的拉力以下列两种方式将一个质量为m=40 kg的物体向上提升高度H=7.5 m,物体所受空气阻力大小为50 N,求在提升过程中物体克服重力做的功及拉力做功的平均功率。
(1)以v=3 m/s的速度匀速提升。
(2)由静止开始以大小为a=3.75 m/s2的加速度提升。
【答案】
(1)3000 J,1350 W
(2)3000 J,2250 W
36.汽车的质量为m=4000 kg,以恒定的功率在水平面上行驶,所受的阻力大小恒为车重的0.1倍,汽车发动机保持额定功率为P=60 kW。问:
(1)当汽车的速度为v=10 m/s时,发动机的牵引力及这时汽车的加速度多大?
(2)汽车的速度再增加时,牵引力将如何变化?
(3)当车速达到多大时汽车将做匀速运动?
【答案】
(1)6000 N,0.5 m/s2
(2)减小
(3)15
37.一质量为m=10 kg的静止物体与水平地面间的动摩擦因数为μ=0.2,受到一个大小为F=100 N、与水平方向成α=37°、斜向上的拉力作用而运动。若作用时间为t=2 s,则拉力对物体做的功为_______J,物体克服摩擦力做的功为_______J,2 s末力F做功的即时功率为_______W。
【答案】
1152,115.2,1152
38.用平行于斜面的、大小为F=10 N的拉力沿斜面把一物体从斜面底拉到斜面顶端共用时间t=2 s,已知斜面长L=2 m,物体到斜面顶端时的速度大小v=2 m/s,在此过程中拉力做功的平均功率为_______W,在斜面顶端时拉力的即时功率为_______W。
【答案】
10,20
39.质量为m的汽车,在水平路面上以速度v做匀速运动时发动机的功率为P,当它以相同的速率沿倾角为θ的斜坡匀速上坡时(设平路和斜坡的动摩擦因数相同),发动机的功率应为_______。当关闭发动机时,汽车可沿某斜坡匀速下滑,则该斜坡倾角的正切值等于_______。
【答案】
mgvsinθ+Pcosθ,P/mgv
40.有一辆质量为m=2 t的汽车,其发动机的额定功率为P=80 kW,它在平直公路上行驶的最大速度可达vmax=20 m/s,则其所受到的运动阻力大小为_______N。现此汽车由静止起以大小为a=2 m/s2的加速度做匀加速直线运动,t=3 s末汽车发动机的即时功率为_______W。
【答案】
4000,48000
41.
如图所示,利用动滑轮吊起质量m=2 kg的物体,已知竖直向上的拉力F=18 N,滑轮与绳子的摩擦及重力均不计,则当用了t=2 s的时间,物体上升高度为H=1 m时,物体克服重力做功的功率为_______W,拉力做功的平均功率为_______W。
【答案】
10,18
42.一辆汽车以恒定的功率在水平公路上加速行驶,运动过程中受到的阻力大小恒为车重的1/10,汽车能达到的最大速度为v,则当汽车速度为v/3时,其加速度为_______。
【答案】
0.2g
43.汽车在启动阶段的匀加速运动过程中,下列说法中正确的是( )。
(A)牵引力增大,功率增大 (B)牵引力不变,功率增大
(C)牵引力增大,功率不变 (D)速度增大,功率不变
【答案】
B
44.质量为m=5 t的卡车在水平公路上行驶,阻力是车重的0.1倍,卡车在额定功率为P=60 kW的条件下从某一较小的初速度开始行驶,那么( )。
(A)车速为2 m/s时,卡车的加速度比车速为6 m/s时卡车的加速度大
(B)车速达到最大值时,卡车的加速度最大
(C)若保持车速为6 m/s匀速运动时,车的实际功率是30 kW
(D)卡车的最大速度是12 m/s
【答案】
ACD
45.质量为m=1 kg的物体放于水平面上,与水平面间的动摩擦因数为μ=0.5。现用一个大小为F=10N,方向与水平面成α=53°角斜向上的力F拉该物体,由静止起运动,则t=4 s末拉力F的即时功率为( )。
(A)24 W (B)40 W (C)120 W (D)200 W
【答案】
C
46.汽车能以速度v沿倾角为α的斜面匀速上坡,如果保持发动机功率不变,它能以3v速度沿这个斜面匀速下行,则汽车与斜坡间的动摩擦因数为( )。
(A)tan\(\frac{\alpha }{2}\) (B)tanα (C)2tanα (D)3tanα
【答案】
C
47.一辆质量为m、额定功率为P的汽车在一条平直公路上行驶,设功率和所受阻力均保持不变。若已知汽车做匀速运动时的速率为v1,求当汽车行驶的即时速率为v2(v2<v1)时的即时加速度。
【答案】
P(v1-v2)/mv1v2
48.某地强风的风速约为v=20 m/s,空气的密度为ρ=1.3 kg/m3,如果某装置能把通过横截面积为S=20 m2的风的动能全部转化为电能,求该装置的电功率。
【答案】
1.04×105 W
49.甲、乙两车的质量之比为m1∶m2=1∶2,它们在水平路面上匀速行驶时的速度之比为v1∶v2=2∶1。在关闭发动机后,它们分别滑行了距离s1和s2后停止。若它们与路面间的动摩擦因数相等,则s1∶s2为_______。若它们与路面间的滑动摩擦力相等,则s1∶s2又为_______。
【答案】
4∶1,2∶1
50.假设汽车在紧急制动后所受到阻力的大小与汽车所受重力的大小差不多,当汽车以大小 v0=20 m/s的速度匀速行驶时,发现前面的车辆停下了,立即制动,那么它还能继续滑行的最大距离约为s=_______m,制动后继续滑行s1=15 m距离时的速度大小为_______m/s。
【答案】
20,10
51.从地面竖直向上抛出一小球,最后又落回到地面。设小球运动过程中所受空气阻力的大小保持不变,则小球上升过程所用的时间_______下降过程所用的时间。小球上升过程中克服空气阻力做的功_______下降过程中克服空气阻力做的功。小球上升过程中损失的机械能_______下降过程中损失的机械能(均选填“大于”、“小于”或“等于”)。
【答案】
小于,等于,等于
52.质量m=2 kg的滑块,以v0=4 m/s的速度在光滑的水平面上向左滑行,从某时刻起,对滑块施以一向右的水平力。经过一段时间,滑块的速度变为向右,大小仍为4 m/s,在这段时间内水平力做的功为_______J。
【答案】
0
53.汽车在平直公路上匀加速行驶,在速度由零增加到 v 的过程中,牵引力做的功为 W1,牵引力做功的平均功率为 P1;速度由 v 增加到 2v 的过程中,牵引力做的功为 W2,牵引力做功的平均功率为 P2;设牵引力与阻力的大小均不变,则两次做功的大小关系是 W1∶W2 =_______,两次做功的平均功率大小关系是 P1∶P2 =_______。
【答案】
1∶3,1∶3
54.一个质量m=2 kg的小球以大小为v0=10 m/s的速度垂直于墙面撞向墙壁,反向弹回时的速度大小为vt=8 m/s,则墙面对球所做的功为_______J。
【答案】
-36
55.当运动物体的加速度不为零时,下列说法中正确的是( )。
(A)一定有力对物体做功 (B)物体的速率必然增大
(C)物体的动能必然变化 (D)物体所受合外力必不等于零
【答案】
D
56.质点在恒力作用下由静止开始运动,其动能与质点位移之间的关系是图中的图( )。

【答案】
C
57.
某物体的质量m=2 kg,做直线运动时的速度-时间图像如图所示,则在第一个5 s内和在第二个5 s内合外力对物体做的功分别为( )。
(A)100 J,200 J (B)20 J,0
(C)100 J,0 (D)20 J,200 J
【答案】
C
58.一颗质量为m的子弹,以速度v飞行时恰能穿过厚度为d的固定钢板,欲使该子弹穿过厚度为d/3的同质固定钢板,则子弹原来飞行的速度至少为( )。
(A)v/9 (B)v/6 (C)v/3 (D)\(\frac{{\sqrt 3 }}{3}\)v
【答案】
D
59.一辆质量为m=5000 kg的汽车与其所受阻力与车重的关系为f=kmg,k=0.008。汽车初速度为v0=5 m/s。若汽车保持P=10 kW的功率行驶时间t=10 s,车速达到vt=7 m/s,求这段过程中汽车驶过的距离。
【答案】
100
60.
如图所示,用大小F=28N的水平力将质量m=7 kg的静止物体从水平面上的A点拉到B点,物体与水平面间的动摩擦因数为μ=0.2。然后撤去水平力,物体冲上长为L=5 m、高为H=3 m的光滑斜面,水平面与斜面间有很小的光滑圆弧相接,物体冲到斜面顶时速度恰减小到零。求水平面AB的长。
【答案】
15
62.某人将一个质量 m = 2 kg 的物体从高 H = 10 m 处以 v0 = 10 m/s 的初速度水平抛出,落地时速度的大小 vt = 12 m/s。则人在抛物体的过程中所做的功为_______J,物体在飞行过程中,空气阻力对物体做的功为_______J。
【答案】
100,-156
63.某人从离地某高度处抛出一个质量为m的物体,他抛物体时对物体所做的功为W,该物体落地时的速度大小为v,则物体抛出时的初速度大小为_______,物体抛出点离地面的高度为_______。
【答案】
\({\sqrt {\frac{{2W}}{m}} }\),v2/2g-W/mg
64.以大小v0=10 m/s的速度竖直向上抛出一个质量m=0.1 kg的物体,物体能上升的最大高度为H=4 m,则物体上升过程中空气阻力对它所做的功为_______J,落回原处时速度的大小为_______m/s。
【答案】
-1,7.75
65.
如图所示,一轻弹簧的原长为L,竖直放置,下端固定在水平地面上。一个质量为m的小球,自弹簧的正上方离地高为H处自由下落后撞到弹簧上端,并向下运动而压缩弹簧,弹簧的最大压缩量为x。在下落过程中小球所受到的空气阻力大小恒为f,则弹簧在压缩到最短时所具有的弹性势能为_______。
【答案】
(mg-f)(H-L+x)
67.
质量为m的物体系于细绳的一端,被细绳牵引着在光滑水平桌面上做匀速圆周运动,细绳另一端穿过桌面中心的小孔,下端用力拉住,如图所示。拉力大小为F时,物体做匀速圆周运动的半径为r;当拉力增大到8F时,物体做匀速圆周运动的半径变为r/2,则在此过程中拉力对物体做的功为( )。
(A)4Fr (B)Fr/2 (C)7Fr/4 (D)3Fr/2
【答案】
D
68.两个质量不同的物体甲和乙(甲的质量比乙的质量大),由静止开始从同一高度沿倾角相同的光滑斜面滑下,又沿粗糙水平面滑行一段距离后停止,物体甲和乙与地面间的动摩擦因数相同,则它们在水平面上滑行的距离( )。
(A)甲较大 (B)一样大 (C)乙较大 (D)无法确定
【答案】
B
69.某人将原来静止在地面上的质量 m = 2 kg 的物体竖直向上提起高为 H = 1 m,这时物体的速度大小 v = 1 m/s,则在此过程中,下列说法中正确的是( )。
(A)手对物体做的功为 21 J (B)合外力对物体做的功为 1 J
(C)合外力对物体做的功为 2 J (D)物体克服重力做的功为 20 J
【答案】
ABD
70.
如图所示,物体由静止开始分别沿高和底边长都分别相同的不同斜面由顶端A下滑至底端B,两次下滑的路径分别如图中的Ⅰ和Ⅱ所示,两次物体与斜面间的动摩擦因数相同,且不计路径Ⅱ中转折处的能量损失,则到达B点时的动能( )。
(A)第一次较小 (B)第二次较小
(C)两次一样大 (D)无法确定
【答案】
C
71.一辆质量为M的汽车,从静止起驶上长为L、倾角为θ的斜坡,到斜坡中点时关闭发动机,汽车恰能到达坡顶,汽车和斜坡间的动摩擦因数为μ,求:
(1)汽车发动机牵引力所做的功。
(2)汽车到达斜坡中点时的速度。
【答案】
mgLsinθ+μmgLcosθ,\(\sqrt {gL\sin \theta + \mu gL\cos \theta } \)
72.一个质量为m的物体,以平行于斜面的初速度v0从倾角为30°的足够长的斜面底端沿斜面向上滑行,已知物体重新回到斜面底端时的速度大小为3v0/4,求物体与斜面间的动摩擦因数。
【答案】
0.16(\(\frac{{7\sqrt 3 }}{{75}}\))
73.一个做自由落体运动的物体,下落1 m和下落2 m时,物体的动能之比为_______;下落1 s和下落2 s时,物体的动能之比为_______。
【答案】
1∶2,1∶4
74.一个质量为m=2.5 kg的小球自离地高h=20 m处自由下落t=1 s的过程中,重力做功为_______J,下落t=1 s末时物体的势能为_______J,此时物体的动能为_______J。
【答案】
125,375,125
75.
一质量均匀立方体,边长为a、质量为M,取桌面为重力势能零点,如图(a)所示放置的情况下立方体的势能为_______。如图(b)所示放置的情况下(图中立方体的一条对角线恰垂直于地面)立方体的势能为_______。
【答案】
Mga/2,\(\sqrt 2 \)Mga/2
76.从离地面高为H=100 m处自由下落一个质量为m=0.4 kg的物体,空气阻力不计,则经过t=4 s时物体的动能为重力势能为_______J。这4 s内重力做的功为_______J。
【答案】
320,80,320
77.起重机钢索将质量为m=300 kg的集装箱以大小为a=0.5 m/s2的加速度从静止开始匀加速竖直向上提升高H=4 m,箱子的重力势能增加了_______J,箱子的动能增加_______J。
【答案】
12000,600
78.四楼阳台(离地高为H=10 m)上有一个质量为m=1 kg的花盆不慎掉落,若以阳台为重力势能零点,则花盆落地时的动能为_______J,重力势能为_______J,机械能为_______J。
【答案】
100,-100,0
79.下列关于动能的说法中正确的是( )。
(A)甲、乙两个物体质量相等,甲的速度为4 m/s,乙的速度为-5 m/s,那么甲的动能大于乙的动能
(B)质量越大的物体,它的动能也越大
(C)动能是标量,没有方向
(D)动能较大的物体,速度也较大
【答案】
C
80.
如图所示,甲、乙两个相同的小球分别系于一根细绳和一根橡皮绳的一端,细绳和橡皮绳的另一端固定在同一点O,将两小球都拉至水平,且绳刚拉直,然后静止起释放它们。当它们摆到最低点时细绳和橡皮绳长度相同,摆到最低点时甲、乙两球具有的势能相比( )
(A)甲较大 (B)乙较大
(C)一样大 (D)无法确定
【答案】
B
81.一个质量为m=2 kg的物体自高为H=20 m处自由下落,以地面为重力势能零点,下落高度为h=5 m时它的机械能为( )。
(A)400 J (B)300 J (C)100 J (D)500 J
【答案】
A
82.关于动能、势能和机械能。下列说法中正确的是( )。
(A)动能、势能和机械能都是标量
(B)动能、势能和机械能都有正负
(C)动能、势能和机械能都与零点选取有关
(D)动能、势能和机械能的变化都与做功有关
【答案】
AD
83.有两个质量分别为m1和m2的物体,已知m1=4m2,它们以相同的动能在动摩擦因数相同的水平地面上运动,求它们能滑行的最大距离之比s1∶s2和能滑行的最长时间之比t1∶t2。
【答案】
1∶4,1∶2
84.
一圆柱形的薄壁水缸,底面积为S,内装密度为ρ、深为H的液体,取地面为重力势能零点,求在如图(a)、(b)所示两种放置情况下(右图中水缸底离地高为h)缸内液体的重力势能。
【答案】
ρgSH2/2,ρgSH(H/2+h)
85.一个质量为m=3 kg的物体从离地高H=60 m处自由落下,在t=2 s内重力做功的平均功率为_______W,第2 s末重力做功的瞬时功率为_______W,第2 s末物体的动能为_______J。以地面为重力势能零点,则第2 s末物体的重力势能为_______J。
【答案】
300,600,600,1200
86.将一个质量为m=0.5 kg的物体从地面以大小为v0=30 m/s的初速度竖直向上抛出,空气阻力不计,以地面为重力势能零点,抛出后1 s末物体的动能为_______J,物体的重力势能为_______J;上升到离地高为40 m处时物体的动能为_______J,物体的重力势能为_______J。
【答案】
100,125,25,200
87.一个质量m=5 kg的物体由静止起沿倾角θ=37°的光滑斜面下滑,斜面的高h=10m,物体滑到底的过程中重力所做的功为_______J。以斜面底端为重力势能零点,物体在斜面顶时所具有的重力势能为_______J,物体滑到斜面底时的动能为_______J,物体滑到底时重力做功的瞬时功率为_______W。
【答案】
1000,1000,1000,600
88.用一个与斜面平行的力,把一个质量m=100 kg的物体沿长L=5 m、高H=3 m的斜面从其底端匀速拉上顶端,物体和斜面间的动摩擦因数为μ=0.1。在此过程中,重力做的功为_______J,物体克服摩擦力做的功为_______J,拉力做的功为_______J,物体重力势能增加了_______J。
【答案】
-3000,400,3400,3000
89.从离地高H=80 m处自由下落一小球,不计空气阻力,以地面为重力势能零点,经过时间_______s,小球的重力势能是动能的3倍,此时小球的速度大小为_______m/s。
【答案】
2,20
90.质量为m的物体在离地高为H处以初速度v0水平抛出,当高度下降h时(h<H),重力势能减少了_______,此时物体的动能为_______。
【答案】
mgh,mgh+mv02/2
91.一个质量为m的物体由静止出发以大小为 g/2(g 为重力加速度)的加速度竖直加速下降 h 的过程中,则( )
(A)物体的机械能增加\(\frac{1}{2}\)mgh (B)物体的机械能减少\(\frac{1}{2}\)mgh
(C)物体动能增加\(\frac{1}{2}\)mgh (D)重力做功mgh
【答案】
BCD
92.物体在运动过程中重力对物体做了-10J的功,则下列说法中正确的是( )。
(A)物体克服重力做功一定为10 J (B)物体的重力势能一定增加10 J
(C)物体的动能一定增加10 J (D)物体的机械能有可能不变
【答案】
ABD
93.从某一高处水平抛出一物体,空气阻力不计,物体着地时的速度与水平方向成α角,取地面为势能零点,则物体抛出时所具有的动能与势能之比为( )。
(A)sin2α (B)cos2α (C)tan2α (D)cot2α
【答案】
D
94.从地面竖直向上抛出一个小球,空气阻力不计,小球在上升和下降过程中两次经过同一点时,具有相同的( )。
(A)速度和机械能 (B)位移和机械能
(C)路程和动能 (D)加速度和动能
【答案】
BD
95.
如图所示,摆球的质量m=0.5 kg,悬挂于天花板上的O点,摆线的长L=0.4 m,从图中A点开始摆到B点,OA与OB的夹角和OB与竖直线的夹角分别为θ1和θ2。已知θ1=θ2=30°,问在此过程中摆球的势能减少多少?
【答案】
0.732 J
96.
如图所示,在倾角为θ的光滑斜面上离地面高为h1的A处有一木块,木块自静止起匀加速滑下。在滑行过程中取一任意位置B,经过B处时木块的速度为v,位置B离地面高度为h2。已知EA=mgh1,EB=mgh+\(\frac{1}{2}\)mv2,试用牛顿第二定律和初速度为零的匀加速直线运动公式证明:EA=EB。
【答案】
略
97.在水平地面上有一个质量m=3 kg的物体,现用大小F=15 N的水平拉力拉它,使它由静止开始运动,物体所受到的摩擦力大小为f=6 N,物体前进s1=4 m后撤去拉力,则物体再滑行s2=2 m时的速度大小为_______m/s。
【答案】
4
98.一个物体在水平面上受到水平拉力F作用后,由静止开始前进s1=10 m。此时撤去拉力,物体又前进s2=50 m才停下来。那么拉力的大小与摩擦力的大小之比为_______,物体在这两段路程中运动的时间之比为_______。
【答案】
6∶1,1∶5
99.以大小v0=10 m/s的速度竖直向上抛出一个质量m=0.1 kg的物体,物体所受到的空气阻力大小恒为f=0.25 N,则物体能上升的最大高度为_______m,落回原处时的速度大小为_______m/s。
【答案】
4,7.75
100.一个质量m=10 kg的物体从离沙地地面高H=10 m处静止起自由下落,空气阻力不计,落地后能陷入沙地的深度h=0.1 m,则在陷入过程中沙地对物体的平均阻力大小为_______N。
【答案】
10100
101.
如图所示,物体从离水平面高为H=7.8 m的A点以某一初速度v1,沿光滑曲面滑到B点,然后沿水平面运动s=40 m到达C点,此时物体速度减为v2=4 m/s。曲面与水平面之间光滑连接,物体与水平面的动摩擦因数为μ=0.3,则滑到B点时的物体速度的大小为_______m/s,物体的初速度v1的大小为_______m/s。
【答案】
16,10
102.
如图所示,物体从光滑斜面AB上离水平面高为H处由静止起下滑,然后进入粗糙水平面BC,BC的长为d,此后再滑上另一个光滑斜面CD,且到达离水平面H/3高时速度减为零。则物体经过B点时的速度大小为_______,经过C点时的速度大小为_______,物体与水平面间的动摩擦因数为_______,物体最后静止处和B点的距离为_______(斜面与平面间接点光滑)。
【答案】
\(\sqrt {2gH} \),\(\sqrt {\frac{{2gH}}{3}} \),2H/3d,d/2
103.
如图所示轨道,ab段及cd段为光滑圆弧,bc段为长为L=2 m的水平面,水平面与物体间的动摩擦因数为μ=0.2,物体M由高为H=0.8 m的a点处静止起下滑,则它最后停在( )。
(A)b点 (B)c点
(C)cd间某一点 (D)bc间某一点
【答案】
A
104.有质量相同的两个物体,一个原来以速度v0做匀速运动,另一个原来静止。若它们受到与v0同方向的相同合外力作用,则经过相同时间后( )。
(A)两物体通过的位移相同 (B)两物体增加的动能相同
(C)合外力对这两物体做的功相同 (D)以上三者都不相同
【答案】
D
105.质量为m的物体以加速度a做匀加速直线运动,在第ns内的动能改变量为ΔEk1,在第(n+1)s内的动能改变量为ΔEk2,则ΔEk2-ΔEk1等于( )。
(A)ma2 (B)2ma2 (C)ma (D)2ma
【答案】
A
106.
如图所示,用水平恒力F拉静止在光滑水平地面上A处的物体,推至B处时物体的速度大小为v,此时再改用方向相反的水平恒力Fʹ推物体,物体回到A处时的速度大小为vʹ,则( )。
(A)若力的大小Fʹ=F,速度的大小vʹ必为零
(B)若力的大小Fʹ=F,速度的大小vʹ=\(\sqrt 2 \)v
(C)若力的大小Fʹ=2F,速度的大小vʹ=2v
(D)若力的大小Fʹ=2F,速度的大小vʹ=\(\sqrt 3 \)v
【答案】
BD
107.以大小为v0=10 m/s的初速度从地面竖直向上抛出一物体,所受到的空气阻力大小是物体重的0.2倍,以地面为势能零点,求物体的动能和势能相等时物体离地面的高度。
【答案】
2.27,1.85
108.一列质量为M的列车在平直轨道上匀速行驶,某时刻最后面一节质量为m的车厢脱钩,当司机发现并关闭发动机时,列车自脱钩起到此时已经行驶了距离L。设关闭发动机前机车的牵引力保持不变,车所受到的阻力和车重成正比,求列车的两部分在停稳后的距离。
【答案】
\(\frac{M}{{M - m}}\)L
109.
如图所示,质量为m=2 kg的物体,从半径r=5 m的1/4光滑圆弧滑轨上端自由下滑到底端A点,然后继续沿水平面AB运动。两轨道正好相切,物体与水平面间的动摩擦因数为μ=0.2,则物体在圆弧上端时的势能为_______J,物体经过A点时的速度大小为_______m/s,物体在水平面上能够滑行的最大距离为_______m。
【答案】
100,10,25
110.把一个质量为m的小球从离地面h高处以初速度v0竖直向上抛出,设所受到的空气阻力大小恒为f(f<mg),小球每次与地面碰撞时弹回的速度与落地的速度大小相等,小球经过许多次的上、下运动,最后停在地面上,则小球在整个运动过程中所通过的总路程为_______。
【答案】
(mgh+mv02/2)/f
111.
如图所示,质量为m的物体从高为h的斜面顶端由静止起滑下,最后停止在水平面上的B点。若物体从斜面顶端以初速度v0沿斜面滑下,那么最后停在水平面上的C点,且AB=BC,则物体在斜面上下滑过程中克服摩擦力做的功为_______。
【答案】
mgh-\(\frac{1}{2}\)mv02
113.
如图所示,质量为m、长为L的均匀直木杆AB,上端A装有水平转轴,若在其下端B用恒定的水平外力F拉,使杆从竖直位置绕A轴转过θ角,到达图中虚线位置,则水平外力F对木杆AB做的功为_______,此时木杆的动能为_______。
【答案】
FLsinθ,FLsinθ-\(\frac{1}{2}\)mgL(1-cosθ)
114.
如图所示,一轻绳绕过光滑轻滑轮,一端挂有质量m=10 kg的物体,另一端被人拉着从B点由静止起水平移动到C点,已知绳AB恰竖直,且AB=5 m,BC=12 m。绳的拉力大小保持为F=120 N不变,则此过程中物体的动能增加了_______J,重力势能增加了_______J,人做功_______J。
【答案】
160,800,960
115.一人把质量为m的物体由静止起举高H,并使物体获得大小为v的速度,则下列说法中正确的是( )。
(A)人对物体做的功为mgH+\(\frac{1}{2}\)mv2 (B)合外力对物体做的功为\(\frac{1}{2}\)mv2
(C)合外力对物体做的功为mgH+\(\frac{1}{2}\)mv2 (D)物体克服重力做的功为mgH
【答案】
ABD
116.一物体以100 J的初动能从斜面底端沿斜面向上运动,当它通过斜面上的P点时,其动能减少了80 J,机械能减少了32 J。如果斜面足够长且物体能返回斜面底端,则返回底端时物体的动能为( )。
(A)20 J (B)48 J (C)60 J (D)68 J
【答案】
A
117.
如图所示,物体从斜面ab上高为h的M点由静止起下滑,经过水平地面bc后再沿光滑斜面cd恰能上滑到高为h/2的N点,现将物体以初速度v0仍自M点沿斜面下滑后经bc再沿cd恰能上滑到高为h处,则v0的大小为( )。
(A)\(\sqrt {gh} \) (B)\(\sqrt {2gh} \) (C)\(\sqrt {3gh} \) (D)2\(\sqrt {gh} \)
【答案】
A
118.有空气阻力的情况下,将一物体由地面竖直向上抛出,以地面为势能零点,当它上升到离地面高h1时动能恰与势能相等,当它经过最高点后下降到离地高h2时其动能又恰与势能相等。已知物体能上升的最大高度为H,则( )。
(A)h1>H/2 (B)h2>H/2 (C)h1<H/2 (D)h2<H/2
【答案】
AD
119.
如图所示,用大小为F=30 N的恒力通过定滑轮把静止在地面上的质量m=10 kg的物体从A点拉到B点。A、B两点离定滑轮悬点正下方的C点分别为9.6 m和3 m,定滑轮最高点离地面高为H=4 m。设物体与地面间的摩擦力始终为物重的1/5。求:
(1)拉力所做的功。
(2)物体经过B点时的动能。
(3)物体经过B点时拉力对物体做功的功率。
【答案】
(1)162 J
(2)30 J
(3)44 W
120.
如图所示,一人通过定滑轮(大小不计)用细绳拉一质量为m的物体,开始时手拉的绳头在滑轮正下方距离H处。当人保持这一高度向右走H距离时,人的速度大小为v,求在此过程中人对物体所做的功。
【答案】
(\(\sqrt 2 \)-1)mgH+\(\frac{1}{4}\)mv2
121.一个物体从离地高H=10 m处以初速度v0=8 m/s斜向上抛出,空气阻力不计,则其经过抛出点上方h=2 m高处时的速度大小为_______m/s,落地时的速度大小为_______m/s。
【答案】
4.9,16.2
122.一个物体的质量m=5 kg,从地面以大小为v0=10 m/s的初速度竖直向上抛出,空气阻力不计,当它到达离地高h=3 m处时物体的机械能为_______J,此时物体的速度大小为_______m/s。
【答案】
250,6.32
123.一个质量为m的物体以沿斜面方向的初速度v0冲上一个光滑斜面,冲到斜面上高为h处时它的机械能为_______,此时它的速度大小为_______,它的动能为_______。
【答案】
\(\frac{1}{2}\)mv02,\(\sqrt {v_0^2 - 2gh} \),\(\frac{1}{2}\)mv02-mgh
124.一个物体从斜面底端以沿斜面方向的初速度v0沿着倾角为α的光滑斜面上滑,它能上滑的最大高度为______,能上滑的最大距离为_______。当它上滑到高度为_______时,它的速度将减小到v0/2。若以斜面底端为势能零点,当它上滑到高度为_______时,它的动能和势能相等。
【答案】
v02/2g,v02/2gsinα,3v02/8g,v02/4g
125.一个质量为m的物体在离地面高为H处以初速度v0水平抛出,空气阻力不计。若以地面为势能零点,当它的高度下降了h时(h<H),物体的重力势能减少了_______,这时物体的重力势能为_______,物体的动能为_______,物体的机械能为_______。
【答案】
mgh,mg(H-h),\(\frac{1}{2}\)mv02+mgh,\(\frac{1}{2}\)mv02+mgH
126.将一个小球竖直向下抛出,设小球与地面碰撞前后的速度大小不变,要使小球着地后回跳的高度比抛出点还高H=5 m,不计空气阻力,则将它竖直下抛的速度必须为_______m/s。(g取10 m/s2)
【答案】
10
127.下列各种运动中,符合机械能守恒条件的是( )。
(A)跳伞运动员在空中匀速下降的过程
(B)用细绳竖直拉着一个物体匀速上升的过程
(C)一个物体以某一初速度沿光滑曲面下滑的过程
(D)汽车以不变的速率驶过圆弧形拱桥的过程
【答案】
C
128.下列各式中,能正确表示机械能守恒定律的是( )。
(A)Ep+Ek=恒量 (B)ΔEp=-ΔEk
(C)Ep1+Ep2=Ek1+Ek2 (D)ΔE机槭能=恒量
【答案】
AB
129.一个质量m=2 kg的物体自高H=20 m处自由下落,以地面为势能零点,下落了h=5 m时它的机械能为( )。
(A)400 J (B)300 J (C)100 J (D)500 J
【答案】
A
130.以大小相同的初速度在同一高度处分别竖直下抛甲物体、竖直上抛乙物体、平抛丙物体,空气阻力不计,当着地时( )。
(A)三个物体的速度大小相等 (B)甲物体的速度最大
(C)乙物体的速度最大 (D)三个物体的速度完全相同
【答案】
A
131.以初速度v0竖直向上抛出一个小球,空气阻力不计,求小球经过抛出点上方h高处时的速度v1,和经过抛出点下方h高处时的速度v2(设抛出点距地面距离大于h)。
【答案】
\(\sqrt {v_0^2 - 2gh} \),\(\sqrt {v_0^2 + 2gh} \)
132.
一半径为R=2 m的光滑的四分之一圆弧轨道放在竖直平面内,底端恰水平,且处于高h=3 m的桌面边缘,如图所示,让小球自圆弧轨道顶端静止起下滑,求:
(1)小球落地时速度的大小。
(2)小球离开桌边时速度的大小。
【答案】
(1)10
(2)6.32
133.一个质量为 m 的物体沿着半径为 R 的竖直放置的光滑圆周轨道内侧运动,以最低点为势能零点,经过最低点时的速度大小为 v,则经过最高点时的速度大小为_______,此时的动能为_______,机械能为_______。(重力加速度为 g)
【答案】
\(\sqrt {v^2 - 4gR} \),\(\frac{1}{2}\)mv2-2mgR,\(\frac{1}{2}\)mv2
134.将一个物体以大小30 m/s的初速度竖直向上抛出,空气阻力不计,则物体能上升的最大高度为_______m,物体落到抛出点以下35 m处时的速度大小为_______m/s(抛出点距地面的高度大于35 m )。
【答案】
45,40
135.一个物体从高为4R的光滑斜轨道顶上静止起下滑,到轨道底时又进入竖直放置的半径为R的光滑圆周轨道的最低点,两轨道相接处光滑连接。以圆周轨道的最低点为势能零点,则物体经过圆周轨道最低点时的机械能为_______,此时的速度大小为_______;经过圆周轨道最高点时的机械能为_______,此时的速度大小为_______。
【答案】
4mgR,\(\sqrt {8gR} \),4mgR,\(\sqrt {4gR} \)
136.
质量m=2 kg的物体由静止起从如图所示的光滑弧形轨道顶端的A点下滑,A点离地高H1=10 m,则它经过离地高H2=5 m的B点时速度的大小为_______m/s,此时物体的机械能为_______J,物体落地时的速度大小为_______m/s。
【答案】
10,200,10\(\sqrt 2 \)
137.
如图所示,一个光滑斜面的倾角θ=37°,高H=10 m,以斜面底端为势能零点,汽车以大小为v0=10 m/s的初速度从斜面顶端沿斜面下滑,那么当汽车下滑________m时,其动能与势能相等。
【答案】
4.17
138.一根细线长L=80 cm,一端拴一个质量m=200 g的小球,另一端固定。若拿住小球拉开,使线呈水平拉紧状态,随后放手让小球由静止起下落。若空气阻力不计,则小球摆动过程中的最大速度为_____m/s,此时它所需的向心力大小为_______N。若小球到最低点时的速度大小为v=2\(\sqrt 3 \)m/s,则小球下摆过程中克服空气阻力所做的功为_______J。
【答案】
4,4,0.4
139.下列情况中物体的机械能一定不守恒的有( )。
(A)物体除受重力外还受到另一个外力的作用
(B)物体除受重力外还受到空气阻力的作用
(C)物体除受重力外还有一个外力对它做功
(D)除重力对物体做功外,没有任何外力对物体做功
【答案】
BC
140.一个重为G=10 N的物体从高为H=4 m处自由下落h=1 m,空气阻力不计,该物体的机械能减少了( )。
(A)0 (B)10 J (C)30 J (D)40 J
【答案】
A
141.从地面以相同的初动能竖直上抛两个物体,它们的质量分别为m1和m2,且m1>m2,不计空气阻力,它们上升的最大高度分别为h1和h2,它们的最大重力势能分别为Ep1、Ep2则( )。
(A)Ep1>Ep2 (B)Ep1=Ep2
(C)h1=h2 (D)h1>h2
【答案】
B
142.
如图所示,一根质量分布均匀的木杆竖直立在水平地面上,在木杆倾倒过程中底部没有滑动。以地面为重力势能零点,则动能恰好与重力势能相等时,木杆与水平地面间的夹角为( )。
(A)15° (B)30° (C)45° (D)60°
【答案】
B
143.
如图所示,一个质量m=2 kg的物体以大小v0=20 m/s的初速度沿光滑水平面滑行后冲上半径R=5 m的四分之一光滑圆弧轨道,圆弧轨道底端刚好与水平面相切,求:
(1)物体冲到顶端时的速度大小和此时的机械能。
(2)物体进入轨道时对轨道的压力大小。
【答案】
(1)10m/s,400 J
(2)180 N
144.一个质量为m的小球用长为L的细绳系住,绳的另一端固定于天花板上的O点,将小球拉起,使细绳拉紧且呈水平,随后静止起释放小球,求:
(1)小球下摆到细绳转过30°时的速度大小。
(2)小球摆到最低点时的加速度大小。
【答案】
(1)\(\sqrt {gL} \)
(2)2g
145.一个质量为m的小球系于长为l的细绳的一端,细绳的另一端固定于O点。将小球拉开,使细绳处于水平拉紧状态,静止起释放小球。若空气阻力不计,当小球摆到最低点时细绳中的拉力大小为_______。若当小球摆到最低点时细绳中的拉力大小为2mg,则在此过程中小球克服空气阻力所做的功为_______。
【答案】
3mg,mgl/2
146.
如图所示,一凸形桥的半径为R、高为h,桥面光滑。一辆质量为m的小车从桥的底端冲上桥面,到达桥顶时恰能不脱离桥面,则小车的初速度v为_______。若小车以v/2的初速度冲上桥面仍能通过桥顶,则到达桥顶时小车对桥面的压力大小为_______。
【答案】
\(\sqrt {Rg + 2gh} \),(3R+6h)mg/4R
147.
如图所示,质量m=0.5 kg的小物体,从半径R=0.5 m的竖直光滑半圆轨道顶端静止起下滑,则滑到半圆轨道底部时物体的速度大小为_______m/s,此时物体对轨道的压力大小为_______N。
【答案】
3.16,15
148.一个质量为m的小球系在绳的一端,绳的另一端固定,使小球在竖直平面内做圆周运动。若小球在最低点时的速度恰为最高点时速度的2倍,绳长为L,则其在最低点时速度的大小为_______。
【答案】
2\(\sqrt {\frac{{gL}}{3}} \)
149.质量皆为m的两个小球分别用长为L的细绳和细杆(质量不计)悬于各自的固定点,且可绕固定点在竖直平面内做圆周运动。要使小球刚能在竖直平面内完成圆周运动,则两种情况下,小球在最低点的速度大小之比为_______。
【答案】
\(\sqrt 5 \)∶2
150.
如图所示,半径为R的光滑半圆槽轨道竖直固定在水平面上,下端恰与水平面相切。质量为m的小球以某一初速度从A点滚上半圆槽,小球通过最高点B后落回到水平地面上的C点。已知AC=AB=2R,则小球经过A点时的速度大小为_______,小球经过B点时对半圆槽的压力大小为_______。
【答案】
\(\sqrt {5gR} \),0
151.一个小球分别由甲、乙两个大小不同的半球形光滑碗边无初速度滑下,已知甲碗半径比乙碗半径大,则当小球到达碗底时( )。
(A)甲碗中小球的速度较大 (B)甲碗中小球的向心加速度较大
(C)乙碗中小球的角速度较大 (D)甲碗中小球所受到的合外力较大
【答案】
AC
152.一个质量为m的物体沿光滑斜面由静止起下滑,斜面的倾角为θ,当它在竖直方向降落h高度时,重力对它做功的瞬时功率为( )。
(A)mg\(\sqrt {2gh} \) (B)mg\(\sqrt {2gh} \)sinθ
(C)mg\(\sqrt {2gh} \)cosθ (D)mg\(\sqrt {\frac{{2gh}}{{\sin \theta }}} \)
【答案】
B
153.将摆长为L的单摆拉到水平位置后无初速度释放,当摆球运动到最低点时摆线中间某处碰到钉子P,此后摆球能绕P做圆周运动并经过最高点,则P点的位置与悬点的最小距离为( )。
(A)0.4L (B)0.5L (C)0.6L (D)0.8L
【答案】
C
154.
一个内壁光滑的玻璃管弯成图中所示的弯管ABCD,AB部分为直管,处在水平面上,BCD部分为半圆,与AB相切,半径为R,处于竖直平面内。比管道口径略小的球在A处以初速度v0射入弯管,则( )。
(A)当v0≥\(\sqrt {Rg} \)时,小球便能从D处飞出
(B)只有当v0≥\(\sqrt {5Rg} \)时,小球才能从D处飞出
(C)只需v0>2\(\sqrt {Rg} \),小球便能从D处飞出
(D)当v0<2\(\sqrt {Rg} \)时,小球也能从D处飞出
【答案】
C
155.
如图所示,一个斜轨下端接一个半径为R竖直放置的圆轨道,轨道都光滑。将一个质量为m的小球从斜轨上高h处静止起释放,要使小球滑入圆轨道后能通过最高点,则h至少应为多大?若h=3R,则小球经过圆轨道的最高点和最高点时对轨道的压力分别为多大?
【答案】
2.5R,mg,7mg
156.一个质量为m的小球系于长为l的细绳的一端,细绳的另一端固定于O点,使小球绕O点在竖直平面内做圆周运动,求小球通过最低点时绳子拉力的大小与通过最高点时绳子拉力的大小之差。
【答案】
6mg
157.
如图所示,AB是处于竖直平面内的半径为r竖直放置的四分之一光滑圆弧轨道,B处与光滑水平面相切,开始时一根长为\(\sqrt 2 \)r的均匀木棒正好搁在圆弧的两个端点。放手后,木棒最后在BC上滑行的速度大小为_______。
【答案】
\(\sqrt {gr} \)
158.
如图所示,两个轨道都由斜轨与竖直放置圆轨道连接而成,均光滑,圆轨道的半径分别为R和r(R>r),两斜轨道顶点高度相等,两圆轨道的顶点高度也相等,且此两高度差大于R/2。质量均为m的小球分别从两斜轨道顶点由静止开始滚下,当它们运动到圆轨道最高点时对轨道的压力大小相比,较大的是在半径为_______的轨道上。
【答案】
r
159.
如图所示,一轻杆长为L=1 m,可绕过O点的水平轴在竖直平面内自由转动,OA=0.6 m,OB=0.4 m,质量均为m=1 kg的两个小球分别固定在杆的两端,如将杆由水平位置静止起释放,当杆转到竖直位置时A球的动能为_______J,B球的动能为_______ J。
【答案】
1.38,0.62
160.
A、B两物体的质量分别为M和m(M>m),用细线相连,线跨过光滑定滑轮,B物体放在地面上,A物体离地面高H,连接B物体的细线恰好竖直,如图所示。静止起释放A物体,则A物体落地时的速度大小为_______,A落地后B还能上升的高度为_______。
【答案】
\(\sqrt {\frac{{2gH(M - m)}}{{M + m}}} \),\(\frac{{M - m}}{{M + m}}\)H
161.
如图所示装置中,光滑斜面的倾角为30°,A、B两物体的质量分别为4m和m,它们离地高都是h,滑轮和绳的质量不计,则若在C处剪断绳子,当B刚要着地瞬间,A、B的机械能之比为_________。若在D处剪断绳子,当B离开地面的高度为1.5h时,A、B的机械能之比为_________。
【答案】
4∶1,17∶8
162.
如图所示,质量均为m的三小球A、B、C用两条长均为L的细线连接并置于高为h的光滑水平桌面上,L>h,A球刚跨过桌边。且桌边有光滑弧形挡板,使小球离开桌边后只能竖直向下运动,若A球、B球相继下落,着地后均不再反弹,则C球离开桌边时的速度大小是_______。
【答案】
\(\sqrt {\frac{{5gh}}{3}} \)
163.
如图所示,质量分别为m和3m的小球A和B,系在长为L的细绳两端,置于高为h的光滑水平桌面上,L>h,A球跨过桌边。A球下落着地后不再弹起,则B球离开桌边时的速度为( )。
(A)\(\sqrt {\frac{{gh}}{2}} \) (B)\(\sqrt {2gh} \)
(C)gh/2 (D)\(\sqrt {gh} \)
【答案】
A
164.
有质量分别为mA和mB可看作质点的两个小球,已知mA=2mB=2m,两球用不可伸长的轻绳连接,并跨过光滑的固定圆柱体,如图所示。使A球恰好和圆柱的轴心同高,B球接触地面,然后静止起释放它们,则下列说法中正确的是( )。
(A)A球到达地面前,A球机械能守恒
(B)A球到达地面前,A、B两球总机械能守恒
(C)A球着地时,B球将继续上升
(D)A球着地时的动能为2mgR/3
【答案】
BCD
165.
如图所示,质量分别为m和2m的小球A和B,用轻质细杆连接,杆可绕杆的中点O的水平轴在竖直平面内自由转动,杆在从水平位置转到竖直位置时( )。
(A)B球势能减少,动能增加
(B)A球势能增加,动能减少
(C)A和B的总机械能守恒
(D)A和B各自的机械能守恒
【答案】
AC
166.一绳长为L,平放在光滑桌面上,且有长为a的一段绳下垂于桌边外。静止起释放绳子,则当绳子完全滑离桌边时,绳的速度大小为( )。
(A)\(\sqrt {2g({L^2} - {a^2})} \) (B)\(\sqrt {\frac{{2g({L^2} - {a^2})}}{L}} \)
(C)\(\sqrt {\frac{{g({L^2} - {a^2})}}{{2L}}} \) (D)\(\sqrt {\frac{{g({L^2} - {a^2})}}{L}} \)
【答案】
D
167.
如图所示,质量分别为M和m的两个物体A、B用轻绳相连,M>m,细绳跨过高为H、顶部有一光滑半圆柱面的柱子。开始时,物体A离地有一高度,物体B在地上,绳处于拉紧状态,连接物体B的绳恰好竖直,将它们由静止释放,以后B上升的最大高度为H,试求A的初始高度h。
【答案】
(M+m)H/2M
168.
如图所示,质量都为m=10 kg的两个物体用跨过光滑滑轮的细绳连接,物体A放在倾角为α=30°的光滑斜面底端,物体B用手托在离地高为h=5 m处,连接物体A的细绳与斜面平行,放手后,求:
(1)B着地时的速度大小。
(2)A物体的最大势能。
【答案】
5,375
2006 - 2026,推荐分辨率 1024*768 以上,推荐浏览器 Chrome、Edge 等现代浏览器,截止 2021 年 12 月 5 日的访问次数:1872 万 9823。 站长邮箱
