1.
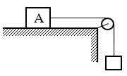
如图所示,小车放在水平地面上,用与水平面成30°角斜向上、大小为25 N的力F向右拉小车,用力的图示法画出该拉力,小车共受到______个力的作用。
【答案】
4
2.
如图所示,物体A重为100 N,静止于水平桌面上,画出物体所受支持力的图示,支持力的施力物体是_________。
【答案】
桌面
3.
如图所示,用竖直细线悬挂重为2 N的小球,小球下端恰好与倾角为30°的光滑斜面接触,小球受到____个力的作用,分别是________________。试画出小球受力的图示。
【答案】
2,重力,绳子拉力
4.乒乓板打击乒乓球时,由于_______发生形变而产生了对乒乓球的弹力,同时由于________发生形变而产生了对乒乓板的弹力。
【答案】
乒乓球,乒乓球
5.书放在水平桌面上,书受到重力和支持力的作用,则重力的施力物体是__________,支持力的施力物体是___________,桌面受到压力的施力物体是_________。
【答案】
地球,桌面,书
6.
如图所示,物体A用两根细线悬挂起来,一根恰水平,一根恰竖直,则物体A受到的作用力有_________个,它们分别是____________。
【答案】
2,重力,竖直细线拉力
7.
如图所示,物体A用一根细线悬挂于天花板上,并搁在光滑斜面上,试画出物体的受力示意图。物体所受各力的施力物体分别是_________________。
【答案】
地球,斜面,细线
8.下列关于力的说法中正确的是( )
(A)力是维持物体运动的原因
(B)两个力大小相同,则产生的效果也相同
(C)受力物体是指受到力的物体,它可以不施力给其他物体
(D)力是物体和物体间的相互作用
【答案】
D
9.下述各力中按力的性质命名的有( )。
(A)重力 (B)支持力 (C)拉力 (D)摩擦力
【答案】
AD
10.关于弹力,下列说法中正确的是( )。
(A)拉力、压力和支持力就其性质而言都是弹力
(B)支持面对物体的弹力方向总是和支持面垂直
(C)物体间只要相互接触就一定有弹力作用
(D)弹力产生在直接接触而发生弹性形变的物体之间
【答案】
ABD
11.
如图所示,一杆搁在光滑半圆槽上,a恰水平,b与杆垂直,c恰竖直,则槽口对杆的支持力方向必( )。
(A)沿a方向 (B)沿b方向
(C)沿c方向 (D)以上都不对
【答案】
B
12.
如图所示,物体A、B的质量分别为5 kg和2 kg,叠放在水平桌面上,A的上表面恰水平,A、B均静止,接触面均光滑,求A、B间相互作用的弹力大小和A与地面间相互作用的弹力的大小。
【答案】
20 N,70 N
13.
如图所示,半圆柱形物体A搁在两个高度相等的光滑且静止,画出物体A的受力示意图。
【答案】
略
14.
如图所示,均匀直杆A搁在平台上,处于静止状态,试画出杆所受弹力的示意图。
【答案】
略
15.一个质量为m的物体,在地球表面附近以3g的加速度竖直向下运动,它所受到的重力大小为_______,重力的施力物体是________。
【答案】
mg,地球
16.
如图所示,小球用两根细线悬挂在天花板上,绳1恰竖直,绳2倾斜,则小球受到的作用力有_____个,它们分别是_________________。
【答案】
2,重力,细线1的拉力
17.
如图所示,一个玻璃瓶中装有水,瓶口用胶木塞密封好,一根两端开口的玻璃管穿过胶木塞插入瓶中,当用力去压玻璃瓶的侧壁时,管中水面会__________,这说明了在压力的作用下,________________。
【答案】
上升,玻璃瓶发生了形变
18.
如图所示,一物体用两根细线悬挂于天花板上,已知AC线的拉力大小为20 N,BC线的拉力大小为100 N,试用0.5 cm表示10 N作出两个拉力的图示。
【答案】
略
19.
如图所示,两长方体木块A、B并排紧靠着放在光滑水平地面上,则木块A受到的作用力有_________个,它们分别是_______。
【答案】
2,重力,地面支持力
20.
如图所示,小球夹在两块光滑固定板间,试画出小球的受力示意图。
【答案】
略
21.
如图所示,两个重均为10 N的相同小球放在圆筒内,筒半径为球半径的2倍,用绳系住两球,用F<20 N的力竖直向上拉球,球和筒均静止,则有弹力作用的接触点是_______。
【答案】
BCE
22.如图所示的四种情况下,a、b两物体间一定有弹力作用的情况是图( )。

【答案】
BD
23.物体放在斜面上,受到斜面的支持力,大小为100 N。如图所示各支持力的图示中正确的是图( )。

【答案】
D
24.关于弹力,下列说法中正确的是( )。
(A)弹力、压力、支持力、拉力都是按力的效果命名的
(B)物体放在水平桌面上时,物体对桌面的压力就是物体所受的重力
(C)两物体接触必有相互作用的弹力
(D)弹力的反作用力也一定是弹力
【答案】
D
24.
如图所示,水平桌面上有两个长方体木块A、B,F为水平推力,向右作用于左边的木块A上。则( )。
(A)A、B静止时,A、B间一定有弹力
(B)A、B静止时,A、B间一定没有弹力
(C)A、B向右匀速运动时,A、B间一定有弹力
(D)A、B向右加速运动时,A、B间一定有弹力
【答案】
CD
26.如图(a)、(b)所示,小球A均静止,各面均光滑,试分别画出各图中小球A的受力示意图。

【答案】
略
27.如图所示。均匀直杆A搁在固定的半球面上,处于静止状态,试画出杆所受弹力的示意图。

【答案】
略
28.
如图所示,一重为10 N的长方体木块A夹在两块木板之间,两边用大小都为100 N的力F将两板压住,使木块A处于静止状态,求每块板对木块的压力大小。
【答案】
100 N
29.用大小为20 N的水平力拉放在粗糙地面上质量为6 kg的物体,物体恰能开始运动。物体启动后,用大小为15 N的水平拉力拉,就能使它保持匀速直线运动,则该物体和地面间的最大静摩擦力为_____N,物体和地面间的动摩擦因数为_______。
【答案】
20,0.25
30.手握着一只瓶子静止不动,瓶子受到的竖直向上的作用力的名称是________,如果手对瓶子的握力增大,则瓶子受到的竖直向上的作用力大小将_______。
【答案】
摩擦力,不变
31.所受重力为200 N的物体静止在水平台面上,它与台面间的最大静摩擦力为90 N,动摩擦因数为0.40,未加推力时台面对物体的摩擦力大小为_____N,加50 N的水平推力时台面对物体的摩擦力大小为______N,加100 N的水平推力时,木块与台面间的摩擦力大小为______N。
【答案】
0,50,80
32.用力F将木块紧按在竖直墙面上,木块所受重力为8 N,当水平力F是20 N时,木块恰好匀速下滑,木块所受摩擦力大小为______N,木块与墙面间的动摩擦因数为______。
【答案】
8,0.4
33.所受重力为50 N的箱子静止在水平地面上,当用5 N的水平力向右推箱子时,箱子静止不动,这时箱子所受摩擦力大小为______N,方向______,当用15 N的水平力推箱子时箱子恰能滑动,可知箱子与地面间最大静摩擦力大小为______N。当物体开始滑动后,只需12.5 N的水平力就能使箱子在水平面上做匀速运动,此时箱子所受摩擦力大小为______N,箱子与地面间的动摩擦因数为______。
【答案】
5,向左,15,12.5,0.25
34.
带传动装置的传动方向如图所示,图中a、b、c、d分别表示主动轮和从动轮两处传送带所受摩擦力的方向,其中正确的有______和______。
【答案】
a,d
35.所受重力为100 N的物体在水平地面上向右运动,物体和地面间的动摩擦因数为0.2,同时,物体受到一个水平向左的力F=20 N的作用,则物体受到的滑动摩擦力大小为______,方向______。
【答案】
20,水平向左
36.关于滑动摩擦力,正确的说法是( )。
(A)滑动摩擦力的方向总是与物体运动方向相反
(B)滑动摩擦力总是阻碍物体间的相对运动
(C)滑动摩擦力的方向有时与物体的运动方向相同
(D)滑动摩擦力的方向总是与物体的接触面相切
【答案】
BCD
37.关于静摩擦力,下列说法中正确的是( )。
(A)两个相对静止的物体间一定有静摩擦力
(B)受静摩擦力作用的物体不一定是静止的
(C)静摩擦力一定是阻力
(D)静摩擦力的大小与物体间的压力成正比
【答案】
B
38.通常汽车都是后轮作为驱动轮的,当它在平直公路上匀速前进时( )。
(A)前、后轮均受到向前的摩擦力
(B)前、后轮均受到向后的摩擦力
(C)前轮所受摩擦力向前,后轮所受摩擦力向后
(D)前轮所受摩擦力向后,后轮所受摩擦力向前
【答案】
D
38.物体随倾斜的传送带一起向下匀速运动,则( )。
(A)因物体匀速运动,故物体不受摩擦力作用
(B)因传送带向下带动物体,所以物体所受摩擦力方向沿传送带向下
(C)因物体匀速运动,故物体所受摩擦力方向沿传送带向上
(D)因物体在运动,所受摩擦力为滑动摩擦力
【答案】
C
40.
如图所示,三块板所受重力均为100 N,相互间的动摩擦因数均为0.2,现将它们叠放在水平地面上,最上面一块和最下面一块均用水平绳子系在左边墙上,若要将中间一块板从上、下两板间抽出,中间一块板所受摩擦力多大?
【答案】
60 N
41.
为测量物体与长木板间的动摩擦因数,某同学设计了如图所示的实验,用外力F水平拉长木板时,弹簧测力计的示数与物体A和长木板间的滑动摩擦力相等,改变放在物体A上的砝码数可以改变物体A与木板间的正压力,每个砝码所受重力为1 N,已知放上3个砝码时弹簧测力计的示数为2.6 N:放上5个砝码时弹簧测力计的示数为3.0 N,求物体A与木板间的动摩擦因数及物体A所受到的重力。
【答案】
0.2,10 N
42.在水平地面上放一所受重力为20 N的木块A,木块与地面间的动摩擦因数为0.4,使木块沿地面做匀速运动时的水平拉力大小为______N。如果再在A上加一所受重力为10 N的木块B,B与A间的动摩擦因数为0.2,那么当A、B一起沿地面匀速运动时,对木块A的水平拉力大小为______N。此时木块B受到木块A的摩擦力大小为______N。
【答案】
8,12,0
43.
一根质量为m、长度为L的长方体均匀木料,放在水平桌面上,木料与桌面间的动摩擦因数为μ。现用水平力F推木料,当木料经过如图所示位置时,桌面对它的摩擦力等于______。
【答案】
μmg
44.
如图所示,杆A下端搁在水平地面上,上端用一根细线悬挂起来,细线恰竖直,则杆A受到的作用力有_______个,它们分别是____________________________。
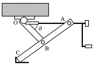
【答案】
3,重力,地面支持力和细线拉力
45.
如图所示,一个所受重力为400 N的小孩,坐在一块所受重力为100 N的木块上,用一根绕过光滑滑轮的轻绳拉住木块,使人和木块一起前进,已知人的拉力为70 N,则木块与地面间的动摩擦因数为______。
【答案】
0.28
46.
三块木块a、b、c如图所示叠放在水平地面上,在木块a上作用一个水平力F,使a、b、c一起向右匀速运动,则c对a的摩擦力向_____,c对b的摩擦力向_____,地对b摩擦力向____。
【答案】
左,右,左
47.
如图所示,用水平力F将物体压在竖直墙上,且物体处于静止状态。
(1)分别画出A物体及墙所受摩擦力的方向。
(2)若增大A物体的质量,它所受摩擦力将_______。
(3)若增大F力,A物体所受摩擦力将______(均选填“增大”、“不变”或“减小”)。
【答案】
增大,不变
48.
如图所示,滑轮质量不计且光滑,物体及所挂砝码均静止,连接物体A的绳子恰水平。
(1)分别画出A物体及桌面所受的摩擦力方向。
(2)若增大物体A的质量,它所受摩擦力将________。
(3)若增大所挂砝码的质量而物体A仍静止,A所受摩擦力将_______(均选填“增大”、“不变”或“减小”)。
【答案】
不变,增大
49.关于摩擦力,下列说法中正确的是( )。
(A)摩擦力大小一定可以用公式f=μN计算
(B)增大正压力就一定能增大摩擦力
(C)物体运动时也可能受到静摩擦力作用
(D)静止物体不可能受到滑动摩擦力作用
【答案】
C
50.
如图所示,水平力F把一个物体紧压在竖直墙上,物体静止不动,则可知( )。
(A)F增大时静摩擦力也增大 (B)静摩擦力方向竖直向下
(C)静摩擦力大小等于F (D)静摩擦力大小等于重力
【答案】
D
51.关于滑动摩擦力和动摩擦因数,下列说法中正确的是( )。
(A)动摩擦因数一定时,物体所受到的重力越大,所受滑动摩擦力也越大
(B)物体对支持面的压力越大动摩擦因数也越大
(C)滑动摩擦力越大动摩擦因数也越大
(D)动摩擦因数既和接触面粗糙程度有关又和两物体的材料有关
【答案】
D
52.
如图所示,重为G的木块被水平力F压在竖直墙面上恰能匀速下滑,设墙面与木块间的动摩擦因数为μ,手与木块间摩擦不计,现要使木块匀速上滑,必须对木块施加向上的拉力大小为( )。
(A)μF (B)μF+G (C)μF-G (D)2G
【答案】
BD
53.
如图所示,两块长方体木块A、B所受重力分别为20 N和10 N,叠在一起用一大小为500 N的水平力F压在竖直墙上,求A对B的摩擦力和A对墙的摩擦力。
【答案】
10 N,向上;30 N,向下
54.
如图所示,用两片木片夹住一块所受重力为10 N的木块,木片与木块间的动摩擦因数都为0.4,当木块静止时,每片木片受到的摩擦力大小为多大?方向如何?当用竖直向上的大小为18 N的力拉木块,使木块向上匀速运动时,木片夹住木块的弹力多大?
【答案】
5 N,向上,10 N
55.
如图所示,物体A静止在斜面上,试画出它的受力示意图,它所受的这些力的反作用力分别作用在_________________________上。
【答案】
地球,斜面,斜面
56.
如图所示,用推力F把物体压在倾斜的天花板上,使物体保持静止,物体受到的作用力有_________________________,画出物体的受力示意图。
【答案】
重力,弹力,摩擦力和推力
57.
如图所示,绳的一端固定在地面上,另一端系一氢气球,氢气球静止在空中,则氢气球受到的力有_________________________,画出氢气球所受各力的示意图。
【答案】
重力,绳子拉力,浮力,风力
58.
如图所示,被踢出去的足球,不计空气阻力和浮力,它飞行过程中经过图中A点时受到的作用力有_________________________,画出此时的受力示意图。
【答案】
重力
59.
如图所示,物体以一定的初速度沿粗糙斜面向上滑行的过程中受到的作用力有_________________________,画出物体的受力示意图。
【答案】
重力,支持力和摩擦力
60.
如图所示,一光滑杆搁在一光滑半球形碗边,杆受到的作用力有____个,试画出杆的受力示意图。
【答案】
3
61.
如图所示,汽车开动发动机以某一初速沿一斜坡向上开行的过程中,汽车受到____个力的作用,试作出汽车所受力的示意图。
【答案】
4
62.放在光滑斜面上加速下滑的物体受到的作用力是( )。
(A)重力和斜面支撑力
(B)重力、支持力和下滑力
(C)重力、斜面支撑力和加速力
(D)重力、斜面支撑力、下滑力和正压力
【答案】
A
63.一物体可沿固定斜面匀速上滑,则该物体受力的个数可能是( )。
(A)一个 (B)两个 (C)三个 (D)三个以上
【答案】
BCD
64.一架梯子上端斜靠在光滑的竖直墙上,下端放在粗糙地面上,下列关于梯子受力情况的描述正确的是:梯子受到( )。
(A)两个竖直的力,一个水平的力 (B)一个竖直的力,两个水平的力
(C)两个竖直的力,两个水平的力 (D)三个竖直的力,两个水平的力
【答案】
C
65.
如图所示,一个人站在自动扶梯的水平台阶上随梯一起向上匀速运动,它所受的力有( )。
(A)重力和支持力
(B)重力、支持力和摩擦力
(C)重力、支持力、摩擦力和斜向上的拉力
(D)重力、支持力、压力和摩擦力
【答案】
A
66.
如图所示,A、B两物体用跨过光滑滑轮的细线相连,A放在水平地面上,两物体均静止,试分别画出两物体的受力示意图。
【答案】
略
67.
如图所示,A、B两物体并排靠着用水平力F压在竖直墙面上,两物体都静止,试分别画出两物体的受力示意图。
【答案】
略
68.运动员用双手握住竖直的竹竿匀速上攀时,运动员两手所受竹竿的摩擦力方向为_____;若运动员用双手握住竖直的竹竿匀速下滑时,运动员两手所受竹竿的摩擦力方向为_____。
【答案】
向上,向上
69.
如图所示,小球静止在光滑水平面上的台阶边缘,小球受到的作用力有_____,试画出小球的受力示意图。
【答案】
重力和地面支持力
70.
如图所示,一直杆斜搁在固定半球面上,其上端用细线悬挂于天花板上,静止时细线恰竖直,则杆受到_____个力的作用,试画出杆的受力示意图。
【答案】
4
71.
如图所示,A、B两物体并排放在水平地面上,用水平力F向右推物体A,使两物体沿水平地面向右移动,则物体A受到_____个弹力和_____个摩擦力,物体B受到_____个弹力和_____个摩擦力,试分别画出它们的受力示意图。
【答案】
3,1,2,1
72.
如图所示,A、B两物体叠放在水平地面上,都处于静止状态,物体A受到_____个力的作用,物体B受到_____个力的作用,分别画出它们的受力示意图。
【答案】
2,3
73.
如图所示,一根直杆下端着地并斜靠在立方体上,立方体放在水平地面上,杆与立方体都处于静止状态,则杆受到_____个力的作用,立方体受到_____个力的作用,分别画出它们的受力示意图。
【答案】
4,4
74.
如图所示,一人站在水平平台上,通过跨过光滑定滑轮的绳子拉住平台,使人和平台均静止,且人与平台间有相互挤压,则此时人受到_____个力的作用,平台受到_____个力的作用,试分别画出他们的受力示意图。
【答案】
3,4
75.
如图所示,M、N两物体叠放在一起,用水平力F拉下面的物体N,使它们一起沿水平面匀速运动,则物体N除了受到重力和拉力F外,还受到( )。
(A)一个弹力,一个摩擦力 (B)两个弹力,一个摩擦力
(C)一个弹力,两个摩擦力 (D)两个弹力,两个摩擦力
【答案】
B
76.
如图所示,A、B两物体叠放在粗糙水平地面上,用水平向右的力F拉下面的物体B,使它们一起沿水平面向右匀速运动,此时B对A的摩擦力应是( )。
(A)方向向左 (B)方向向右
(C)方向可能向左、也可能向右 (D)不存在摩擦力
【答案】
D
77.
如图所示,M、N叠在一起,放在粗糙斜面上,N的上表面恰水平,用水平力F推N,使它们一起沿斜面匀速向上运动,则( )。
(A)N对M的摩擦力向右
(B)斜面受到M,N和地面对它的三个弹力作用
(C)N受到重力、推力外还受二个弹力和一个摩擦力作用
(D)N对M的支持力大于M的重力
【答案】
C
78.在一端封闭的粗细均匀的薄玻璃管中,被一段水银柱封闭着一定量的空气。用两手指夹住玻璃管使它开口向下竖直放置,不计空气所受到的重力和水银与管壁间的摩擦,则玻璃管受到( )。
(A)4个力 (B)5个力 (C)6个力 (D)7个力
【答案】
D
79.
如图所示,两个相同的光滑球叠放在一圆柱形筒内,试分别画出两球的受力示意图。
【答案】
略
80.
如图所示,A、B两物体叠放在一起用跨过光滑定滑轮的细线相连后放在水平地面上,细线均处于水平状态。现用向左的水平力F拉B物体,使B物体向左移动,试分别画出A、B两物体的受力示意图。
【答案】
略
81.
已知两个共点力F1和F2的大小和方向如图所示,试用作图法求出它们的合力。
【答案】
略
82.有两个共点力F1和F2作用于一个物体上,已知F1=8 N,方向向正东,F2=10 N,方向北偏东30°,试用作图法作出它们的合力,由图可知它们的合力大小为______N。
【答案】
15.6
83.有两个共点力F1和F2作用于一个物体上,已知F1的大小为20 N,方向向正东,F2的大小为50 N,方向向西偏北37°。试用作图法作出它们的合力,由图可知它们的合力的大小为_____N。
【答案】
35
84.两个共点力F1和F2作用于一个物体上,已知它们的大小为F1=F2=10 N。当它们的夹角为60°时,试作出它们的合力。由图可知它们的合力大小为_________N,当它们的夹角为120°时,试作出它们的合力,由图可知它们的合力大小为_______N。
【答案】
17.3
85.两个共点力作用于一个物体上,已知它们同向时合力的大小为A,当它们反向时合力的大小为B,这两个力的大小分别为_______和______,而当它们互相垂直时,合力的大小又为_________。
【答案】
\(\frac{{A + B}}{2}\),\(\frac{{A - B}}{2}\),\(\sqrt {\frac{{{A^2} + {B^2}}}{2}} \)
86.一质点受到三个共点力作用,其中向东的力大小为6 N,向北的力大小为3 N,向西的力大小为2 N,则它们的合力大小为______N,方向_______。
【答案】
5,东偏北37°
87.在“研究共点力的合成”实验中,某同学写下以下步骤,请你指出疏漏和错误的地方:
(A)用图钉把白纸固定在水平木板上。
(B)用图钉把橡皮筋的一端固定在白纸上的A点。
(C)用两条细绳结在橡皮筋的另一端,通过细绳用两个弹簧测力计互成角度地将结点拉到某一位置O,记下两弹簧测力计的示数F1、F2。
(D)用毫米刻度尺按选定标度作出F1、F2的图示。
(E)用一个弹簧测力计通过细绳将结点拉到一定位置,将弹簧测力计示数F按相同标度图示出来。
(F)连接F1、F2和F的末端,看在误差范围内是否组成一个平行四边形。
疏漏处是__________________________________和___________________________。
【答案】
(C)中应记下O点位置及两根细线的方向
(E)中应仍拉到O点,并记下细线的方向
88.关于两个力的合力,下列说法中正确的是( )。
(A)合力随两力间的夹角θ(θ在0°~180°范围内)的增大而减小
(B)合力随两力间的夹角θ(θ在0°~180°范围内)的增大而增大
(C)合力也一定有施力物体和受力物体
(D)有时可以说出合力的性质有时又无法说出合力的性质
【答案】
AD
89.如图所示,物体沿粗糙水平面向左滑动时,地面对物体的总作用力方向应是图( )

【答案】
C
90.两个力合成,关于合力和这两个力的大小关系,下列说法中正确的是( )。
(A)合力总是大于这两个力中的每一个力
(B)合力至少大于这两个力中的一个力
(C)合力可以比这两个力中的每一个力都小
(D)两个力都增大时合力一定增大
【答案】
C
91.作用在某一物体上的两个共点力,其大小分别为10 N和5 N,则它们的合力大小不可能是( )。
(A)4 N (B)6 N (C)8 N (D)16 N
【答案】
AD
92.(1)三个共点力大小分别为F1=3 N,F2=4 N和F3=5 N,求它们的合力的大小范围。
(2)若三个共点力大小分别为F1=2 N,F2=7 N和F3=10 N,则它们的合力大小范围又如何?
【答案】
0~12,1~19
93.车间里某工件重为100 N,与水平地面间的动摩擦因数为0.2,用大小为30 N的水平力向右拉工件,使工件沿着水平地面运动,求:地面对工件的总作用力以及工件所受的合外力。
【答案】
102,与水平面成78.7°,10 N,向右
94.
两个共点力F1和F2的合力大小随着它们的夹角θ变化的关系如图所示(F1、F2的大小不变,且F1>F2)。则F1的大小为_______N,F2的大小为_______N。
【答案】
4,3
95.所受重力为30 N的物体放在水平地面上,物体受到大小为5 N的竖直向上的拉力作用,则物体受到的外力的合力大小为_____N,水平面对物体的支持力大小为_____N。
【答案】
0,25
96.一质点受到四个共点力作用,向正北的力大小为4 N,向正东的力大小为9 N,向正南的力大小为7 N,向正西的力大小为5 N,则它们的合力大小为_____N,方向为_____。
【答案】
5,东偏南37°
97.
在“研究共点力的合成”实验中,橡皮筋一端固定在A点,用两只弹簧测力计通过细绳互成角度地拉橡皮筋,使橡皮筋的另一端伸长到O点,分别记下显示弹簧测力计拉力F1、F2方向的位置M、N(如图所示)和弹簧测力计示数F1=1.5 N,F2=2.0 N,再用一个弹簧测力计拉弹簧,使橡皮筋仍伸长到O点,记下弹簧测力计示数为F=2.5 N,试在图上作出F1、F2和F,并验证平行四边形法则是否正确。
【答案】
略
98.有三个共点力,其中两个分别是20 N和30 N,另一个是F,它们的合力是50 N,则F的大小范围是________N。
【答案】
0~100
99.
如图所示,设有五个共点力同时作用于质点P,它们的大小和方向相当于正六边形的两条邻边和三条对角线,则这五个力的合力大小等于其中最小的力的_____倍。
【答案】
6
100.
已知三个共点力大小分别为F1=50 N,F2=40 N,F3=30 N,方向如图所示,F1与F2的夹角为37°,F2与F3垂直,则这三个力的合力的大小为______N,方向______。
【答案】
80,与F2相同
101.求几个力的合力所用的科学方法是( )。
(A)类比的方法 (B)控制变量的方法
(C)等效替代的方法 (D)观察、实验的方法
【答案】
C
102.一质点受到几个共点力的作用,以质点所在位置为坐标原点建立坐标,则( )
(A)如果几个力都在xOy平面内,则它们的合力也一定在xOy平面内
(B)如果其中几个力不在xOy平面内,则它们的合力也一定不在xOy平面内
(c)如果其中一个力不在xOy平面内,则它们的合力也一定不在xOy平面内
(D)如果其中几个力不在xOy平面内,则它们的合力有可能在xOy平面内
【答案】
ACD
103.
如图所示,水平横梁的一端A插在墙壁内,另一端装有小滑轮B,一轻绳C上端固定在墙壁上,另一端跨过滑轮后悬挂一质量为m=10 kg的重物,已知绳与杆的夹角∠ABC=30°,滑轮B受到绳子的作用力大小为( )。
(A)50 N (B)86.6 N
(C)100 N (D)173 N
【答案】
C
104.已知两个共点力的合力为F,现保持它们的夹角α(0°<α<180°)不变,一个力的大小不变,而另一个力增大到某一值,则( )。
(A)合力F一定增大 (B)合力F一定减小
(C)合力F可能增大也可能减小 (D)合力F大小可能不变
【答案】
CD
105.
如图所示,绳子的一端系于墙上O点,另一端B受到大小为100 N的拉力,绳上A处有一光滑小滑轮,滑轮下面挂一物体,绳子OAB间的夹角为150°,求滑轮受到上面两根绳子的拉力的合力为多大?
【答案】
51.8
106.
如图所示,质点受到两个共点力F1和F2的作用,要使作用在质点上的合力沿虚线方向,需另施加一个作用力F3,试用作图法求出F3的最小值。
【答案】
略
107.
如图所示,已知F1为F的一个分力,试用作图法作出力F的另一个分力F2。
【答案】
略
108.如图所示,用作图法作出力F的两个分力F1和F2,已知F1的方向和F2的大小。

【答案】
略
109.所受重力为 10 N 的物体静止在倾角为 37° 的斜面上,重力沿斜面方向的分力大小为____N,垂直于斜面方向的分力大小为______N。
【答案】
6,8
110.如图所示,两根轻杆铰接后,悬挂一个鸟笼。在图示的各种情况中,你认为哪一根轻杆可以用绳子代替?(a)图中是_____,(b)图中是_____,(c)图中是_____。

【答案】
A,C,E
111.
如图所示,物体静止在水平地面上,现在物体上施加一个与水平面成30°角斜向下的推力F,则物体对地面的压力大小增加了________。
【答案】
F/2
112.把竖直向下的大小为180 N的力分解为两个分力,其中一个分力恰沿水平方向,大小为240 N,那么另一个分力的大小应为_______N,它与竖直方向间的夹角应为_____。
【答案】
300,53°
113.将已知力F(F=10 N)分解为F1、F2,且F1和F的夹角为30°,则F2最小为_____N,此时F1和F2的夹角为______。
【答案】
5,90°
114.
如图所示,一支日光灯用两根不可伸长的细绳悬挂于同一高度的天花板上,现将悬点A、B逐渐靠拢,直到两绳都竖直为止,在此过程中,细绳上的拉力大小变化为( )。
(A)逐渐变大 (B)逐渐变小
(C)先变小再变大 (D)先变大再变小
【答案】
B
115.已知合力、一个分力的大小和另一个分力的方向时,力的分解是( )
(A)一定是唯一的 (B)一定有两个解
(C)一定有无数解 (D)以上都不对
【答案】
D
116.我国自行设计建造的世界第二斜拉索桥——上海南浦大桥,桥面高为46 m,主桥全长为846 m,引桥全长为7500 m,设计建造这样长的引桥其主要目的是( )。
(A)增大汽车对桥面的正压力
(B)减小汽车对桥面的正压力
(C)减小汽车与桥面间的滑动摩擦力
(D)减小汽车重力平行于引桥桥面向下的分力
【答案】
D
117.把一个力分解为两个分力时,下列说法中正确的是( )。
(A)两个分力中,一个分力变大时另一个分力一定减小
(B)两个分力必须同时变大或同时变小
(C)不论如何分解,两个分力不能同时大于这个力的2倍
(D)不论如何分解,两个分力不能同时小于这个力的\(\frac{1}{2}\)
【答案】
D
118.
如图所示,均匀圆柱体重为G、半径为R,搁在两个相同高度的光滑台阶上,若每个台阶对圆柱体的支持力大小也为G,求两台阶间的距离。
【答案】
\(\sqrt 3 \)R
119.
“拱”是一种重要的力学结构,如图所示是我国古代著名的石拱桥——赵州桥的示意图,它是由一块块楔形的石块叠砌而成,假设中央一块石块A所受到的重力为2000 N,它的两个侧面的夹角为30°,侧面与B、C石块间摩擦不计,石块A的中央角平分线与地面相垂直,石块A上站着一个所受重力为600N的人,问这时A对两边石块的压力分别为多大?(要求在图上画出相应的受力图,sin15°=0.26,cos15°=0.97,tan15°=0.27,sin30°=0.50,cos30°=0.87,tan30°=0.58,sin60°=0.87,cos60°=0.50,tan60°=1.73)
【答案】
5000 N
120.将大小为8 N的力分解为两个分力,已知其中一个分力大小为3 N,那么另一个分力的大小可能范围是________N。
【答案】
5~11
121.
已知日光灯连灯架重为12 N,用两根链条悬挂于天花板上,两根链条与天花板的夹角都为60°,如图所示,则每根链条对日光灯的拉力大小为_____N。
【答案】
4\(\sqrt 3 \)
122.将一个竖直向上的大小为40 N的力分解为两个分力,其中一个分力大小为30 N,方向水平向东,则另一个分力的大小为_____N,方向_____。
【答案】
50,上偏西37°
123.
如图所示装置中,OA、OB、OC是完全相同的三根绳子,绳子下面挂一重物,且AO⊥OB,若所挂物体的重逐渐加大,先断裂的绳子是_____段。
【答案】
OC
124.物体放在光滑水平面上,在大小为 40 N 的水平力F作用下,由西向东运动。现要用与 F 在同一水平面内的 F1、F2 这两个共点力来替代 F,已知 F1 的方向是东偏北 30°,则 F2 的最小可能值应为_______N,此时 F1 的大小为______N。
【答案】
20,20\(\sqrt 3 \)
125.
如图所示,球所受重力为G,放在AB、BC两光滑固定夹板间,AB恰竖直,BC与AB的夹角为α=30°,则AB板对球的支持力大小为_____,BC板对球的支持力大小为_____。
【答案】
G,2G
126.有两个共点力,已知F1=6 N,F2=3 N,设它们的合力为F,则F和F1之间的夹角最大为_____,此时合力F的大小_____N。
【答案】
30°,3
127.
如图所示,一物体质量均匀,两端用金属细线拴着,金属线的中点用一个光滑滑环吊在正上方,那么( )。
(A)金属线越短,其张力越大
(B)金属线越长,其张力越大
(C)将金属线变短,其张力先变大后变小
(D)无论金属线长短如何,其张力保持不变
【答案】
A
128.
静止在斜面上的物体受到的重力G可分解成如图所示的两个分力F1、F2,物体与斜面间的动摩擦因数为μ,则( )。
(A)物体同时受到G、F1和F2的作用
(B)F1=Gsinα,是斜面受到的摩擦力
(C)F2=Gcosα,是斜面受到的正压力
(D)斜面受到的摩擦力f=Gsinα
【答案】
D
129.把力 F 分解为两个分力,使一个分力大小也为 F,则( )。
(A)这是办不到的
(B)另一分力一定等于零
(C)另一分力一定也等于 F
(D)另一分力的值可能大于 F
【答案】
D
130.将已知力F分解为F1、F2两个分力,如已知F1的大小及F2与F的夹角θ(θ为锐角),则( )。
(A)当F1>Fsinθ时,一定有两组解 (B)当F1<Fsinθ时,一定有两组解
(C)当F1=Fsinθ时,一定有唯一解 (D)当F1<Fsinθ时,一定无解
【答案】
CD
131.
图为“千斤顶”的示意图。已知它所顶重物所受重力为G,杆OA与杆OB所夹角为θ时,问:
(1)杆OB受到的是压力还是拉力?多大?
(2)杆OA受到的是压力还是拉力?多大?
【答案】
压力,G/sinθ,拉力,Gcotθ
132.
如图所示,为了推动一个大橱,某人找了两块木板,搭成一个人字形,他往中间一站,橱被推动了,设橱和墙壁间的距离为s,两木板的长均为L(L略大于\(\frac{s}{2}\)),人重为G,试求木板对橱的水平推力的大小。
【答案】
\(\frac{{Gs}}{{2\sqrt {4{L^2} - {s^2}} }}\)
133.一个物体在五个共点力作用下保持平衡,现撤掉其中大小分别为F1=25 N和F2=20 N的两个力,其余三个力保持不变,则其余三个力的合力大小范围为______N,而除F1以外的四个力的合力为______N。
【答案】
5~45,25
134.
A、B两长方体木块叠放在水平地面上,在如图所示的两个水平力F1和F2作用下仍保持静止,已知F1为7 N向右,F2为5 N向左,则A、B间摩擦力的大小为______N,B和地面间的摩擦力的大小为______N。
【答案】
7,2
135.
一均匀圆柱体重为G、半径为R,搁在两个等高的光滑台阶上,如图所示。台阶间的距离为R,则每个台阶对圆筒的支持力的大小为______。
【答案】
\(\frac{{\sqrt 3 }}{3}\)G
136.质量为m的物体沿倾角为θ的斜面匀速下滑,它所受的支持力的大小为______,摩擦力的大小为______,物体与斜面间的动摩擦因数为______。
【答案】
mgcosθ,mgsinθ,tanθ
137.
如图所示,用一拉力将悬挂小球的细线拉离竖直位置而偏转了30°,小球所受重力为10 N,则此拉力的最小值应为_____N,此时拉力与细线的夹角应为________。
【答案】
5,90°
138.
如图所示,斜面光滑,倾角为α=30°,球所受重力为100 N,用水平细绳拉住,球静止在斜面上,则斜面受到球的压力大小为______N,水平绳子的拉力大小为____N。
【答案】
115.4,57.7
139.
如图所示,三块重均为G的物体被夹在两块木板之间而保持静止,图中物体A受到B的摩擦力大小为______,方向为______。
【答案】
G/2,竖直向下
140.在四个共点力F1、F2、F3、F4作用下,物体的平衡条件可表述为( )。
(A)F1、F2、F3、F4的合力为零
(B)F1、F2、F3的合力与F4大小相等,方向相反
(C)F1、F2的合力与F3、F4的合力相同
(D)F1、F2的合力与F3、F4的合力大小相等,方向相反
【答案】
ABD
141.在同一平面内大小不同的三个共点力同时作用在一个物体上,以下各组力中,可能使物体平衡的是( )。
(A)2 N、3 N、6 N (B)1 N、4 N、6 N
(C)35 N、25 N、25 N (D)5 N、15 N、25 N
【答案】
C
142.一个物体在许多个共点力作用下处于平衡状态,现使其中某个力F增大10 N,为使物体仍处于平衡状态,应该采取的措施是( )。
(A)其他各个力都增大10 N
(B)其他各个力的合力增大10 N
(C)在力F的反方向加一个大小为10 N的力
(D)将与F反方向的力减小10 N
【答案】
BC
144.
如图所示,电线OA的A端挂一电灯重为4 N,细绳AB拉住电线,拉力大小为3 N,且细线恰水平,求:
(1)电线与竖直方向的夹角θ。
(2)电线对电灯的拉力大小。
【答案】
37°,5 N
145.
如图所示,AB绳水平,BC为轻杆,C处铰于墙上,BC与AB的夹角为30°,物体所受重力为100 N,挂于B端,求绳AB和杆BC所受的作用力大小。
【答案】
100\(\sqrt 3 \) N,200 N
146.同一平面上的三个共点力F1、F2和F3作用于一物体上,物体处于平衡状态,已知F1和F2垂直,F2和F3的夹角为120°,则这三个力的大小之比为F1∶F2∶F3=______。
【答案】
\(\sqrt 3 \)∶1∶2
147.
如图所示,两个半径均为r,重均为G的光滑均匀小球,放在一个半径为R的半球壳内,平衡时,两球之间的相互作用力的大小为______。
【答案】
\(\frac{{Gr}}{{\sqrt {{R^2} - 2Rr} }}\)
148.
如图所示,两根完全相同的橡皮条OA、OAʹ,挂一所受重力为5 N的物体,两橡皮条的结点O恰好在圆心处,若将橡皮条分别移到OB、OB′处,且∠BOB′=120°,要结点O仍在圆心处,此时应改挂的物体重为______N。
【答案】
2.5
149.
如图所示,在一细绳C点系住一重物P,细绳两端A、B分别固定在墙上,使得AC保持水平,BC与水平方向成30°角,已知细绳最大只能承受200 N的拉力,那么C点悬挂物所受重力最大为_____N,这时细绳的______段即将断裂。
【答案】
100,BC
150.如图(a)、(b)和(c)所示,三图中A物体重均为G,悬挂起来且均静止,接触面均光滑,B为弹簧测力计,则(a)图中弹簧测力计的示数为______,(b)图中弹簧测力计的示数为________,(c)图中弹簧测力计的示数为_________。

【答案】
0.6G,5G/6,G
151.放在倾角为30°的木板上的重为30 N的物体恰能沿木板匀速下滑,若将此木板水平放置时仍要物体沿板面做匀速直线运动,则所加的水平力F的大小应为______N。
【答案】
10\(\sqrt 3 \)
152.山东潍坊是风筝之乡,每次风筝节都会吸引国内外大批游客前往观赏。如图所示,设一只风筝静止在空中,用AB表示风筝截面,OC表示拉线,当风向水平时,风筝可能静止的位置是图( )。

【答案】
B
153.
如图所示,ABC为轻质支架,在B端挂一重为G的物体,由于悬绳对B点的拉力,AB杆和BC杆受力的情况正确的是( )。
(A)AB杆受到拉力,BC杆受到压力
(B)AB杆受到压力,BC杆受到拉力
(C)AB杆受力大于G,BC杆受力小于G
(D)AB杆受力小于G,BC杆受力大于G
【答案】
AC
154.
质量为m的球用轻绳悬挂在光滑竖直墙上,绳与墙间的夹角为α,如图所示,绳中张力大小为T,则球对墙的正压力大小为( )。
(A)mgtanα (B)Tsinα
(C)mgsinα (D)\(\frac{{T - mg\cos \alpha }}{{\sin \alpha }}\)
【答案】
ABD
155.
如图所示,物体受四个在同一水平面上的共点力作用下,保持平衡状态,若保持其他力不变,使力F4绕作用点顺时针方向转过90°,则该物体此时受合力的大小为( )。
(A)\(\sqrt 2 \)F4 (B)2F4
(C)F4 (D)\(\sqrt 3 \)F4
【答案】
A
156.
如图所示,所受重力为10 N的小球,用长1 m的轻绳悬于A点,小球置于R=1.3 m的光滑大球面上,A在大球心O的正上方,且A到大球顶的距离为0.7 m,求小球对绳的拉力及对大球面的压力的大小。
【答案】
5,6.5
157.
如图所示,ab、cd、bd均为不可伸长的轻绳,悬挂着甲、乙两个物体且都处于静止状态,bd与天花板平行且水平,花板的夹角分别为45°和60°,求甲、乙两物体的质量比。
【答案】
1∶\(\sqrt 3 \)
158.
放在倾角为α的斜面上的物体所受重力G通常可分解成沿斜面方向的F1和垂直于斜面方向的F2两个分力,如图所示。物体与斜面间的动摩擦因数为μ,其中F1=______,F2=______,若物体静止在斜面上,则它所受摩擦力的大小为f=______。当α逐渐增大时f将______,若物体沿斜面下滑,则f=______。当α逐渐增大时f将______,f的上述两个计算式都适用的条件是物体做______运动,此时μ和α的关系是______。
【答案】
Gsinα,Gcosα,Gsinα,增大,μGcosα,减小,匀速下滑,μ=tanθ
159.
如图所示,重为G的物体在大小为F、方向与水平地面成θ角斜向下的力作用下静止于水平地面上,则物体所受支持力的大小为______,摩擦力的大小为______。
【答案】
G+Fsinθ,Fcosθ
160.重为10 N的物体放在倾角为30°的斜面上,物体与斜面间的动摩擦因数为\(\frac{{\sqrt 3 }}{2}\),现用平行于斜面的拉力作用于物体,为使物体沿斜面向下匀速运动,则拉力的大小为______N,方向______。
【答案】
2.5,平行于斜面向下
161.重为G的物体与水平地面间的动摩擦因数为μ,拉力与水平方向成α角斜向右上方,如果物体在水平方向做匀速直线运动,那么拉力的大小为F=______,拉力与摩擦力的合力的方向是______。
【答案】
\(\frac{{\mu G}}{{\cos \alpha + \mu \sin \alpha }}\),竖直向上
162.
如图所示,物体重为G=35 N,用大小为F=40 N、与竖直方向成60°角斜向上的力推物体,使物体沿竖直墙壁恰匀速下滑,则物体所受摩擦力的大小为______N,物体与墙面间的动摩擦因数为______。
【答案】
15,0.433
163.匀速拉动放在水平地面上质量为1 kg的物体,需水平拉力为4 N。若改用与水平方向成30°角斜向上的拉力使物体仍做匀速运动,则此拉力的大小为______N。
【答案】
3.75
164.
如图所示,物体A重为10 N,受到一个斜向上的力F作用,当F=10\(\sqrt 2 \)N时,物体A静止不动,此时A受到的摩擦力大小为______N,当F=20\(\sqrt 2 \)N时,A正好沿竖直墙壁匀速上滑,则A与墙壁间的动摩擦因数为______。
【答案】
0,0.5
165.
如图所示,重为G的木块A在与水平面成θ角斜向上的F拉力作用下做匀速直线运动,物体受到的摩擦力大小为( )。
(A)Fsinθ (B)Fcosθ
(C)μG (D)μ(G-Fsinθ)
【答案】
BD
166.物体静止在斜面上,则( )。
(A)物体所受重力与弹力的合力沿斜面向下
(B)重力与摩擦力的合力就是对斜面的正压力
(C)弹力与摩擦力的合力与重力平衡
(D)当斜面的倾角变小时,由于物体对斜面的压力增大,所以摩擦力也增大
【答案】
AC
167.
如图所示,物体放在粗糙水平面上,同时受到两个方向相反的水平力F1=6 N和F2=2 N作用,物体处于静止状态,若撤去力F1,则物体所受合力的大小为( )。
(A)0 (B)6 N (C)2 N (D)4 N
【答案】
A
168.
如图所示,放在水平地面上的物体受到与水平面成θ角斜向上的拉力作用而做匀速直线运动,物体受到的拉力F和摩擦力f的合力方向是( )。
(A)向上偏右 (B)向上偏左
(C)竖直向上 (D)无法确定
【答案】
C
169.用细绳拉住所受重力为1 N的氢气球,在浮力和水平风力的作用下,细绳与竖直方向间的夹角为37°时氢气球保持平衡,若浮力的大小为1.8 N,求:
(1)细绳的拉力大小。
(2)风力的大小。
【答案】
1 N,0.6 N
170.
如图所示,在一个两侧底角均为α=60°的V形槽中有一个所受重力为G=100 N的均匀圆柱体,圆柱体与槽之间的动摩擦因数为μ=0.2,要使圆柱体沿水平轴线方向匀速运动,沿水平轴线方向所加的推力应为多大?
【答案】
40 N
171.
如图所示,物体所受重力为G=10 N,作用力大小为F=20 N,力与竖直方向的夹角为α=30°,在力F作用下物体被压在竖直墙上处于静止状态,则物体所受墙壁的弹力大小为______N,所受摩擦力的大小为______N,方向______。
【答案】
10,7.32,向下
172.物体所受重力为55 N,放在水平地面上,在大小为25 N、与水平面夹角为37°斜向上的力F作用下沿地面做匀速直线运动,则物体受地面的弹力大小为______N,物体与地面间的动摩擦因数为______。
【答案】
40,0.5
173.
如图所示,物体所受重力为G,施以大小为F与水平方向间夹角为α的推力,则为使物体沿天花板向右匀速运动,F必须满足的条件是______,此时物体与天花板间的动摩擦因数为______。
【答案】
F=\(\frac{{\mu G}}{{\cos \alpha + \mu \sin \alpha }}\),\(\frac{{F\cos \alpha }}{{F\sin \alpha - G}}\)
174.推力F与水平面成α=37°角斜向下,大小为F=20 N,物体与地面间的动摩擦因数为μ=0.5,物体恰能沿水平面做匀速运动,则物体所受摩擦力的大小为______N,物体所受支持力的大小为______N,物体所受重力为______N。
【答案】
16,32,20
175.在倾角为30°的斜面上,放一个所受重力为200 N的物体,物体与斜面的动摩擦因数为\(\frac{{\sqrt 3 }}{3}\),要使物体沿斜面匀速向上运动,所加的沿斜面方向的作用力大小为______N,方向是______。
【答案】
200,沿斜面向上
176.
如图所示,质量为m=6 kg的物体,静止于倾角为30°的斜面上,当受到一个平行于斜面的拉力作用时仍静止,已知此时的静摩擦力大小为f=40 N,方向水平,那么所施拉力大小为F=______N,其方向与f沿顺时针转过的角度为______。
【答案】
50,143°
177.
如图所示,质量为m=5 kg的物体,置于倾角为θ=37°、质量M=10 kg的粗糙斜面上,用一平行于斜面、大小为50 N的力F推物体,使其沿静止斜面向上匀速运动,则地面对斜面的支持力大小为______N,地面对斜面的静摩擦力大小为______。
【答案】
120,40
178.
如图所示,物体A在倾角为θ的斜面上静止,现在给物体施一水平推力F,使它在斜面上做匀速直线运动,物体A与斜面的动摩擦因数为μ,物体的质量为m,则( )。
(A)物体A将沿与斜面底边平行的方向移动
(B)物体A所受滑动摩擦力大小等于μmgcosθ,方向与F相反
(C)物体A所受滑动摩擦力大小等于μmgcosθ,方向与F成一角度
(D)物体A将斜向下做匀速直线运动
【答案】
CD
179.
如图所示,质量为m的物体一面靠在竖直墙上,另一面受到与竖直方向成α角的力作用而处于平衡状态,物体和墙面间的动摩擦因数为μ,则物体和墙面间的摩擦力大小可能为( )。
(A)0 (B)μFsinα
(C)Fcosα-mg (D)mg-Fcosα
【答案】
ABCD
180.
如图所示,A、B两块质量均为m的木块叠放在水平面上,A受到斜向上与水平面成θ角的力F作用,B受到斜向下与水平面成θ角的力F作用,两木块均静止,则( )。
(A)A、B间一定有静摩擦力
(B)B与水平面间可能有静摩擦力
(C)B对A的支持力一定小于mg
(D)水平面对B的支持力可能大于2mg
【答案】
AC
181.如图所示,放在光滑斜面上的物体在不同外力F分别作用下恰能保持平衡,则下面各图中力F最小的是( )。

【答案】
C
182.
如图所示,球重为G,半径为R,长方体木块重为W、厚为h,当对木块施以水平推力F后,球刚好对地面压力为零,如不计一切摩擦,求:
(1)F的大小。
(2)木块对地面的压力。
【答案】
\(\frac{{G\sqrt {{R^2} - {{(R - h)}^2}} }}{{R - h}}\),W+G
183.
两个均匀球A、B,所受重力分别为GA=10 N和GB=20 N,半径均为R1=5 cm,置于一半径为R2=9 cm的圆筒内,如图所示,试求 :
(1)两球在接触处M、N、Q对圆筒的压力大小。
(2)两球接触处P的弹力大小。
【答案】
NM=NN=13.3 N,NQ=30 N,NP=16.7 N
184.放在倾角逐渐增大的木板上的物体,若始终与木板保持相对静止,则物体所受支持力的大小将______,物体所受摩擦力的大小将______(均选填“变大”、“变小”或“不变”)。
【答案】
变小,变大
185.细绳的下端拴一个钩码,上端固定在悬点上,用水平力F作用于钩码使它向一侧缓慢移动一段距离。在此过程中绳子拉力的大小将______,水平力的大小将______(均选填“变大”、“变小”或“不变”)。
【答案】
变大,变大
187.
如图所示,板AB可绕过下端B点的水平轴自由转动,G为光滑圆柱,板AB与斜面的夹角θ<90°,当θ逐渐变大直至AB板水平的过程中,AB板受到的压力大小变化情况是______。
【答案】
先变小后变大
187.
如图所示,一均匀圆筒搁在两个等高的光滑台阶上,处于静止状态,现缓慢增大两台阶的间距,则每个台阶对圆筒的支持力大小将______(选填“变大”、“变小”或“不变”)。
【答案】
变大
188.
如图所示,轻杆下端铰于地面,上端用大小恒定的水平力F拉住,且用铁丝斜向拉住轻杆上端,杆恰竖直,现将铁丝从实线位置缓慢变为虚线位置,铁丝的长度也随之变化,而杆仍静止在原来位置,则铁丝中的拉力大小将______,杆所受到的压力大小将______(均选填“变大”、“变小”或“不变”)。
【答案】
变大,变大
189.
如图所示,轻杆下端铰于地面,上端用大小恒定的水平力F拉住,且用铁丝斜向拉住轻杆上端,杆呈倾斜状态,现将铁丝从实线位置缓慢拉到虚线位置,铁丝的长度也随之变化,而杆仍静止在原来位置,则铁丝中的拉力大小变化情况是______,杆所受到的压力大小变化情况是______。
【答案】
先变小后变大,变小
190.
如图所示,一个重球用细绳悬挂于竖直墙边,当把悬绳缩短些后,与原来相比,绳对球的拉力大小将______,墙对球的支持力大小将______(均选填“变大”、“变小”或“不变”)。
【答案】
变大,变大
191.
如图所示,用一根细线沿水平方向把电灯拉至如图中实线位置A,细线的一端固定在墙上O点,这时电线AC中的拉力大小为T1,线OA中的拉力大小为T2,如果把电灯拉到图中虚线位置Aʹ,水平线的一端固定在墙上Oʹ点,这时电线AC中的拉力大小为T1ʹ,线OA中的拉力大小为T2ʹ,则( )。
(A)T1ʹ>T1,T2ʹ=T2 (B)T1ʹ=T1,T2ʹ>T2
(C)T1ʹ<T1,T2ʹ<T2 (D)T1ʹ>T1,T2ʹ>T2
【答案】
D
192.
如图所示,一均匀光滑小球放在竖直墙壁和倾斜木板之间,木板上端用绳系住,下端可绕过O点的水平轴自由转动,在逐渐将绳放长而使木板转到水平前的过程中( )。
(A)小球对墙面的压力逐渐增大
(B)小球对墙面的压力不变
(C)小球对木板的压力逐渐增大且恒小于球的重力
(D)小球对木板的压力逐渐减小且恒大于球的重力
【答案】
D
193.
如图所示,一物体用细线悬挂于天花板上,另用一倾斜拉力T1拉住绳上的O点,细线中的拉力为T2,现保持O点不动,改变T1方向,开始时T1和T2恰垂直,则( )。
(A)T1向x轴靠近时,T1减小,T2增大
(B)T1向x轴靠近时,T1、T2都增大
(C)T1向y轴靠近时,T1、T2都减小
(D)T1向y轴靠近时,T1增大,T2减小
【答案】
BD
194.
如图所示,物体受到斜向上的力F作用而紧靠在竖直墙上,当F逐渐增大时物体仍保持静止,则( )。
(A)物体所受摩擦力可能减小 (B)弹力可能减小
(C)合力减小 (D)所有力都不可能减小
【答案】
A
195.
用与水平地面间夹角为α斜向下的力F推物体,物体仍静止在水平地面上,如图所示,现保持F的大小不变,使F与水平地面间的夹角α逐渐减小,但物体仍保持静止,则在此过程中物体对地面的压力、物体所受摩擦力及物体所受合力如何变化 ?
【答案】
压力减小,摩擦力增大,合力不变
196.在静水中匀速行驶的小船,受到的阻力大小为200 N,已知小船在水平方向上受到两个拉力的作用,其中拉力F1大小为100 N,方向与小船前进方向成60°角,则拉力F2沿什么方向才能以最小的拉力使小船匀速前进?这时F2的大小为多少?
【答案】
与F1垂直,173 N
197.
均匀球放在光滑斜面上,并用力F拉住球,使球处于静止状态,如图所示,现将力F的方向由图中实线位置缓慢改变到图中虚线位置,但球始终静止,则在此过程中拉力F的大小变化情况是_______,球对斜面的压力大小变化情况是_______。
【答案】
先减小后增大,减小
198.
如图所示,一物体用两根绳悬挂,OB绳恰水平,现保持AO绳位置不动,放长OB绳,使B端缓慢上移,直到OB绳达到竖直前的过程中,OB绳中的张力大小变化情况是______。
【答案】
先变小后变大
199.
如图所示,一平行于斜面的细线拴一小球,小球置于光滑斜面上,用一水平力F缓慢向左推动或向右拉动斜面,则F向左时线上拉力T的大小变化情况是_______,F向右时线上拉力T的大小变化情况是_______。
【答案】
增大,增大
200.
如图所示,水平面上固定一光滑半球,球心O的正上方固定一个小滑轮,绳上拴一小球,小球置于半球面上的A点,绳绕过定滑轮,另一端用力F拉,现缓慢地将小球从A点拉到B点,则此过程中,小球对半球面的压力N的大小变化情况是_______,细线拉力T的大小变化情况是_______。
【答案】
不变,变小
201.
如图所示,一物体套在光滑竖直杆上,通过固定滑轮用绳拉物体,使它匀速上升,在上升到与滑轮同样高度之前,绳子拉力F的大小变化情况是________,物体对杆的压力N的大小变化情况是_________。
【答案】
增大,增大
202.
如图所示,人通过跨过光滑滑轮的绳子拉住一个物体,当人向右跨一步后,人与物仍保持静止。则与原来相比,地对人的摩擦力大小将_______,人对地的压力大小将_______(均选填“变大”、“不变”或“变小”)。
【答案】
变大,变大
203.
如图所示,有一个直角支架AOB,AO水平放置,表面粗糙,OB竖直向下,表面光滑,AO上套有小环P,OB上套有小环Q,两环质量均为m,两环间由一根质量不计、不可伸长的细绳相连,并在某一位置平衡,现将P环向右移动一小段距离,两环再次达到平衡,那么再次平衡后与原来相比,AO杆对P环的支持力N的大小将_______,细绳上的拉力T的大小将_______,AO杆对P环的摩擦力f的大小将_______(均选填“变大”、“不变”或“变小”)。
【答案】
不变,变大,变大
204.
如图所示,重物A原来静止在斜面上,在平行于斜面向上的推力F从零开始逐渐增大的过程中,A始终不动,则A所受的摩擦力将( )。
(A)逐渐增大 (B)逐渐减小
(C)在某时刻可能为零 (D)方向始终不变
【答案】
C
205.
如图所示,在水平拉为F作用下,物体A向右运动时,物体B匀速上升,则地面对A的支持力大小N,物体A所受摩擦力大小f,绳子拉力大小T将( )。
(A)均增大 (B)均减小
(C)N、f增大,T不变 (D)N增大,f减小,T不变
【答案】
C
207.
如图所示,用绳牵引小船,设水的阻力不变,则在小船匀速靠岸的过程中( )。
(A)绳子拉力不断增大
(B)绳子拉力大小不变
(C)船的浮力减小
(D)船的浮力增大
【答案】
AC
207.
如图所示,一物体A放在粗糙斜面上保持静止,现用水平力F推物体A,当F由零略增大一些时,物体仍静止,则( )。
(A)物体所受静摩擦力增大
(B)物体所受静摩擦力减小
(C)物体所受合力增大
(D)物体受到斜面支持力增大
【答案】
BD
208.
如图所示,相距为4 m的两竖直墙壁上的A、B两点拴有一根长为5 m的轻绳,绳上有一小滑轮C,吊着重为120 N的物体。
(1)求绳上的张力大小。
(2)若将绳的右端沿墙壁上提一些,绳中的张力大小如何变化?
【答案】
100 N,不变
209.
用与斜面成θ角斜向上的拉力F拉物体,使物体静止于倾角为α的斜面上,如图所示,现保持F的大小不变,使θ角逐渐减小,而物体仍静止,则物体对斜面的压力的大小、物体所受摩擦力的大物体所受合外力的大小如何变化?
【答案】
压力增大,合力不变,当F≥mgtanα时,摩擦力增大;当mgsinα<F<mgtanα时,摩擦力先减小后增大,当F<mgsinα时,摩擦力减小
2006 - 2026,推荐分辨率 1024*768 以上,推荐浏览器 Chrome、Edge 等现代浏览器,截止 2021 年 12 月 5 日的访问次数:1872 万 9823。 站长邮箱
