第一章 运动的描述 参考资料
1.运动学与参考系
质点的机械运动表现为质点的位置随时间的变化,质点的位置是相对于一定的参考系来说的。参考系是指选来作为研究物体运动依据的一个三维的、不变形的物体(刚体)或一组物体为参考体,并在参考体上选取不共面的三条相交线作为标架。为了定量地描述物体的运动,我们在参考系上还要建立坐标系。
从运动学角度看,所有参考系都是平权的,选用参考系时只考虑分析解决问题是否简便。对一个具体的运动学问题,我们一般从方便出发选取参考系以简化物体运动的研究。古代研究天体的运动时,很自然以地球为参考系。托勒密的“地心说”用本轮、均轮解释行星的运动。哥白尼用“日心说”解释行星运动时,也要用本轮和均轮。虽然“地心说”和“日心说”都可以同样好地描述行星的运动,但从研究行星运动的动力学原因的角度看,“日心说”开通了走向真理的道路。开普勒在“日心说”的基础上,把行星的圆周运动改变为椭圆运动,从而扔掉了本轮、均轮的说法,并在观测的基础上建立了行星运动三定律,作出了重要的贡献。牛顿进一步揭示了开普勒三定律的奥秘,建立了万有引力定律,概括出“万有引力”的概念。
从动力学角度看,参考系区分为惯性参考系和非惯性参考系两类。牛顿运动定律等动力学规律只对惯性参考系成立,对不同的非惯性参考系要应用牛顿运动定律,需引入相应的惯性力修正。
2.用矢量语言描述物体的运动
科学语言包括科学术语、符号、公式和图表,具有含义精确、形式简洁的特点,在科学技术的许多部门都有广泛应用的矢量语言,也具有这些特点。在质点运动学中,我们用矢量表述物理量的定义和物理量间的关系,具有内容准确、形式简洁、不依赖于坐标系的选择的优点,给我们研究问题、分析解决问题带来很大方便。
创造矢量语言不容易,学习、掌握矢量工具也有困难。矢量的学习是高中物理和初中物理的重要区别之一。初学者很不习惯这种既有大小又有方向且遵从特殊运算法则的矢量,对矢量合成、分解的许多不同于标量的特点(平行四边形定则)感到奇怪、不好理解,这是自然的。教师应根据自己对矢量的理解、教学实践和学生实际情况逐步解决。
没有必要对初学者给出矢量的严格定义,因为这是困难的。“有大小和方向的量叫矢量”不是矢量的定义。因为像角位移这样的物理量,虽然既有大小,又有方向,但它的合成与转动先后次序有关,因而一般不是矢量。而“有大小、方向且满足平行四边形定则的量叫矢量”也不是矢量的严格定义。对初等物理,懂得用一定指向的线段表示矢量(矢量的几何表示),理解矢量的合成、分解满足平行四边形定则(矢量的几何表示),知道矢量可以用坐标轴上的分量表示(矢量的解析表示)已足够用了。
3.如何测量瞬时速度?
瞬时速度的严格定义是 v = limΔt→0 \(\frac{{\Delta x}}{{\Delta t}}\) = \(\frac{{{\rm{d}}x}}{{{\rm{d}}t}}\)。实际上不可能测量一个数学上无穷小的时间和长度,只能测量足够小的某一确定时间间隔内的平均速度。只要时间间隔 Δt 足够小,通过对相应的 Δx 的测量而求出的平均速度 \(\frac{{\Delta x}}{{\Delta t}}\),与 t 时刻的瞬时速度 v 的差值也就可以达到足够小,从而认为它可以相当准确地代表 t 时刻的瞬时速度。这个“足够小”常称为物理上的无穷小,要小到什么程度,依赖于对于实验精度的要求和测量技术的进步。随着实验技术和测量精度的提高,极小时间间隔和极小长度测量技术的提高,瞬时速度的测量也就愈趋精确。
以匀加速运动的物体为例,设某时刻 t 的速度为 2 m/s,加速度为 10 m/s2,如果能够准确测定 Δt = 0.1 s 时间以及相应的位移 Δx,则平均速度为 2.5 m/s。显然用它来表示 t 时刻的瞬时速度,误差达 25%!如果能准确测量 0.01 s 的时间和相应的位移,则平均速度为 2.05 m/s,用它表示 t 时刻的速度,误差约为 2.5%。如果能测量 0.001 s,则平均速度为 2.005 m/s,用它表示 t 时刻的速度,误差仅为 0.25%。由此可见,随着对越来越短的时间间隔和所通过的长度的准确测量,就可以越准确地测定瞬时速度。
对于一般的测量,时间间隔能测到毫秒,所求出的速度的精确度就可以与对其他物理量测量的精确度相协调了,所以一般实验中采用带有光电控制的电子毫秒计计时。
4.怎样才算对质点的运动作了充分的描述?
描述运动要了解质点在任一时刻(或位置)的运动状态。那么,怎样来描述运动状态呢?以位置为自变量,研究速度随位置的变化;还是以时间为自变量,研究运动状态随时间的变化?伽利略在研究落体运动、斜面运动中找到了出路,这就是把时间作为基本的自变量,把位置和速度作为随时间而变化的函数,并由此建立了加速度概念。于是,以时间为自变量,位置(坐标)、速度与加速度成为密切相关的基本运动学量。这种描述运动的方法,对以后整个牛顿力学的建立在方法论上有不可磨灭的贡献。
质点的运动规律由运动方程 x = x(t)描写。以直线运动为例,运动方程式为 x = x(t),它描述坐标对时间的函数关系,能确定物体在任一时刻的位置。由 x = x(t),通过求导运算就可以确定任一时刻的速度 v = \(\frac{{{\rm{d}}x}}{{{\rm{d}}t}}\)。进而可确定任一时刻的加速度 a = \(\frac{{{\rm{d}}v}}{{{\rm{d}}t}}\) = \(\frac{{{{\rm{d}}^2}x}}{{{\rm{d}}{t^2}}}\)。由此可见,只要知道了运动方程 x = x(t),也就确切地把握了任一时刻的速度和加速度。因此我们说,运动方程就充分地描述了质点做直线运动的规律。
反之,如果已知速度随时间变化的规律 v = v(t),则不能说已充分地描述了运动。原因是速度变化的规律不能唯一确定位置变化的规律。质点可以在不同的位置上都具有由 v = v(t)所决定的速度。例如,有几个质点沿同一直线运动,它们在各不相同的初位置同时从静止开始做匀加速运动,速度按 v = v(t)的规律变化,则这几个质点在任一时刻会有相同的速度;但由于它们的出发点不同,因而位置也不相同。所以只知道 v = v(t)不能确切描述某一个质点的运动,还必须指明这个质点的出发点位置,即 t = 0 时的坐标 x0。只有确定了初始位置,这个质点在任一时刻 t 的位置才能确定,其规律为 x = x0 + \(\frac{1}{2}\)at2。
如果已知加速度的变化规律,则还必须知道在某一给定时刻 t0 的速度 v0 和位置 x0,才能确切知道在任一时刻的位置 x 和速度 v,也才算是对运动作出了充分的描述。
5.北斗卫星导航系统
北斗卫星导航系统(简称北斗系统)是中国自主建设、独立运行的卫星导航系统,能为全球用户提供全天候、全天时、高精度的定位、导航和授时服务。中国北斗系统与美国全球定位系统、俄罗斯格洛纳斯卫星导航系统、欧洲伽利略卫星导航系统并称为四大全球卫星导航系统。北斗系统在 2012 年已实现面向亚太地区提供定位、导航、授时服务,到 2020 年建成覆盖全球的北斗卫星导航系统。
(1)北斗系统的组成及特点
北斗系统由空间段、地面段和用户段三部分组成。北斗系统空间段由若干地球静止轨道卫星、倾斜地球同步轨道卫星和中圆地球轨道卫星三种轨道卫星组成混合导航星座;地面段包括主控站、时间同步/注入站和监测站等若干地面站;用户段包括北斗兼容其他卫星导航系统的芯片、模块、天线等基础产品,以及终端产品、应用系统与应用服务等。
相对于其他系统,北斗系统具有自己独特的优点:北斗系统空间段采用三种轨道卫星组成的混合星座,与其他卫星导航系统相比高轨卫星更多,抗遮挡能力强,尤其在低纬度地区性能特点更为明显;北斗系统提供多个频点的导航信号,能够通过多频信号组合使用等方式提高服务精度;北斗系统创新融合了导航与通信能力,具有实时导航、快速定位、精确授时、位置报告和短报文通信服务五大功能。
由定位原理可以知道,定位时北斗接收机(即用户)并不需要发射信号与卫星通信,仅需要被动接收导航卫星的无线电信号,定位计算在用户终端就能完成。这种定位方式被称为无源定位。无源定位不会给导航卫星带来负担,因此北斗系统定位服务的用户数量不受限制,理论上来说是无限大,有利于北斗应用的大范围推广。
(2)北斗系统的定位原理
定位是卫星导航系统的核心功能之一,位置信息是北斗相关应用产品需要的基础信息。一般单频接收机用户的定位精度可以到米级,双频接收机或采用更精细的算法,可以进一步提升精度,达到厘米级甚至毫米级。
下面以单点定位方法为例介绍定位原理。北斗卫星发射电磁波信号,接收机在地面接收并“比对”卫星信号,得到信号从卫星到接收机的传播时间。采用距离交会的方法,对某~时刻的接收机观测,可以列出方程组:
cΔt = (xi – x0)2 + (yi – y0)2 + (zi – z0)2 + cδt,i = 1,…,n
其中 c 为光速,Δt 为信号从卫星到接收机的传播时间,(x0,y0,z0)为接收机的坐标,(xi,yi,zi)为卫星坐标,δt 为接收机的钟差。这里忽略了卫星之间的钟差。分析上述方程组,其中卫星位置可以从导航信息或星历信息得到,Δt 由接收机观测得到,因此作为已知量,还有接收机坐标和接收机钟差 4 个未知数,所以接收机必须同时至少观测 4 颗卫星才能计算接收机三维坐标(x0,y0,z0),即定位接收机位置。
上述方程中还忽略了无线电信号通过电离层和对流层产生的延迟,实际应用中需要通过模型或其他算法消除或削弱这些误差项带来的影响。
单点定位方法的优点是只需一台接收机的观测,数据处理较为简单,因而是单频接收机用户的主要定位方法。缺点是定位精度低,一般为米级。当大地测量需要精密定位时,就需要更复杂精细的定位算法。
(3)北斗系统的应用
随着北斗系统服务能力的提升,北斗系统应用的推广取得了长足发展,广泛应用于大众消费、智慧城市、交通运输、公共安全、减灾救灾、农业渔业、精准机控、气象探测、通信、电力和金融授时等众多领域。
目前很多智能手机的定位功能已由 GPS 定位转为支持北斗定位。北斗和其他卫星导航系统组合导航的智能车载终端也开始应用于多款车型。基于车辆北斗定位,结合车联网、移动通讯等先进技术,可以实现车辆动态位置实时监控、调度控制等多项功能,从而更好地管理特殊车辆,如环卫车、公交车、公务车等。北斗定位导航和短报文通信等功能应用于船舶,可以显著提高海上遇险报警和搜救能力。
北斗高精度定位技木应用的前景同样广阔。利用毫米级的精密定位,目前已经实现的水电站大坝形变监测和桥梁健康智能监测,具有无人值守、全天候不间断获取实时数据的优点,能及时发现安全隐患,为长期维护等工作提供了数据和技术支持。集北斗系统、电机精确控制、机械转向控制技术于一体的农机自动驾驶技术,可以应用在大中型拖拉机上以及各种收获机械、水田作业机械(如插秧机)等农机,进行耕、种、管、收各个环节的农业作业,农机行走作业精度可达厘米级。
同时,北斗已经走出国门,北斗芯片和模块等基础产品已输出到很多国家和地区,包括众多“一带一路”国家和地区。
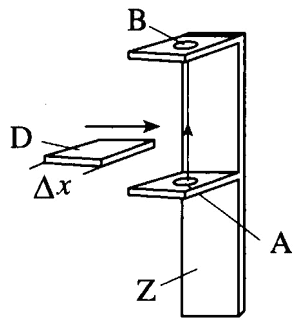
6.利用数字计时器测量速度
在测量速度的实验中,如果利用数字计时器替代打点计时器进行测量,可以得到更精确的结果。测量时,要将安装在气垫导轨侧面的光电门连接到数字计时器上,并且在运动的滑块上安装挡光片。如图 1−13所示,Z 为光电门的立柱,A 为光源(红外发光管或微型灯泡),B 为光电三极管。通常情况下,A 发出的光束能够被 B 接收。挡光片运动时会从 A、B 之间经过而遮挡光束。

计时器有两种工作方式。第一种是测量一个光电门的光束被遮挡的时间 Δt,配合条形挡光片 D 使用。这段时间内,滑块的位移等于挡光片的宽度 Δx,于是就可以求出滑块运动的平均速度。
第二种是测量前后两次挡光的间隔时间。可以按照图 1−14 设置两个光电门 G1、G2,当条形挡光片的前沿 a 对 G1 挡光的时刻开始计时,到它对 G2 挡光的时刻停止计时,显示的时间间隔 Δt 是与 G1 到 G2 的距离 Δx 这一段位移对应的,从而可以计算出平均速度。也可以按照图 1−15 只设置一个光电门 G,但是在滑块上安装 U 形挡光片,挡光片的两个前沿 a1、a2 的距离为 Δx。当 a1 对 G 挡光的时刻开始计时,到 a2 对 G 挡光的时刻停止计时,显示出的时间间隔 Δt 是与位移 Δx 对应的,也可以由此计算出平均速度。
数字计时器能够测量出小到 1 ms 或 0.1 ms 这么短的时间间隔,因而可以测量出比较精确的速度值。
发布时间:2025/5/17 下午3:45:36 阅读次数:646