7.4 固体比热
在量子论初期史中,固体比热的研究是继黑体辐射和光电效应之后的又一重大课题。1907 年爱因斯坦进一步把能量子假说用于固体比热,克服了经典理论的又一困难,并及时得到了能斯特(Walther Nernst,1864—1941)的实验验证和大力宣传,使量子论开始被人们认识,从而打开了进一步发展的局面。
7.4.1 固体比热的历史
固体比热是化学家和物理学家共同关心的问题。1819 年,化学家杜隆(P.L.Dulong,1785—1838)和物理学家珀替(A.T.Petit,1791—1820)在长期合作研究物质的物理性质与原子特性的关系之后,进行了一系列比热实验。他们选择的对象是各种固体,想通过比热研究其物理性质。在大量数据的基础上他们发现,对于许多物质原子量和比热的乘积往往是同一常数。由此总结出一条定律:所有简单物体的原子都精确地具有相同的热容量。
这个经验定律在分子动理论中得到解释。根据麦克斯韦-玻尔兹曼能量均分原理,如果每个原子都看成是谐振子,则定容原子热(按:原子热即摩尔热容)应为
\[{C_V} = 6 \times N \times \frac{1}{2}k = 3R \approx 6\;卡/克原子 \cdot 度\]
与杜隆-珀替的实验数据基本相符。
1864 年,化学家柯普(H.F.M.Kopp)将这一定律推广到化合物,解释了 1832 年纽曼(F.E.Neumann)的分子热定律。这个定律是说:化学式为 Aa,Bb,Cc 的化合物,其分子热容量等于
\[C = a{C_A} + b{C_B} + c{C_C} + \cdots \]
其中 CA,CB,CC,…分别为不同元素 A,B,C,…的原子热。
这两个定律在实际上有重要的应用价值,因为根据杜隆-珀替定律可以从比热推算未知物质的原子量,而根据纽曼-柯普定律可以推算化合物的分子热。
然而,实验并不都与杜隆-珀替定律相符。人们早就知道较轻的某些固体:例如铍、硼、碳、硅,其原子热(摩尔热容)小于 3R,特别是金刚石,在常温下只有 1.8卡/克原子·度。1872 年,H.F.韦伯(Heinrich Friedrich Weber)经过仔细实验,发现在高温(约 1 300℃)时,金刚石的 CV 值竟达到了 6 卡/克原子·度。这正是杜隆-珀替定律的标准结果,说明那些例外情况与物质的熔点高有关。以此类推,室温下原子热接近正常值的物质应在低温下偏离杜隆-珀替定律,这就引起了人们研究物质比热随温度变化的兴趣。随即,H.F.韦伯的发现为许多实验家在低温下测量不同物质的比热实验所证实。1898 年贝恩(U.Behn),1905 年杜瓦均有文章论述。温度越低,比热越小,已成为众所周知的事实。
H.F.韦伯是苏黎世联邦工业大学的物理教授,他的工作成果自然会受到他的学生重视,而爱因斯坦早年就学于苏黎世时,正好听过他的讲课,并在他的实验室中工作过。
7.4.2 爱因斯坦对固体比热的研究
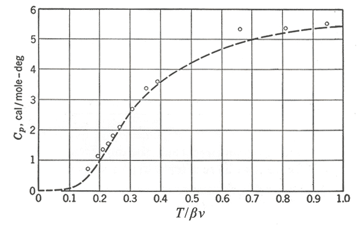
1906 年,爱因斯坦应用普朗克的量子假说于固体比热,发表了《普朗克的辐射理论和比热容理论》一文。他假设固体中所有原子都是以同一频率 ν 振动,每个原子有三个自由度,N 个原子的平均能量为
\[E = 3N\frac{{h\nu }}{{\exp \left( {\frac{{h\nu }}{{kT}}} \right) - 1}}\]
其中 N 为阿伏伽德罗常数,T 为绝对温度,由此得定容原子热为
\[{C_V} = \frac{{{\rm{d}}\bar E}}{{{\rm{d}}T}} = 3R\frac{{{{\left( {\frac{{h\nu }}{{kT}}} \right)}^2}\exp \left( {\frac{{h\nu }}{{kT}}} \right)}}{{{{\left[ {\exp \left( {\frac{{h\nu }}{{kT}}} \right) - 1} \right]}^2}}}\]
或如爱因斯坦那样,取 β = \(\frac{h}{k}\),得
\[{C_V} = 5.94\frac{{{{\left( {\frac{{\beta \nu }}{T}} \right)}^2}\exp \left( {\frac{{\beta \nu }}{T}} \right)}}{{{{\left[ {\exp \left( {\frac{{\beta \nu }}{T}} \right) - 1} \right]}^2}}}\]
他引用 H.F.韦伯的测量数据,与理论曲线比较(如图 7 – 8),理论和实验基本相符。

爱因斯坦写道:“必可期望,……在足够低的温度下,一切固体的比热容将随着温度的下降而显著下降。”[1]
爱因斯坦第一次用量子理论解释了固体比热的温度特性并且得到定量结果。然而,这一次跟光电效应一样,也未引起物理学界的注意。不过,比热问题很快就得到了能斯特的低温实验所证实,比光电效应要有利得多。有趣的是,能斯特从事低温下固体比热的测量,原来并不是为了检验爱因斯坦的比热理论,而是从自己的目的出发,为了检验他自己的热学新理论(参看 2.6 节)。实验的结果不仅证实了能斯特的理论,也给爱因斯坦提供了直接的证据。
7.4.3 能斯特的工作
能斯特的低温比热实验有相当难度。他要求把比热的测量做到液氢温度(氢的沸点为 − 252.9℃,即 20.3 K),可是氢的液化还刚由杜瓦实现不久,技术上存在很多问题。以前测低温下的比热,都是取很大一段温度间隔,得到的是比热的平均值,不能反映真实情况。为此,能斯特和他的学生作了重大改进。他们创制了真空量热计,温度间隔只需取 1° ~ 2°。这是一项十分细致的工作,因为待测的量极其微小。实验历时 3 ~ 4 年,直到 1910 年 2 月,才发表实验结果。能斯特在论文中宣称所得结果与爱因斯坦的理论定性相符。
为了探讨比热的理论,能斯特亲自到苏黎世访问爱因斯坦。能斯特本来并不相信量子理论,是他的学生林德曼(F.Lindemann)促使他接近量子理论。1910 年,林德曼发展了爱因斯坦的比热理论,并根据物质的熔点温度、分子量和密度计算原子振动频率,结果与实验所得光学吸收频率相符,使能斯特对爱因斯坦的工作产生了信心。当液氢温度下获得的新数据说明爱因斯坦的理论确实是解决比热问题的惟一途径时,能斯特写道:
“我相信没有任何一个人,经过长期实践对理论获得了相当可靠的实验验证之后(这可不是一件轻而易举的事),当他再来解释这些结果时,会不被量子理论强大的逻辑力量所说服,因为这个理论一下子澄清了所有的基本特征。”[2]
能斯特不只是宣布自己是量子理论的支持者,而且还促使这个理论进一步得到发展。他发现,当温度降到接近绝对零度时,比热并不是像爱因斯坦公式表示的那样按指数下降,而是下降得更慢一些。1911 年,能斯特与林德曼根据爱因斯坦的方程提出一经验公式
\[{C_V} = \frac{{3R}}{2}\left\{ {\frac{{{{\left( {\frac{{\beta \nu }}{T}} \right)}^2}\exp \left( {\frac{{\beta \nu }}{T}} \right)}}{{{{\left[ {\exp \left( {\frac{{\beta \nu }}{T}} \right) - 1} \right]}^2}}} + \frac{{{{\left( {\frac{{\beta \nu }}{{2T}}} \right)}^2}\exp {{\left( {\frac{{\beta \nu }}{{2T}}} \right)}^2}}}{{{{\left[ {\exp \left( {\frac{{\beta \nu }}{T}} \right) - 1} \right]}^2}}}} \right\}\]
这是对爱因斯坦理论的重要补充。爱因斯坦旋即承认这是一个有价值的公式。其实,他早就申明过,用单一频率是为了简化,不可避免某些地方会造成理论和实验结果的分歧。
7.4.4 第一届索尔威会议
量子理论应用于比热问题获得成功,引起了人们的注意,有些物理学家相继投入这方面的研究。在这样的形势下,能斯特积极活动,得到比利时化学工业巨头索尔威(Ernest Solvay,1838—1922)的资助,促使有历史意义的第一届索尔威国际物理会议于 1911 年 10 月 29 日在比利时的布鲁塞尔召开,讨论的主题就是《辐射理论和量子》。在这次会议上,能斯特和爱因斯坦对比热问题都作了发言。他们的看法虽有不同,但在对待量子理论的态度上没有重大分歧。[3]
索尔威会议在宣传量子理论上起了很好的作用。与会者多是一流的科学家,他们把会议的内容带回各自的国家,影响到更多的同行。例如,卢瑟福回到英国,曾与玻尔详细讨论过索尔威会议的内容,法国的路易斯·德布罗意从他兄长莫里斯·德布罗意编辑的索尔威会议文集中获得了会议的信息,引起了极大的兴趣。他们两人后来都对量子理论的发展做出了卓越的贡献。索尔威会议以后每隔 3 ~ 4 年召开一次,每一次都及时地讨论了重大的科学前沿问题,对物理学的发展起了推动作用。

图中从左到右,坐者:能斯特、布里渊、索尔威、洛伦兹、瓦伯、佩兰、维恩、居里夫人、彭加勒;站者:哥茨米特、普朗克、鲁本斯、索末菲、林德曼、莫里斯·德布罗意、克努曾、海申诺尔、霍斯特勒、赫森、金斯、卢瑟福、卡麦林-昂纳斯、爱因斯坦、朗之万
[1] 爱因斯坦全集,第二卷.湖南科技出版社,2002.145
[2] Klein M J.Science,1965(148):176
[3] Mehra J.The Solvay Conference on Physics.Reidel,1975
文件下载(已下载 41 次)发布时间:2024/3/4 下午1:22:11 阅读次数:3518