1985 年诺贝尔物理学奖——量子霍耳效应

1985 年诺贝尔物理学奖授予德国斯图加特固体研究马克斯·普朗克研究所的冯·克利青(Klaus von Klitzing,1943— ),以表彰他发现了量子霍耳效应。
量子霍耳效应的发现
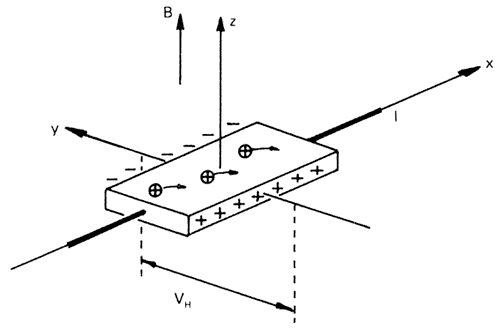
霍耳效应是 1879 年美国物理学家霍耳(Edwin Hall)研究载流导体在磁场中导电的性质时发现的一种电磁效应。他在长方形导体薄片上通以电流,沿电流的垂直方向加磁场发现在与电流和磁场两者垂直的两侧面产生了电势差,如图 85 – 1 所示。后来这个效应广泛应用于半导体研究。一百年过去了,1980 年一种新的霍耳效应又被发现。这就是德国物理学家冯·克利青从金属-氧化物-半导体场效应晶体督(MOSFET)发现的量子霍耳效应。他在硅 MOSFET 管上加两个电极,把 MOSFET 管放到强磁场和深低温下,证明霍耳电阻随栅压变化的曲线上出现一系列平台,如图 85 – 2 所示,与平台相应的霍耳电阻等于 RH = h/i·e²,其中 i 是正整数 1,2,3,…。这一发现是 20 世纪以来凝聚态物理学、各门新技术(包括低温、超导、真空、半导体工艺、强磁场等)综合发展以及冯·克利青创造性的研究工作所取得的重要成果。


从 20 世纪 50 年代起,由于晶体管工业的兴盛,半导体表面研究成了热门课题,半导体物理学中兴起了一个崭新领域二维电子系统。1957 年,施里弗(J.R.Schrieffer)提出反型层理论,认为如果与半导体表面垂直的电场足够强,就可以在表面附近出现与体内导电类型相反的反型层。由于反型层中的电子被限制在很窄的势阱里,与表面垂直的电子运动状态应是量子化的,形成一系列独立能级,而与表面平行的电子运动不受拘束。这就是所谓的二维电子系统。当处于低温状态时,垂直方向的能态取最低值基态。
由于半导体工艺的发展,60 年代初出现了平面型硅器件,用 SiO2 覆盖硅表面制成了硅 MOSFET 管。研究反型层的性能提供了理想器件。改变 MOSFET 的栅极电压可以控制反型层中的电子浓度。

1966 年,美国 IBM 公司的福勒(A.B.Fowler),方复(F.F.Fang),霍华德(W.E.Howard)与斯泰尔斯(P.J.Styles)用实验证实了施里弗的理论预见。他们把 P 型硅作为衬底的 MOSFET 放在强磁场中,在深低温下测源极与漏极之间的电导。改变栅压 VG,测出的电导呈周期性变化,有力地证实了二维电子系统的存在。
这个实验激起了物理学家的浓厚兴趣,使二维电子系统成了国际上普遍重视的研究对象。70 年代中期,日本东京大学年轻的物理学家安藤恒也(T.Ando)和他的老师植村泰忠(Y.Uemura)从理论上系统地研究了二维电子系统在强磁场中的输运现象,对二维电子系统的霍耳效应作了理论分析。与此同时,世界上有好几个机构在进行有关二维电子系统的实验工作,其中尤以冯·克利青所在的维尔茨堡大学最为积极。
在研究二维电子系统的过程中,冯·克利青和他的合作者恩格勒特(T.Englert),以及研究生爱伯特(G.Ebert)都曾在霍耳电阻随栅极电压变化的曲线上观察到平台。日本人川路绅治也报道过类似的现象。在 1978 年中已有多起文献记载了这一特性,当时并没有引起人们的重视,只有冯·克利青敏锐地注意到并作了坚持不懈的研究。

他发现 MOSFET 的霍耳电阻按 h/e2 的分数量子化是在 1980 年 2 月 5 日凌晨。那时他正在法国格勒诺勃(Grenoble)的强磁场实验室里测量各种样品的霍耳电阻。这个实验室是马克斯·普朗克固体研究所与法国国家研究中心(CNRS)联合建设的,1978 年由兰德威尔教授担任实验室主任。恩格勒特随他一起来到格勒诺勃,从事二维电子系统的研究。1979 年秋,冯·克利青也来参加。他们拥有一台强达 25 T 的磁场设备,比别的地方强得多,得到的霍耳平台也显著得多。他们测量的所有样品都显示有同样的特征,i = 4 的平台霍耳电阻都等于 6 450 Ω,正好是 h/4e²。这个值与材料的具体性质无关,只决定于基本物理常数 h 与 e。
对于这件事,冯·克利青自己曾说过:“量子霍耳效应的真谛并不在于发现霍耳电阻曲线上有平台,这种平台在我的硕士生爱伯特 1978 年做硕士论文时已发现,只是那时我们不了解平台产生的原因,也没有给出理论解释。我们那时只认为材料中的缺陷严重地影响了霍耳效应。这些结果已经公开发表,大家也都知道,并且大家都能重复。量子霍耳效应的根本发现是这些平台高度是精确地固定的,它们是不以材料、器件的尺寸而转移的,它们只是由基本物理常数 h 和 e 来确定的。”
量子霍耳效应是继 1962 年发现的约瑟夫森效应之后又一个对基本物理常数有重大意义的固体量子效应。冯·克利青从一开始就意识到这一点。当他确定霍耳平台的阻值是 h/e2 的分值时,就主动询问联邦技术物理研究所的电气基准部对 h/e2 的精确测定有没有兴趣。答复是如果能达到高于 10−6 的精度就很感兴趣。可是在格勒诺勃精确度仅为 1 %。于是冯·克利青马上返回维尔茨堡,用那里的超导线圈继续试验,不久就达到了 5×10−6,证明霍耳电阻确实是 h/e2 的分值。于是他写了一篇通讯给《物理评论快报》,题为《基于基本常数实现电阻基准》。没有料到,文章被退回,因为该刊编辑认为精确度不够,精确测量欧姆值需要更高的精确度。于是,冯·克利青转向精细结构常数,将论文改写为《基于量子霍耳电阻高精度测定精细结构常数的新方法》,量子霍耳效应第一次公开宣布,引起了强烈反响。
1981 年,在第二届精密测量与基本常数国际会议上,冯·克利青进一步从理论上论证量子霍耳效应的普遍性,还总结了各种不同类型的硅 MOSFET 管在强磁场和深低温下测到的霍耳电阻数据,得
h/e2 = 25 812.79(4)Ω(1.5 ppm)
并且预言,如果再增大磁场和降低温度,不确定度可小于 0.1 ppm。
在 1986 年的基本物理常数平差中,霍耳电阻 RH 取六个最新测量结果的平均值,得
RH = 25 812.8461(16)ΩBI85(0.062 ppm)
其中 ΩBI85 表示国际计量局(BIPM)1985 年 1 月 1 日标定的欧姆基准值,1 ΩBI85 = 0.999 998 437(50)Ω。
由此可得精细结构常数 α 的倒数为
α−1(Ω/ΩBI85)=137.036 204 4(85)
或
α−1 = 137.035 990 2(85)
不确定度为 0.062 ppm。这样推算出来的 α−1 值与 1986 年平差结果
α−1 = 137.035 989 5(61)(0.045 ppm)
精确吻合。
量子霍耳效应具有如此之高的精确性和复现性,对于计量工作者的确是一件很值得欢迎的好事。因为如果能够根据量子霍耳效应来定义欧姆,又能够根据约瑟夫森效应来定义伏特,就可以组成一对以基本物理常数为基础的电学基准,使电学单位从实物基准向自然基准过渡。
国际计量委员会下属的电学咨询委员会(CCE)在 1986 年的第十七届会议上决定:从 1990 年 1 月 1 日起,以量子霍耳效应所得的霍耳电阻 RH = h/e2 来代表欧姆的国家参考标准,并以约瑟夫森效应所得的频率-电压比f/UJ 来代表伏特的国家参考标准。
1988 年 CCE 第 18 届会议正式建议将第一阶(i = 1)霍耳平台相应的电阻值定义为冯·克利青常数,以 RK 表示,并通过了如下决议:
“国际计量委员会……考虑到
(1)大多数现有的实验室所拥有的电阻参考标准随着时间有显著变化;
(2)基于量子霍耳效应的实验室电阻参考标准是稳定的和可复现的;
(3)对大多数新近的测量结果作的详尽研究得到的冯·克利青常数值 RK,也就是说,量子霍耳效应中的霍耳电势差除以相当于平台 i = 1 的电流所得的值为 25 812.807 Ω;
(4)量子霍耳效应以及上述 RK 值,可以用来建立电阻的参考标准,相对于欧姆,它以一个标准偏差表示的不确定度估计为 2×10−7,而其复现性要好得多。
因此建议
① 精确地取 25 812.807 Ω 作为冯·克利青常数的约定值,以 RK 表示之;
② 此值从 1990 年 1 月 1 日起,而不是在这以前,由所有以量子霍耳效应为电阻测量标准的实验室使用;
③ 从同一日期开始,所有其他实验室都将自己的实验室参考标准调整为与 RK – 90 一致。
并主张在可预见的未来无需改变冯·克利青常数的这个推荐值。”
这项决议已得到国际计量委员会的批准,并公布执行。于是,从 1990 年 1 月 1 日起,世界各国有了统一的国家电阻标准。这个新的标准以量子霍耳效应为基础,容易复现,不会随时间变化。
有必要指出,目前只是由量子霍耳效应获取电阻的实用参考基准,而不是对国际单位制中的欧姆给出新的定义。因为欧姆和伏特一样,在国际单位制中都是导出单位,如果另给它们下定义,就必然与安培的定义,μ0 的精确值乃至能量、功率等力学量及千克质量基准的规定不相容。尽管如此,目前的决定在基本物理计量史上仍然是继秒和米的新定义后的又一有重大意义的事件。
从 1990 年 1 月 1 日起,还有一个重要的电学量给定了新的标准,这就是电压。新的电压标准是建立在约瑟夫森效应的基础上的。约瑟夫森效应也是一种发生在凝聚态中的量子效应,也是高度精确的。约瑟夫森由于发现了这一效应已于 1973 年获得了诺贝尔物理学奖。
获奖者简介
冯·克利青 1943 年 6 月 28 日出生于波森(Posen)的叙罗达(Schroda),德国国籍,1962 年进入布朗许瓦格(Braunschweig)技术大学攻读物理。他利用假期到联邦技术物理研究所(PTB)的半导体实验室做学生工,在那里他认识了著名的物理学家兰德威尔(G.Landwehr)教授。冯·克利青在工作中丰富了实践经验,开拓了视野,并且对精密测量的重要性有了很透彻的认识,因为联邦技术物理研究所实际上是负责精密计量标准的科研机构。1969 年,冯·克利青在凯斯勒(R.Kessler)教授的指导下完成了题为《用光衰减法测量锑化铟中的载流子寿命》的硕士论文。接着跟随兰德威尔教授到维尔茨堡大学物理研究所,在兰德威尔指导下当博士研究生。兰德威尔安排他研究强磁场和液氮温度下处于量子极限的 Te 单晶的输运特性。在这项研究中冯·克利青发现了所谓的“磁致不纯效应”(magneto-impurity effect)。1972 年冯·克利青以优异成绩获得博士学位,并留在维尔茨堡大学,当兰德威尔教授的研究助手。
兰德威尔教授专门从事半导体输运特性的研究,是联邦德国开展二维电子系统研究的先驱。他们跟西门子公司的研究组有密切联系,而西门子公司在硅 MOSFET 管的制作上有丰富经验,可以为他们提供高质量的产品以供试验。1976 年维尔茨堡大学又新添置了超导磁体(采用 Nb3Sn 和 NbTi 线圈),磁场可达 14.6 T,为精密测量霍耳电阻作好了物质准备。
冯·克利青早在当学生工时就熟悉了强磁场技术,不过那时用的是脉冲式强磁铁,采用高压电容放电,铜线圈用液氮冷却,冯·克利青曾对线圈进行过校准。
当有人问冯·克利青,量子霍耳效应是不是一个偶然的发现?他解释说量子霍耳效应作为一个普遍规律而存在的重大想法是在 1980 年 2 月 5 日凌晨突然闪现出来的,但它是基于长期研究工作之后的一个飞跃。“通过测量大量的不同样品,才第一次可能认识这样一种特殊的规律,而这种平凡重复的测量简直弄得我们感到乏味,我们反复变化样品,变化载流子浓度,将磁场从零扫描到最大……终于我们发现了这样的特殊规律,所以这一结果的取得是长时间努力工作的结果,这些测量的曲线无时不在我的脑子里盘旋着,反复思考着。”
冯·克利青发现量子霍耳效应的确不是偶然的。除了他执着的追求、顽强的探索精神之外,还要归功于他所处的环境。他所在的维尔茨堡大学有着非常良好的学术气氛,对他的研究大力支持,正如他自己所说,“这里既没有研究经费方面的困难,也没有来自行政的干扰,因此我们总是把眼光盯在最高目标上。”与工业界的合作也是他成功的一项重要因素。
文件下载(已下载 36 次)发布时间:2023/12/10 上午8:52:05 阅读次数:6018