1923 年诺贝尔物理学奖——基本电荷和光电效应实验

1923 年诺贝尔物理学奖授予美国加利福尼亚州帕萨迪那加州理工学院的密立根(Robert Andrews Millikan,1868—1953),以表彰他对基本电荷和光电效应的工作。
密立根的基本电荷实验
密立根的基本电荷实验是从云雾方法开始的。他先和研究生贝济曼(L.Begeman)一起,重复了卡文迪什实验室的工作。在这之前,J.J.汤姆生领导他的卡文迪什实验室成员已经多次测定电子电荷。其中有汤森德(J.S.E.Townsend)的电解法、J.J.汤姆生自己的膨胀云室法以及 H.A.威尔孙的平板电极法。他们得到的都是统计平均结果,不能令人满意。
密立根和贝济曼最初只是重复 H.A.威尔孙的实验,所得结果没有什么进步。后来改用镭作为电离剂,代替 X 射线,结果比 H.A.威尔孙的略好,得 e = 4.03×10−10 esu。(esu 是厘米·克·秒静电单位制的缩写,1 esu(电量)= \(\frac{1}{3}\)×10−9 C)。1908 年在美国物理学会年会上宣读了论文。他们的论文被卢瑟福注意到了。卢瑟福和盖革刚从 α 射线得到 He++ 的电荷值为 9.3×10−10 esu,假设氦离子所带电荷为 | 2e |,则 e 应为 4.65×10−10 esu。J.J.汤姆生和H.A.威尔孙比卢瑟福的小 30%,而密立根的只小 15%。所以,卢瑟福对密立根的工作给予肯定,并指出这一实验还可以改进,应在防止水滴蒸发上下工夫,因为蒸发会造成离子数偏大,而使 e 值偏小。此时,卢瑟福已因放射性的研究获诺贝尔化学奖,很有名气。卢瑟福的肯定当然对密立根是很大的鼓励,促使他进一步改进自己的实验。于是,密立根设法让带电云雾的顶层在重力和电场力的作用下稳定不动,以观察云雾蒸发的情况。这件事很容易办到,因为只要把电场力的方向改为与重力相反,并且加大电压就可以了。
1909 年春夏之际,密立根将电压加到 10 kV。当他合上电闸,奇迹出现了。云层哪里稳定得住,竟立即消散离析,很强的电场作用在带电雾粒上,使雾粒各自以不同的速度散开。这一偶然事件启发了密立根想到有可能对单个液滴进行测量。就这样密立根发明了水珠平衡法。
1909 年,密立根用水珠平衡法测量电子电荷,年底发表结果,得 e = 4.65×10−10 esu。这一年的 8 月,英国科学促进会在加拿大温尼伯(Winnipeg)市召开年会,密立根参加了。数学物理分会的主席是卢瑟福,他当时提到了电子电荷实验,并举出密立根 1909 年发表的结果予以赞扬。但卢瑟福也表示遗憾,说还没有哪种电学或光学方法能直接得出单个电子的电荷,像 α 粒子那样。拉摩(J.Larmor)则建议密立根注意斯托克斯定律的有效性。这次大会给密立根以极大鼓励,使他了解到自己的工作处于科学的最前沿,是亟待解决的问题。就在从加拿大返回芝加哥的火车上,他突然灵感上心,想到了可以用钟表油来做液粒,因为钟表油是几乎一点儿也不蒸发的。
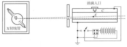
回到芝加哥后,他立即请技师做了一个空气电容器,用两块 22 cm 直径的圆铜板、三块石英柱(接近完全绝缘)放在平板的外缘。在上板的中心钻了半毫米的小孔,让喷雾器喷出的油滴可以经小孔进入平板之间。平板上加 10 kV 可以随意调节的电压(如图 23 – 1 所示)。这就是密立根油滴仪最早的设计。

1909 年 12 月至 1910 年 5 月,密立根与他另一名学生弗雷切尔(H.Fletcher)用油(或甘油和汞)作了近两百颗的油滴的平衡实验。他们宣称,在所有情况下液滴从空气中捕获的电荷都是最小电荷的整数倍。综合所有数据,并对斯托克斯定律进行修正,得到电子电荷的平均值 e =4.891×10−10 esu。


1910 年以后,密立根在平衡油滴法的基础上,进一步改进实验方法。他让油滴在电场力和重力的共同作用下,上上下下地运动。如果用 X 射线或镭辐射油滴,使油滴所带电量发生改变,就会看到油滴的速度突然发生变化,从而求出电荷量改变的差值。密立根进一步研究了斯托克斯定律的有效性,作了修正,1913 年宣布从油滴测定电子电荷为 e = (4.774±0.009)×10−10 esu。密立根的历史功绩就在于以巧妙的实验,确凿的数据肯定了电的原子性。
密立根的光电效应实验
密立根第二项为人们所称道的工作是他对光电效应的研究。
1905 年,爱因斯坦提出光量子理论来解释光电效应。他根据普朗克的能量子假设, 假设光子的能量为 E = hν,其中 ν 是光的频率,h 是普朗克常量。提出所谓的光电方程:eV = hν − W,其中,e 为电子电荷,V 为遏止电压,eV 等于电子逸出金属表面的最大动能,W 为电子逸出金属表面需做的功。这个方程中不出现光的强度,说明电子的最大速度与光强无关。这个方程不但解释了遏止电压,而且还说明了电子的最大速度与光强无关。特别是,从这个方程可以预见到遏止电压与频率的线性关系。尽管这个关系当时还没有人从实验得到过,因为要测量不同频率下纯粹由光辐射引起的微弱电流并不是一 件容易的事。
爱因斯坦的光量子理论和光电方程提出时并没有得到普遍承认。这个革命性理论受到的怀疑超过了同年爱因斯坦发表的狭义相对论。甚至相信量子概念的一些著名物理学家都反对他,就连量子假说的提出者普朗克本人也持否定态度。
为了检验爱因斯坦的光电方程,实验物理学家开展了全面的实验研究。主要困难在于电极表面有接触电势差存在,氧化膜也会影响实验结果。只是经过许多人长期的研究,才逐渐克服这些困难。就在这一过程中,出现了不少曲折。例如,1907 年,拉登堡用 6 种频率的紫外光照射金属表面,得到的经验公式是:λ \(\sqrt V \) = 常数。相当于 \(\sqrt V \) = c₁ν − c₂;而不是像爱因斯坦光电方程的线性关系:V = c₁ν − c₂;后来林德曼(Lindemann)建议是 \(\sqrt {{V^3}} \) = c₁ν − c₂。三种公式,究竟哪一个对,一时很难判断。孔兹(J.Kunz)和考聂柳斯(D.W.Cornelius)报告说,他们的实验结果更接近于拉登堡的公式;而休斯(A.L.Hughes)虽然肯定了爱因斯坦的线性关系,但系数偏差甚远。这个时候,关键在于有一个精确可靠的实验,对爱因斯坦的光电方程进行全面的验证。
密立根从 1910 年就着手于实现这项十分复杂的实验。他为了能在没有氧化物薄膜的电极表面上同时测量真空中的光电效应和接触电势差,设计了一个特殊的真空管,如图23 – 3 所示,在这个管子里安装了精致的实验设备,如图 23 – 4 所示。实验样品固定在小轮上,小轮可以用电磁铁控制,所有操作都是借助于装在外面的可动的电磁铁来完成。所有的真空管都要进行这样几步操作:先在真空中排除全部表面的氧化膜;然后测量消除了氧化膜的表面上的光电流和光电势并同时测量表面的接触电势差。三种待测的碱金属(Na、K、Li)做成的圆柱体电极装在小轮上,用电磁铁操纵小轮的转位。剃刀可沿管轴方向前后移动,真空管外面有另外一个电磁铁,可使管内的衔铁转动,从而带动剃刀旋转,在圆柱电极上进行切削,刮掉电极上极薄的一层表皮,让新刮出的表面处在真空中保持清洁,这时可将光电极转至对准电极以测量接触电势差;再转一个角度,对准窗口以接受单色紫外光的照射,同时测量其光电流。他选择了 6 种不同波长的单色光,分别测量不同电压下的光电流,曲线如图 23 – 5 所示,从光电流与电压的关系曲线求出在某一波长的光照射下被测阴极的遏止电压 V。然后将 6 组光电流曲线所得作图,如图 23 – 6 所示。密立根得到的正好是一条漂亮的直线。他还根据这条直线的斜率求出了普朗克常量 h 的值,与普朗克 1900 年从黑体辐射求得的 h 值符合得极好。



爱因斯坦对密立根光电实验的意义作了如下的说明:“我感激密立根关于光电效应的研究,它第一次判决性地证明了在光的影响下电子从固体发射与光的振动周期有关,这一量子论的结果是辐射的粒子结构所特有的性质。”
正是由于密立根 1916 年发表的实验结果全面地证实了爱因斯坦光量子理论对光电效应的分析,光量子理论才开始得到人们的承认。在诺贝尔奖领奖词中,密立根并不讳言,他在做光电效应实验时,对爱因斯坦的光电方程和光量子理论曾长期抱怀疑态度。他做这些实验的本来目的是希望证明经典电磁理论。但他在事实面前服从真理,反过来宣布爱因斯坦的光电方程完全得到了证实。
获奖者简历
密立根 1868 年 3 月 22 日出生于美国伊利诺伊州的莫里森。1887 年入奥伯林大学,读完二年级时,被聘任为初等物理班的教员,他很喜爱这个工作,从此便致力于物理学。1891 年大学毕业后,他继续担任初等物理班的讲课;1893 年取得硕士学位,同年得到哥伦比亚大学物理系攻读博士学位的奖金。1895 年,他获得博士学位后留学欧洲,1896 年回国任教于芝加哥大学。由于教学成绩优异,第二年就升任副教授。
1921 年起,密立根任教于加利福尼亚理工学院。由于他的努力,终于使该校成为世界上最著名的科学中心之一。密立根不仅是一个科学学派的创建者,而且是一位优秀的行政领导者和积极的社会活动家,1953 年 12 月 19 日在加利福尼亚的帕萨迪纳逝世。
密立根最著名的实验成就,是用在电场和重力场中的运动的带电油滴精确地测定了基本电荷。这个工作从 1907 年开始,直到 1913 年才最后完成。
与此同时,他还致力于光电效应的研究,经过仔细的观测,到 1914 年,他的实验结果完全肯定了爱因斯坦的光电效应方程,并且从实验曲线中求出当时最好的普朗克常量值。
密立根在宇宙线方面也做过研究,积累了大量的不同高度、不同地区的实验数据,发现了宇宙线的纬度效应的大小与经度有关;纠正了早期有人认为宇宙线是由光子组成的观点。他和他的学生用强磁场中的云室对宇宙线的实验研究,导致他的学生 C.D.安德森在 1932 年发现了正电子。
官网链接。
文件下载(已下载 86 次)发布时间:2023/7/11 下午8:54:03 阅读次数:10813