第五章 第 3 节 实验:探究平抛运动的特点
以一定的速度将物体抛出,在空气阻力可以忽略的情况下,物体只受重力的作用,这时的运动叫作抛体运动(projectile motion)。如果初速度是沿水平方向的,这样的抛体运动就叫作平抛运动。
下面我们通过实验来探究物体做平抛运动的特点,即物体的速度和位移随时间的变化关系。
平抛运动是曲线运动,速度和位移的方向都在时刻变化。我们可以按照把复杂的曲线运动分解为不同方向上两个相对简单的直线运动的思路,分别研究物体在这两个方向的运动特点。
平抛运动可以分解为哪两个方向的运动呢?
由于物体是沿着水平方向抛出的,在运动过程中只受到竖直向下的重力作用,因此我们可以尝试将平抛运动分解为水平方向的分运动和竖直方向的分运动。如果这两个方向的分运动特点研究清楚了,平抛运动的规律就清楚了。也就是说,我们需要知道这两个方向的位移或速度随时间变化的信息。位移和速度哪个更方便测量?如何通过实验获得所需信息呢?
研究思路确定后,还需要设计可操作的方案以便进行实验。下面两种实验方案供你参考。
方案一
设法记录做平抛运动的物体经过相等时间间隔所到达的位置,获得水平方向和竖直方向的位移随时间变化的具体数据,便可以独立分析水平方向和竖直方向的运动规律。
可以用频闪照相或者录制视频的方法,记录物体在不同时刻的位置。图 5.3–1 是一个小球做平抛运动时的频闪照片。观察这幅照片,思考下面的问题。
● 根据图片猜想,小球在水平方向和竖直方向的分运动有何特点?
● 应以哪个位置为原点建立坐标系来研究小球的水平位移和竖直位移?
● 若频闪周期为 T,怎样通过作图得到 T,2T,3T,…时间内小球做平抛运动的水平位移和竖直位移?
● 需要测量并记录哪些数据?怎样用实验数据检验你的猜想?
请设计表格,把所测量的数据填入表格,根据水平位移和竖直位移随时间变化的具体数据,分析小球水平方向分运动和竖直方向分运动的特点。
方案二
在水平和竖直两个方向中,先研究其中一个方向的运动规律,再设法分析另外一个方向的运动规律。
根据这一思路设计实验。思考下面的问题会帮助我们完善实验方案。
● 你对物体在水平方向和竖直方向的运动规律有怎样的猜想?
● 是否需要获取物体做平抛运动的轨迹?如何获取?
● 在描绘轨迹时,如何选择坐标原点和建立坐标系?
● 物体的大小对描绘轨迹是否有影响?如何减小这种影响?
后面参考案例给出的方案,是先研究物体在竖直方向的运动,再研究水平方向的运动。也可以反过来,先研究物体在水平方向的运动,再研究竖直方向的运动。如果这样做,应该怎样设计实验?
参考案例
步骤 1:探究平抛运动竖直分运动的特点
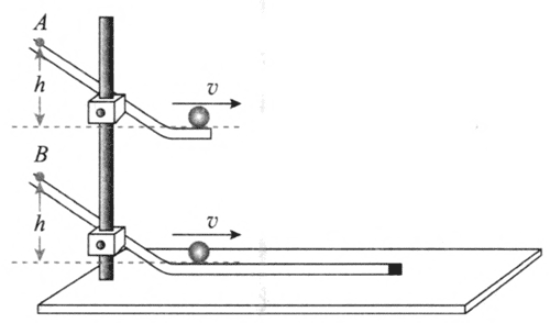
在如图 5.3–2 所示的实验中,用小锤击打弹性金属片后,A 球沿水平方向抛出,做平抛运动,同时 B 球被释放,自由下落,做自由落体运动。观察两球的运动轨迹,比较它们落地时间的先后。
分别改变小球距地面的高度和小锤击打的力度,多次重复这个实验,记录实验现象。
从这个实验看,平抛运动在竖直方向的分运动是什么运动?
步骤 2:探究平抛运动水平方向分运动的特点
如果我们能够得到平抛运动的轨迹,利用前面探究得出的平抛运动竖直分运动的特点,就可以分析得出平抛运动在水平方向分运动的特点。
在图 5.3–3 所示的装置中,斜槽 M 末端水平。钢球在斜槽中从某一高度滚下,从末端飞出后做平抛运动。在装置中有一个水平放置的可上下调节的倾斜挡板 N,钢球飞出后,落到挡板上。实验前,先将一张白纸和复写纸固定在装置的背板上。钢球落到倾斜的挡板上后,就会挤压复写纸,在白纸上留下印迹。上下调节挡板 N,通过多次实验,在白纸上记录钢球所经过的多个位置。最后,用平滑曲线把这些印迹连接起来,就得到钢球做平抛运动的轨迹。
根据步骤 1 得出的平抛运动在竖直方向分运动的规律,设法确定“相等的时间间隔”。再看相等的时间内水平分运动的位移,进而确定水平分运动的规律。
用传感器和计算机描绘物体做平抛运动的轨迹
用传感器和计算机可以方便地描出做平抛运动的物体的轨迹。一种设计原理如图 5.3–4 所示。物体 A 在做平抛运动,它能够在竖直平面内向各个方向同时发射超声波脉冲和红外线脉冲。在它运动的平面内安放着超声—红外接收装置 B。B 盒装有 B1、B2 两个超声—红外接收器,并与计算机相连。B1、B2 各自测出收到超声脉冲和红外脉冲的时间差,并由此算出它们各自与物体 A 的距离。① 从图 5.3–4 可以看出,在这两个距离确定之后,由于 B1、B2 两处的距离是已知的,所以物体 A 的位置也就确定了。计算机可以即时给出 A 的坐标。
图 5.3–5 是按这样的原理制作的一种实验装置(超声—红外接收装置 B 的安装位置与原理图5.3–4 不同)。图 5.3–6 是某次实验中计算机描出的平抛运动的轨迹。除此之外,计算机还能直接给出平抛运动的初速度等其他物理量。
① 工作原理可以参考《普通高中教科书物理必修第一册》第一章第 3 节中的“借助传感器与计算机测速度”的内容。

1.某同学设计了一个探究平抛运动特点的家庭实验装置,如图 5.3–7 所示。在水平桌面上放置一个斜面,每次都让钢球从斜面上的同一位置滚下,滚过桌边后钢球便做平抛运动。在钢球抛出后经过的地方水平放置一块木板(还有一个用来调节木板高度的支架,图中未画),木板上放一张白纸,白纸上有复写纸,这样便能记录钢球在白纸上的落点。已知平抛运动在竖直方向上的运动规律与自由落体运动相同,在此前提下,怎样探究钢球水平分速度的特点?请指出需要的器材,说明实验步骤。
2.某同学为了省去图 5.3–7 中的水平木板,把第 1 题中的实验方案作了改变。他把桌子搬到墙的附近,把白纸和复写纸附在墙上,使从水平桌面上滚下的钢球能打在墙上,从而记录钢球的落点。改变桌子和墙的距离,就可以得
到多组数据。如果采用这种方案,应该收集哪些数据并如何处理这些数据?
3.某同学目测桌子高度大约为 0.8 m,他使小球沿桌面水平飞出,用数码相机拍摄小球做平抛运动的录像(每秒 25 帧)。如果这位同学采用逐帧分析的办法,保存并打印各帧的画面。他大约可以得到几帧小球正在空中运动的照片?
4.小刚同学通过实验,得到了某物体在 Oxy 平面上运动的一条运动轨迹,如图 5.3–8平面直角坐标系中的 OP 曲线所示。他根据物体运动轨迹的特点作出了猜想:如果物体在 y 方向做匀速直线运动,那么物体在 x 方向必定做匀加速直线运动。小刚同学的猜想是否成立?作图并给出你的分析过程。
第 3 节 实验:探究平抛运动的特点 教学参考
1.教学目标
(1)知道抛体运动和平抛运动,知道用运动分解的方法研究平抛运动。
(2)知道平抛运动的条件及相应控制方法,会用获得位置的方法确定多个点,并会描绘平抛运动的轨迹。
(3)会根据平抛运动的轨迹,研究平抛运动水平和竖直分运动的特点。
(4)通过探究平抛运动特点的实验,了解科学探究中获取及处理数据的方法。
2.教材分析与教学建议
本节是整章教学的第 3 节,是前一节运动合成与分解方法的实际应用。学生通过前一节的学习,已知道可以从分运动的特点切入去认识曲线运动。本节以平抛运动为例,以实验方式展开探究,获得平抛运动特点。既为学生学习平抛运动规律作好铺垫,又可帮助学生加深对所学运动合成与分解方法的理解。
教材中介绍了两种方案。方案一是用频闪照相或者录制视频的方法,记录物体在不同时刻的位置,得到类似教材图 5.3–1 所示的照片。以小球球心作为小球位置,分别将不同位置的小球球心投影到水平方向和竖直方向的坐标轴上。考虑到频闪(截屏)时间间隔相等,根据相邻时间间隔内水平方向的位移相同,可判断水平方向是匀速运动;根据相邻时间间隔内竖直方向增加的位移相同,可判断竖直方向是匀加速运动。
方案一虽然较为方便和容易理解,但对于培养学生的实验素养来说,方案二具有独特的价值。方案二比方案一更注重实验设计,更具有转化思想,更重视实验条件的控制和实验操作。
方案二分三个步骤来开展探究。首先研究某一方向分运动的特点(可以是水平方向,也可以是竖直方向),然后设法描绘出平抛运动的轨迹,最后根据平抛运动轨迹和某一方向分运动特点分析得到另一方向分运动的特点。
可以通过比较方法先研究水平方向的分运动特点。如图 5–19 所示,两相同小球分别从 A、B 处同时滚下,一球做平抛运动,另一球沿光滑的水平轨道运动。改变小球下滑时的高度,观察两球是否始终能够相碰。在此基础上,结合平抛运动的轨迹,获取相同时间间隔的竖直方向位移,就能够确定竖直方向的分运动是匀变速运动。如果再测出小球的水平分速度,就可以确定时间间隔的具体数值,从而得到竖直分运动的加速度值。

方案二中的参考案例,是先研究竖直方向的分运动,然后设法描绘出平抛运动的轨迹,最后根据平抛运动轨迹和竖直方向分运动的特点分析得到水平方向分运动的特点。
教材给出两种方案的大体研究思路,通过问题对关键环节进行引导,帮助学生自行设计、完善实验方案。
参考案例提供的方法既考虑到利用学校已有器材进行学生实验,又考虑到学生已经具有自由落体运动的知识。研究竖直方向的分运动时可以避免测量,只需与自由落体运动进行比较即可(不同高度同时下落,是否始终同时落地)。另外,确定竖直方向的分运动为自由落体运动后,也为探究水平方向分运动的特点打好了基础。在现有器材的情况下,我们既无法在同一个平抛运动过程中确定多个位置,也无法做到所确定的几个位置之间的时间间隔都是相等的。所以实验首先要解决的问题是如何保证多次平抛的初速度相同。另一个问题是如何找到时间间隔相等的位置,这就需要先画出轨迹,然后根据竖直方向上初速度为 0 的匀变速直线运动的位移特点确定时间间隔相同的点。
为培养学生的科学探究和科学思维素养,本节的重点应放在实验方案的设计与改进上。本节的难点是实验操作与数据处理。
(1)实验方案设计
教学片段
探究平抛运动特点实验的方案设计
问题 1.平抛运动的轨迹是曲线,我们应当用什么方法来研究曲线运动?
问题 2.平抛运动应分解为哪两个方向的运动?为什么?
问题 3.根据竖直方向上的受力与运动情况,你认为平抛运动在竖直方向上的分运动应是什么运动?
问题 4.若要证明你分析得出的结论,你需要哪些器材?怎样操作?
(2)平抛运动竖直方向的运动
教学片段
探究平抛运动竖直方向的运动特点
考虑到学生已有的知识(自由落体运动规律),可设计对比实验。这一实验方法的优点是无须记录具体的时间和竖直方向的位移,只要判断两小球是否同时落地即可。
问题 1.用图 5–20 所示装置研究平抛运动在竖直方向的运动规律时,能否保证 A、B 两球同时开始运动?你能否观察到两球同时落地?若不能,又该怎么办?
问题 2.一次同时落地能否说明猜想已经得到了验证?改变小球下落的高度和改变打击力度,多做几次实验的目的是什么?
问题 3.实验的结果说明了什么?你能表述平抛运动在竖直方向分运动的特点吗?
由于空间限制、小球速度较快和人眼很难同时注意两个小球的运动等因素,一般很难看到两球同时落地的现象。转化的方法有多种,比较方便的是将“看”转化为“听”,也可以让两个小球落到水槽里,看水花是否同时溅起。当然,还可以通过“先摄像,再慢放录像”的方法。
(3)平抛运动水平方向的运动
教学片段
探究平抛运动水平方向的运动特点
如果用频闪照片,可以直接从照片中发现相同时间间隔内水平方向的位移相同这一结论。教材采用了如图 5–21 甲所示的装置进行学生实验,一方面是考虑到实验条件,另一方面是为了培养学生的科学思维和科学探究等方面的素养。本实验的目的并不是描绘轨迹,但如果有了轨迹,我们就可以运用已有的自由落体运动知识确定这些位置。这一实验设计思路需要通过问题加以引导。
问题 1.根据做平抛运动物体的受力和运动情况分析,你认为平抛运动在水平方向的分运动是什么运动?
问题 2.对于从斜槽上滚出的小球,如何保证小球水平抛出?
问题 3.你用什么方法记录小球的位置?
问题 4.你能否同时记录小球在不同时刻的位置?如果需要多次实验才能记录多个时刻的位置,你如果确保运动的同一性?
问题 5.你所记录的多个小球位置之间的时间间隔相等吗?为了获取相同时间间隔的点,你有什么办法?
问题 6.为了定量研究需要建立坐标系,坐标原点在哪里?坐标轴如何确定?
问题 7.如何画出轨迹?如何在轨迹上确定时间间隔相等的点?
问题 8.如图5–21乙所示,这些点之间的水平位移存在什么特点?说明了水平方向的运动是什么运动?你能写出水平方向的速度与位移的表达式吗?
问题 9.如果实验的结果与你的推论之间有一些差异,原因可能有哪些?
3.“练习与应用”参考答案与提示
本节配置了 4 道习题,培养学生的科学探究能力。前两题是利用身边的器材,用两种不同的方案研究平抛运动水平分速度的特点,让学生根据已有的科学探究方案,陈述科学探究过程。考察学生能否使用所学的基本器材获得数据,对数据进行整理,得到初步的结论。第 3 题通过对平抛运动录像数据的分析,得到结论。第 4 题练习从图像中获取数据、对数据进行分析并获得结论,培养学生的科学思维。
1.还需要的器材是刻度尺,实验的示意图如图 5-22 所示。
实验步骤如下。
(1)调节木板高度,使木板上表面与水平桌面的距离为某一确定值 y。
(2)让钢球从斜面上某一位置无初速释放。
(3)测量钢球在木板上的落点 P1 与重垂线之间的距离 x1。
(4)调节木板高度,使木板上表面与水平桌面的距离为某一确定值 4y。
(5)让钢球从斜面上同一位置无初速释放。
(6)测量钢球在木板上的落点 P2 与重垂线之间的距离 x2。
(7)比较 x1、x2,若 2x1 = x2,则说明钢球在水平方向做匀速直线运动。
提示:本题利用身边的器材研究平抛运动水平分速度的特点。平抛运动在竖直方向是自由落体运动,若小球下落时间分别是 t 和 2t,由 y = \(\frac{1}{2}\)gt2 可知下落高度分别为 y 和 4y。通过测量这两段时间内水平方向的位移,由 v = \(\frac{x}{t}\) 即可研究平抛运动水平分速度的特点。
2.改变墙与重垂线之间的距离 x,测量落点与抛出点之间的竖直距离 y,若 x2 = 2x1,有 y2 = 4y1,则说明钢球在水平方向做匀速直线运动。
提示:用不同的实验方案研究平抛运动水平分速度的特点.启迪学生的科学思维,培养科学探究能力。
3.可得到 10 帧照片。
提示:假设桌面离地高度 h = 0.8 m,根据 y = \(\frac{1}{2}\)gt2 可得,下落的时间 t = \(\sqrt {\frac{{2h}}{g}} \) = 0.4 s,每秒拍摄 25 帧照片,0.4 s 可拍摄 10 帧。
这个习题可引导学生利用身边的器材进行实验探究,巩固所学的平抛运动知识。
4.猜想成立。分析过程如下。
如图 5–23 所示,在 OP 图线上取四点 A、B、C、D,且 yD – yC = yC – yB = yB – yA,测出 A、B、C、D 四点在 x 轴上的坐标 xA、xB、xC、xD,若有 (xD – xC) − (xC – xB) = (xC – xB) − (xB – xA),则可判断物体在 y 方向做匀速直线运动,在 x 方向做匀加速直线运动。
提示:通过此题,让学生获取数据,并对数据进行分析并获得结论,培养学生对综合性问题进行分析和推理的科学探究能力。
发布时间:2022/8/5 上午11:00:48 阅读次数:7986