第五章 传感器 复习与提高
A 组
1.在公共场所装有自动干手机,洗手后将湿手靠近,机内的传感器就开通电热器加热,有热空气从机内喷出,将湿手烘干。你认为,手靠近干手机使传感器工作,可能的原因是什么?简述你的理由。
2.全自动洗衣机设有多段式水位自动感应装置,该装置采用的可能是下列哪种类型的传感器?简述你的理由。
A.温度传感器
B.压力传感器
C.生物传感器
D.红外线传感器
3.有一种路灯自动控制装置,用光敏电阻作为传感器,自动控制路灯的接通与断开。光敏电阻的阻值随照射光的强弱而变化,作为简化模型,可以近似认为,照射光较强(如白天)时电阻几乎为 0;照射光较弱(如黑天)时电阻接近于无穷大。利用光敏电阻作为传感器,借助电磁开关,可以实现路灯自动在白天关闭,黑夜打开。电磁开关的内部结构如图 5–1 所示。1、2 两接线柱连接励磁线圈,3、4 两接线柱相当于路灯的开关,分别与弹簧片和触点连接。当励磁线圈中电流大于某个值时,电磁铁吸合铁片,弹簧片和触点分离,3、4 断开;当励磁线圈中电流小于某个值时,3、4 接通。
现有以下器材:励磁线圈电源 E1、路灯电源 E2、路灯灯泡、励磁线圈限流保护电阻 R0、光敏电阻 R1、电磁开关、导线开关等。
利用以上器材设计一个自动控制路灯的电路,画出电路原理图。画电路图时,光敏电阻符号是 ,电磁开关符号是
,其他器材使用规范的电路符号。
4.图 5–2 为电熨斗构造的示意图,其中温度敏感元件是双金属片,在温度升高时上层金属的膨胀大于下层金属,可造成双金属片的形变。观察电熨斗的构造,并回答下列问题:
(1)常温下,电熨斗的上下触点应当是接触的还是分离的?当温度过高时双金属片将怎样起作用?
(2)熨烫棉麻衣物需要设定较高的温度,熨烫丝绸衣物需要设定较低的温度,这是如何利用调温旋钮来实现的?
B 组
1.调查你家里的用电器,填写下列各用电器中可能选用的传感器(用“✓”表示选用),说明它们各自的作用。
电视 | 冰箱 | 洗衣机 | 热水器 | 微波炉 | 煤气用具 | 空气净化器 | |
温度传感器 | |||||||
光传感器 | |||||||
压力传感器 | |||||||
湿度传感器 | |||||||
气体传感器 |
2.为了节能和环保,一些公共场所用光敏电阻制作光控开关来控制照明系统。光敏电阻的阻值随着光的强弱而变化。物理学中用照度描述光的强弱,光越强照度越大,照度的单位为 lx。某光敏电阻 RG 在不同照度下的阻值如下表:
照度 / lx | 0.2 | 0.4 | 0.6 | 0.8 | 1.0 | 1.2 |
电阻 / kΩ | 75 | 40 | 28 | 23 | 20 | 18 |
(1)根据表中数据,请在图 5-3 甲所示的坐标系中描绘出阻值随照度变化的曲线,并说明阻值随照度变化的特点。
(2)如图 5–3 乙所示,当 1、2 两端电压上升至 2 V 时,控制开关自动启动照明系统。请利用下列器材设计一个简单电路,给 1、2 两端提供电压,要求当照度降低至 1.0 lx 时启动照明系统。在虚线框内完成电路原理图(不考虑控制开关对所设计电路的影响)。提供的器材如下:
光敏电阻 RG(阻值见上表);
直流电源 E(电动势 3 V,内阻不计);
定值电阻:R1 = 10 kΩ,R2 = 20 kΩ,R3 = 40 kΩ(限选其中之一并在图中标出);
开关 S 及导线若干。
3.许多会议室和宾馆房间的天花板上都装有火灾报警器。有一种火灾报警器是利用烟雾对光的散射来工作的。如图 5–4 所示,带孔的罩子内装有发光二极管 LED、光电三极管(也是一种晶体管,有三个电极,当光照强弱变化时,电极间的电阻随之变化)和不透明的挡板。平时,光电三极管接收不到 LED 发出的光,呈现高电阻状态。烟雾进入罩内后对光有散射作用,使部分光线照射到光电三极管上,其电阻变小。与传感器连接的电路检测出这种变化,就会发出警报。
你能说说类似这种光电式传感器还能在哪些场合应用吗?
4.某同学在研究性学习活动中自制电子秤,原理示意图如图 5–5 所示。用理想电压表的示数指示物体的质量,托盘与电阻可忽略的金属弹簧相连,托盘与弹簧的质量均不计,滑动变阻器 R 的滑动端与弹簧上端连接。当托盘中没有放物体时,滑片恰好指在变阻器的最上端,此时电压表示数为 0。设变阻器总电阻为 R,总长度为 l,电源电动势为 E,内阻为 r,限流电阻阻值为 R0,弹簧劲度系数为 k,不计一切摩擦和其他阻力。试推导出电压表示数 U 与所称物体质量 m 的关系式。
5.如图 5–6 所示,一定厚度和宽度的导体板放在匀强磁场中,当导体板通过一定电流,且电流与磁场方向垂直时,在导体板的上侧面 A 和下侧面 A′ 之间会产生一定的电势差 UH,这种现象称为霍尔效应。
(1)若图中的电流 I 是电子的定向运动产生的,则导体板上、下两个侧面中,哪个电势高?
(2)设该导体板单位体积中自由电子的个数为 n,导体板的宽度为 d,通过导体板的电流为 I,磁感应强度为 B,电子电荷量为 e。试证明:发生霍尔效应时,导体板上、下侧面间的电势差 UH = \(\frac{{BI}}{{ned}}\)。
(3)由上问的结论可知,在 I、n、e、d 都相同的情况下,UH 与 B 成正比,由 UH 的数值可以比较 B 的大小,因此可以把这种导体板做成磁敏元件。试问:用这种磁敏元件探测某空间的磁场时,磁敏元件摆放的方向对 UH 是否有影响?如果把这种导体板上、下侧面间的电压进行线性放大显示,用它做成的磁传感器的示数是否跟被测磁感应强度有线性关系?
6.当前大量使用的磁敏器件是霍尔元件与集成电路制作在一起的磁传感器,它有以下两种。
(1)一种是“线性”的。它是将霍尔元件和放大器集成在一个芯片内,其输出的电压与感受到的磁感应强度成正比地连续变化。请你提出一种方案,利用它来测量电流的大小。
(2)另一种叫作“开关型”的。当磁场增强到一定程度时它才会输出高电势,而在磁场弱到一定程度时输出低电势,它只能像开关一样在高、低电势之间跃变。请你提出一种方案,利用它来测量物体的转速。
“复习与提高”参考答案与提示
A 组共 4 道习题。第 1 题考查了电容式传感器在生活中的应用。第 2 题考查了压力传感器在自动洗衣机中的应用。第 3 题结合电路知识考查了光敏电阻在自动控制路灯中的应用。第 4 题考查了双金属片传感器在电熨斗中的应用。
B 组共 6 道习题。第 1 题要求学生知道一些日常用品中传感器的应用。第 2 题要求学生结合电路知识用光敏电阻完成自动控制照明系统的原理设计。第 3 题要求学生说明光电式传感器的应用,答案具有开放性。第 4 题要求学生结合力学规律和电路知识推导装置中电压与被称物体质量的函数关系式。第 5 题考查了霍尔效应及其应用的具体情境。第 6 题考查了霍尔元件的应用,本题没有给出其他元件,具有一定开放性。
A 组
1.当手靠近自动干手机时,电热器开始工作,直至手烘干移走,过程中湿度在变化,可见其中不是湿度传感器。注意到人体为导体,可以和其他导体构成电容器,手接近自动干手机时相当于连接了一个电容器,故干手机内可能设置有电容式传感器。此外,因为人体体温恒定,会发射特定波长的红外线,如果传感器检测到该红外线后,触发开关,也可以使自动干手器工作。所以也可能设置有红外线传感器。
2.B
洗衣机工作时衣物温度没有明显变化(除非启动加热功能),所以不是温度传感器。洗衣机和衣物里也没有利用到生物活性物质,所以不是生物传感器或红外线传感器。由于洗衣机在不同段式水位时压力不同,故其中有多段式水位自动感应装置,可能采用了压力传感器。
3.电路如图 5–4 所示,将光敏电阻 R1、保护电阻 R2、电磁开关 1、2 与电源 E1 串联,起控制作用。将灯泡 L、电磁开关 3、4 与电源 E2 串联。白天光照强时,光敏电阻阻值几乎为 0,所以电磁铁线圈中的电流较大,磁场较强,因而吸引铁片,电磁开关 3、4 间断开,灯泡不发光。黑夜光照弱,光敏电阻的阻值很大,电磁铁线圈中电流几乎为 0,磁场极弱,因此铁片弹开,电磁开关 3、4 间接通,灯泡发光。

4.(1)常温下温度低,双金属片均无形变,上下两个触点接触在一起。接通电源,电热丝通电加热。当加热温度升高时,由于双金属片上层金属的膨胀大于下层,故向下弯曲。温度过高时,其向下弯曲到一定程度后两个触点便分开,加热电路断开,停止加热,温度不再上升。
(2)需要较高温度熨烫时,要调节调温旋钮,使升降螺钉下移并推动弹性铜片下移,这样使两个触点断开所需要的双金属片向下的弯曲程度更大,温度更高。反之,在需要较低的熨烫温度时,需要调节调温旋钮使升降螺钉上移。
B 组
1.
电视 | 冰箱 | 洗衣机 | 热水器 | 微波炉 | 煤气用具 | 空气净化器 | |
温度传感器 | ✓ | ✓ | ✓ | ✓ | |||
光传感器 | ✓ | ||||||
压力传感器 | ✓ | ||||||
湿度传感器 | ✓ | ||||||
气体传感器 | ✓ | ✓ |
表中仅选择了各用电器中常用的传感器而非全部。电视使用了红外传感器,遥控器发射红外信号,电视传感器感受信号实现对电视的遥控。冰箱、热水器、微波炉、煤气用具都使用了温度传感器,当达到设定温度时启动或停止工作。洗衣机使用了压力传感器实现多段水位控制。煤气用具有的使用了气体传感器,当发生煤气泄漏,气体浓度达到设定值时发出警报。空气净化器使用气体传感器,当污染(有害)气体达到一定浓度时开启换气系统,它一般还使用了湿度传感器,当湿度不在设定的区间时,可以启动加湿或除湿系统。
2.(1)如图 5–5 所示,由图像可知光敏电阻的阻值随光照强度的增加而减小。

(2)当照度降低到 1.0 lx 时启动照明系统,此时光敏电阻的阻值为 20 kΩ,两端电压为 2 V,电源电动势为 3 V,所以应加上一个分压电阻,分压电阻的电压为 1 V,故分压电阻的阻值为 10 kΩ,选用 R1。电路如图 5–6 所示。

3.例如,用于测量转速的光电式转速传感器。它由开孔圆盘、光源、光敏元件及缝隙板等组成(图 5–7)。开孔圆盘的输入轴与被测轴相连接,光源发出的光通过开孔圆盘和缝隙板照射到光敏元件上,圆盘转动时,光敏元件将转速转换为电信号输出。

4.当托盘中没有物体时,滑片恰好指在变阻器的最上端,电压表示数为 0。设当在盘中放置质量为 m 的物体时,平衡后指针下降 x.则有 mg = kx。由闭合电路欧姆定律有 I = \(\frac{E}{{r + {R_0} + {R_x}}}\),由电阻定律有 Rx = \(\frac{x}{l}\) R。再由 U = IRx,可得 U = \(\frac{{mgRE}}{{mgR + kl({R_0} + r)}}\)。
5.(1)下侧面 A′ 的电势高。教材图 5–6 中电流由电子定向运动形成,而电子的定向运动方向与电流方向相反,所以电子向左运动。根据左手定则可以判断电子受到指向上侧面的洛伦兹力,偏到 A 侧面,而下侧面将出现等量的正电荷,所以下侧面电势高。
(2)当上下侧面有稳定电势差时,自由电子历受洛伦兹力与电场力平衡,则有 eBv = eE。上下侧面间电场可视为匀强电场,故有 E = \(\frac{{{U_H}}}{d}\)。由电流的微观表达式 I = nevdh,代入解得 UH = \(\frac{{BI}}{{ned}}\)。
(3)用这种磁敏元件探测空间磁场时,磁敏元件的摆放方向对 UH 有影响,考虑极端情况,若 B 的方向平行于 I 的方向,则 UH = 0。当 B 与电流垂直且与上下侧面平行时 UH 为最大值。所以,使用时应该调整装置方向找到最大值。
由第(2)问证明的公式可知,当 I、n、d 及自由电荷一定时,UH 与 B 成正比,然后进行了线性放大,故磁传感器的示数与被测磁感应强度有线性关系。
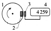
6.(1)设计方案如图 5–8 所示,在软铁芯上绕制线圈 2,磁传感器 3 置入铁芯的间隙中,并与数字电压表 4 相连。线圈 2 中通入的待测电流 I 越强,铁芯间隙中的磁感应强度就越大,则磁传感器输出的电压也越大。

(2)设计方案如图 5–9 所示,在转动物体 1 的边缘上嵌入一个永磁体 2,磁传感器 3 固定在旁边,并与计数电路和显示屏 4 相连。物体每转动 1 周,传感器就输出 1 个电压脉冲,计数器显示的数字就增加 l。配合秒表测出物体在时间 t 内转动的周数 n,就可以计算出转速。

发布时间:2022/8/1 下午3:54:22 阅读次数:2569