第五章 第 3 节 利用传感器制作简单的自动控制装置
传感器是构成自动控制系统的必要环节。如果没有传感器对原始信息进行准确、可靠地捕捉和转换,那么一切控制将无法实现。
本节提供了两个利用传感器实现简单自动控制的实验,同学们可以根据兴趣和器材条件从中选择一个。只有自己动手进行组装和调试,才会对传感器的作用有更深切的体会。
实验1 门窗防盗报警装置
门窗防盗报警装置具有自动提示报警的功能。在睡觉前连接好电路,启动防盗报警装置。当门窗紧闭时,蜂鸣器不响,指示灯亮;当门窗被打开时,蜂鸣器发出声音警报,指示灯灭。
怎样才能实现上述功能呢?利用干簧管在磁场中的特性是不错的选择。图 5.3–1 是一个简单的门窗磁控防盗报警装置示意图。门的上沿嵌入一小块永磁体 M,门框内与 M 相对的位置嵌入干簧管 SA,并将干簧管接入报警电路。干簧管可将门与门框的相对位置这一非电学量转换为电路的通断。
实验器材和装置
图 5.3–2 是可实现上述功能的简易报警电路,采用干簧管作为传感器,用于感知磁体磁场是否存在。继电器(虚线方框部分)作为执行装置。发光二极管 LED 作为电路正常工作提示。发光二极管和普通二极管一样具有单向导电性,而且在导电时还能发光,有红、绿、黄等多种颜色(图 5.3–3)。它小巧、省电,因此许多家用电器上都用它作指示灯。R 为发光二极管的限流电阻,起保护作用。蜂鸣器 H 作为报警提醒。实验中具体选取的元件参数可参考表1。

表1 基本元件及参数
序号 |
名称 |
规格型号 |
数量 |
1 |
干簧管 SA |
常开型 |
1 |
2 |
继电器 |
JQX-14FC 5 V |
1 |
3 |
发光二极管 LED |
绿色 |
1 |
4 |
电阻 R |
330 Ω |
1 |
5 |
蜂鸣器 H |
有源型 |
1 |
6 |
电源 |
干电池 6 V |
1 |
7 |
小磁体 |
|
1 |
8 |
开关 |
|
1 |
电路工作原理
闭合电路开关 S,系统处于防盗状态。当门窗紧闭时,磁体 M 靠近干簧管 SA,干簧管两个簧片被磁化相吸而接通继电器线圈 K,使继电器工作。继电器的动触点 c 与常开触点 a 接通,发光二极管 LED 发光,显示电路处于正常工作状态。当门窗开启时,磁体离开干簧管,干簧管失磁断开,继电器被断电。继电器的动触点 c 与常闭触点 b 接通,蜂鸣器 H 发声报警。干簧管在电路中起传感器和控制开关的作用,继电器则相当于一个自动的双向开关。
实验操作
(1)连接电路前,要先判断一下干簧管是否可以正常工作。用磁体直接靠近干簧管,观察簧片能否正常动作。
(2)确定各元件可以正常工作后,按照图 5.3–2 所示连接电路。
(3)接通电源后,将磁体靠近和离开干簧管,分别观察实验现象。
实验2 光控开关
光控路灯可以根据光照的变化自动开启或关闭。怎样能够在天色暗到一定程度时让路灯自动开启,而在天明时自动熄灭?我们可以利用光敏电阻来完成这一任务。下面提供两种模拟的光控开关电路,用发光二极管或小灯泡代表路灯。
实验器材和装置
在控制电路中,由于光敏电阻的工作电流很微弱,不能直接驱动执行机构工作,因此一般都需要配置一定的放大电路实现控制。晶体三极管是半导体基本元件之一,具有电流放大作用,在控制电路中常用作电子开关。本实验采用三极管配合光敏电阻完成光控开关的任务。三极管由三个电极组成,分别是发射极 e,基极 b 和集电极 c,有 NPN 型和 PNP 型两种(图 5.3–4)。三极管的一个重要特性是,从基极输入一个较小的电流,就会在集电极获得较大的电流。此外,三极管还具有完成断路和接通的开关作用。实验电路如图 5.3–5 所示。光控电路用发光二极管 LED 模仿路灯,RG 为光敏电阻,R2 为发光二极管的限流电阻。可调电阻 R1 与光敏电阻 RG 组成串联分压电路,把光敏电阻因光照而发生的电阻变化,转换为电压的变化,加载到三极管 VT 的基极 b 上(图5.3-5甲)。当基极电压达到一定程度后,三极管被导通,从而使得由电源正极经电阻 R2、发光二极管、三极管集电极和发射极到达电源负极的回路被导通。可调电阻 R1 的作用是调整设定电路对周边光亮度的反应,在电路中能够控制三极管的基极电流。如果把 R1 阻值调得更大些,就会在天更暗时才点亮路灯。
传感器的工作离不开其他电子元件。要想更好地应用传感器实现一些简单的电子技术方面的制作,还要在更多的资料中找到自己需要的知识和信息。
为了能够驱动更大功率的负载,如采用小灯泡模仿路灯,就要使用继电器来启、闭另外的供电电路,如图 5.3–5 乙中 K 为继电器的线圈,S 为它的常开触点。为了防止继电器释放衔铁时线圈中的自感电动势损坏三极管,必须给线圈并联一只二极管 D,以提供自感电流释放的通路。实验中具体选取的元件参数可参考表 2。
表 2 基本元件及参数
序号 |
名称 |
规格型号 |
数量 |
1 |
可调电阻 R1 |
最大电阻为 51 kΩ |
1 |
2 |
限流电阻 R2 |
330 Ω |
1 |
3 |
光敏电阻 RG |
暗电阻>1 MΩ 亮电阻<3 kΩ |
1 |
4 |
三极管 VT |
8050 |
1 |
5 |
发光二极管 LED |
红色 |
1 |
6 |
继电器 |
HRS1H-S 5 V 或 JQX-14FC 5 V |
1 |
7 |
小灯泡 L |
6 V 0.3 A |
1 |
8 |
二极管 D |
IN4001 |
1 |
9 |
电源 |
干电池 6 V |
1 |
电路工作原理
当环境光比较强时,光敏电阻 RG 的阻值很小,三极管不导通,发光二极管或继电器所在的回路相当于断路,即发光二极管不工作;继电器处于常开状态,小灯泡 L 不亮。
当环境光比较弱时,光敏电阻 RG 的阻值变大,三极管导通,且获得足够的基极电流,产生较大的集电极电流,点亮发光二极管或驱动继电器吸合而点亮小灯泡 L。
实验操作
(1)按照图 5.3–5 所示连接电路,检查无误后,接通电源。
(2)让光敏电阻 RG 受到白天较强的自然光照射,调节电阻 R1 使发光二极管 LED 或小灯泡 L 刚好不发光。
(3)遮挡 RG,当光照减弱到某种程度时,就会看到发光二极管 LED 或小灯泡 L 发光。
(4)让光照加强,当光照强到某种程度时,则发光二极管 LED 或小灯泡 L 熄灭。
如果实验现象不明显,可用手电筒加强光照,或遮盖光敏电阻,再进行观察。
练习与应用
本节共设置 3 道习题。第 1 题考查牛顿力学结合传感器工作原理的联系与应用。第 2 题对学生综合素养要求较高,既需要学生知道传感器的工作原理,又要求学生能够熟练灵活地运用电路知识进行设计实验,且没有给出其他相关器材,有一定开放性。第 3 题给出了光控继电器的示意图,要求学生简述其原理。
1.某同学设计了一个加速度计,如图 5.3–6 所示。较重的滑块 2 可以在光滑的框架 1 中平移,滑块两侧用弹簧 3 拉着;R 为滑动变阻器,4 是滑动片,它与电阻器任一端之间的电阻值都与它到这端的距离成正比。这个装置就是一个加速度传感器。两个电池 E 的电压相同。按图连接电路后,电压表指针的零点位于表盘中央,当 P 端的电势高于 Q 端时,指针向零点右侧偏转。
将框架固定在运动的物体上,当物体具有图示方向的加速度 a 时,电压表的指针将向哪个方向偏转?简述你分析的过程。
2.双金属温度传感器是将两种具有不同热膨胀系数的金属贴合在一起制成的。当它温度升高时,两种金属伸长不一样而发生弯曲变形,使触点接通或断开。日光灯启动器里就有一个双金属温度传感器(图 5.3–7)。取一个报废的日光灯启动器,去掉外壳,在充有氖气的玻璃泡内,有一个 U 形的双金属片,其旁边有一根直立的金属丝,两者构成一对触点。常温下两触点是分离的,温度升高时,双金属片因形变而与金属丝接触。

敲碎氖泡的玻璃,调节两触点之间的距离,使温度升高到 60 ℃ 时两触点恰好接通。请你利用这个双金属温度传感器,设计一个电热水器自动加热的控制方案。当水温低于 60 ℃ 时自动通电加热,高于 60 ℃ 时自动断电。
3.工人在锻压机、冲床、钻床等机器上劳动时,稍有不慎就会把手压在里面,造成工伤事故,工厂中大都是利用光电控制设备来避免事故发生的。如图 5.3-8 所示为光控继电器的示意图,它由电源、光电二极管(当有光照射时,二极管导通,没有光照时,二极管截止)、放大器、电磁继电器等几部分组成。这样,当工人不慎将手伸入危险区域时,由于遮住了光线,光控继电器衔铁立即带动开关,使机床停止工作,避免事故发生。请简述光控继电器的原理。
第 3 节 利用传感器制作简单的自动控制装置 教学建议
1.教学目标
(1)会利用干簧管制作简单的自动控制装置,如rJ窗防盗报警装置。
(2)会利用光敏电阻制作简单的自动控制装置,如光控开关。
(3)通过制作自动控制装置,初步养成针对学习和生活中的问题,设计方案、动手实践的意识和习惯。
2.教材分析与教学建议
本节内容主要是引导学生根据第 1、2 节的内容,学以致用,积极动手实践。教师若能设置实际生活中的应用场景,然后引导学生进行功能需求分析、电路控制分析、设计实验电路并组装完成,这对培养学生的创新能力、提升对物理学的兴趣有极大的裨益!
本节教学内容的重、难点是实验电路的设计和对学生动手实践能力的培养,这也是大多数学生相对薄弱的环节。建议教师在教学过程中创造条件进行分组实验,让每个学生动手实践,才能真正地培养出学生的创造能力。
(1)实验 1 门窗防盗报警装置
报警装置的应用场景很多,不仪是门窗防盗,还可以用于日常各种提醒场景,比如汽车上的车门、后备箱门等。本节以门窗防盗报警装置为例,引导学生进行功能需求分析和电路控制分析,如下表所示:
功能需求 |
需求特征 |
可实现的传感器或电路 |
感知门窗开关 |
门和门框有相对位置变化,转换为两种状态 |
干簧管 |
报警装置 |
发声、发光 |
蜂鸣器、发光二极管 |
能自动接通两种状态电路的开关 |
类似于单刀双掷开关,但要能自动切换 |
电磁继电器或其他可由门带动的机械开关等 |
其他 |
供电、连接…… |
合适的电源、导线等 |
对实验所用部分元件的补充说明:
①发光二极管:如教材图 5.3–3 所示,它有两根引脚,较长的是正极。只有加上一定的正向电压,发光二极管才能导通发光。普通的发光二极管工作电流只需要几毫安,最大不得超过 10 mA,过大的电流会损坏发光二极管,因此在使用时必须串联合适的限流电阻。
②电磁继电器:可以采用 JQX–14FC 型继电器,其两个引脚处接入供电电路,三个引脚处接入控制电路(类似于单刀双掷开关)。
③有源蜂鸣器:有源蜂呜器两引脚之间加 3 ~ 5 V 电压时,蜂鸣器会不断发声。
门窗防盗报警装置实验可行性强,电路简单,容易操作,元件易得并可以反复使用。
(2)实验 2 光控开关
引导学生进行功能需求、逻辑分析,因为学生对三极管比较陌生,此处让学生设计电路有一定难度,故主要引导学生分析清楚教材图 5.3–5,了解电路中各元件的作用以及如何实现所需功能。
三极管的放大原理对于绝大多数高中学生而言较难理解,也没必要要求学生掌握,只需知道使用方法即可。简单地说,在电子电路中三极管的主要用途是放大和开关。其开闭状态取决于加在基极上的电压,当加在基极上的电压小于一定值时,三极管相当于断开开关;当加在基极上的电压达到或超过一定值时.三极管相当于闭合开关;若电压太大,也会击穿三极管造成永久损坏。在此实验中,三极管就相当于是一个用电压控制通断的自动开关。
教学片段
光控开关的调节
教师提问:在教材图 5.3–5 甲中,为何把 R1 阻值调大一些,就会在天更暗时才点亮路灯?
学生分析:当 R1 阻值增大时,其两端电压变大,光敏电阻 R0 两端电压变小,就不容易使三极管开关导通。故只有天更暗时,光敏电阻 RG 阻值增大,电压增大,才能导通三极管开关,点亮路灯。
在教材图 5.3–5 乙的实验中,可以引导学生进一步分析讨论:并联在电磁继电器上的二极管有何作用?能否换成一个酱通电阻?
本节内容已经尽量减少技术层面的难度,但对于大多数教师来说还是相对陌生的,教师可以利用互联网获取各种元件知识及其使用技巧,拓宽教师自身的知识面,提升学科专业能力。
3.“练习与应用”参考答案与提示
本节共设置 3 道习题。第 1 题考查牛顿力学结合传感器工作原理的联系与应用。第 2 题对学生综合素养要求较高,既需要学生知道传感器的工作原理,又要求学生能够熟练灵活地运用电路知识进行设计实验,且没有给出其他相关器材,有一定开放性。第 3 题给出了光控继电器的示意图,要求学生简述其原理。
1.当物体具有教材图 5.3–6 所示方向的加速度时,滑块 2 将向左移动,带动变阻器的滑片 4 移向中点左方。变阻器右端电阻变大,故电流流过滑动变阻器时电势降落大。因此,Q 点电势高于 P 点,指针应向零点左侧偏转。
提示:这个装置可以同时测出加速度的大小和方向,大小可以通过电压表示,方向可以通过指针偏转方向判定。
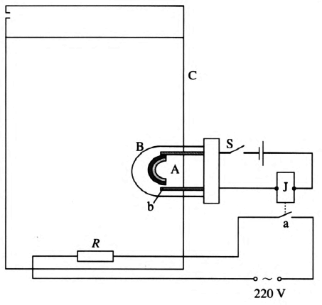
2.控制电路如图 5–3 所示,A 为调节后的 U 形双金属片,一端固定在金属杆上,另一端固定与金属丝 b 构成一对触点。将它密封在玻璃罩 B 内,成为温度传感器,浸入电热水器 C 的水中。J 为电磁继电器的线圈,a 为该继电器的常闭触点,R 为大功率电热元件。闭合开关 S,若水的温度低于 60 ℃,双金属片 A 与触点 b 分离,继电器触点 a 闭合,电热元件通电发热。当水温升高到 60 ℃ 时双金属片 A 因温度升高而与触点 b 接触,则触点 a 断开,加热电路断开,就停止对水的加热了。水温下降到 60 ℃ 以下时,A 与 b 又断开,触点 a 闭合,加热电路闭合再度给水加热。

提示:本题还有其他不同的合理方案,本方案仅供参考。
3.当有光照射光电二极管时,光电二极管导通,它所在的电路中产生电流,此电流经放大器放大使电磁铁 M 将衔铁 N 吸住。开关 S 闭合后,工作电路接通,正常工作。如果手不慎进入危险区域遮住了照射光电二极管的光线,光电二极管不导通,它所在电路断开,所以 M 中也没有电流,衔铁在弹簧作用下分开,于是工作电路断开,机床停止工作。
发布时间:2022/7/31 下午1:01:24 阅读次数:3461