第四章 2 电磁场与电磁波
电磁振荡电路中的能量有一部分要以电磁波的形式辐射到周围空间中去,那么,这些电磁波是怎样产生的?
在变化的磁场中放一个闭合电路,电路里就会产生感应电流。麦克斯韦从场的观点出发,认为电路里能产生感应电流,是因为变化的磁场产生了电场,正是这个电场促使导体中的自由电荷做定向运动,产生感应电流。他将这种用场描述电磁感应现象的观点,推广到不存在闭合电路的情形,即变化的磁场产生电场(图 4.2–1)。这是一个普遍规律,跟闭合电路是否存在无关。
静止的电荷,它产生的是静电场,即空间各点的电场强度不随时间变化。当电荷从静止到运动时,电场就发生变化,即空间各点的电场强度将随时间变化。运动的电荷在空间要产生磁场。从场的观点出发,麦克斯韦假设:变化的电场就像运动的电荷,也会在空间产生磁场,即变化的电场产生磁场。例如,在电容器充、放电的过程中,不仅导体中的电流产生磁场,而且在电容器两极板间周期性变化的电场也产生磁场(图 4.2–2)。
“变化的磁场产生电场”,这实际上是个假设。这个假设基于电磁感应现象,是很自然的。
“变化的电场产生磁场”,这是另一个假设。这个假设没有直接的实验做基础,它出于对自然规律的洞察力,是很大胆的,但却更具有创造性。
根据麦克斯韦的上述两个观点可以得出,变化的电场和磁场总是相互联系的,形成一个不可分割的统一的电磁场。如果在空间某区域有周期性变化的电场,就会在周围引起变化的磁场,变化的电场和磁场又会在较远的空间引起新的变化的电场和磁场。这样变化的电场和磁场由近及远地向周围传播,形成了电磁波。
在机械波中,振动的传播需要具有弹性的介质,而电磁波则不需要任何介质,在真空中也能传播,这是由电磁波的本性所决定的。因为电磁波的传播,靠的是电和磁的相互“感应”,而不是靠介质的机械传递。
麦克斯韦从理论上预见,电磁波在真空中的传播速度等于光速 c,由此,麦克斯韦预言了光是电磁波!他说:“我们有充分的理由断定,光本身是……按电磁波规律传播的一种电磁振动。”
根据麦克斯韦的电磁场理论,电磁波在真空中传播时,它的电场强度 E 与磁感应强度 B 互相垂直,而且二者均与波的传播方向垂直。图 4.2–3 表示做正弦变化的电场或磁场所引起的电磁波在某一时刻的图像。
1886 年,赫兹在做放电实验时发现附近未闭合的线圈也出现了电火花。于是他制作了一套仪器,试图用来发射和接收电磁波(图 4.2–4)。仪器中有一对抛光的金属小球,两球之间有很小的空气间隙。将两个球连接到产生高电压的感应圈的两端时,两球之间就出现了火花放电。
在机械波中,位移这个物理量随时间和空间做周期性变化。而在电磁波中,电场强度 E 和磁感应强度 B 这两个物理量随时间和空间做周期性变化。
仪器的另一部分是弯成环状的导线,导线两端也安装两个金属小球,小球之间也有空隙。当把这个导线环放在距感应圈不太远的位置时,他观察到:当感应圈两个金属球间有火花跳过时,导线环两个小球间也跳过了火花。
这是一个令人振奋的现象!电磁波从发射器到达了接收器。这个过程是怎样发生的呢?
当与感应圈相连的两个金属球间产生电火花时,周围空间出现了迅速变化的电磁场。这种变化的电磁场以电磁波的形式在空间传播。当电磁波到达导线环时,它在导线环中激发出感应电动势,使得导线环的空隙中也产生了火花,说明这个导线环接收到了电磁波。
在以后的一系列实验中,赫兹观察到了电磁波的反射、折射、干涉、偏振和衍射等现象。他还测得电磁波在真空中的速度等于光速 c,证明了电磁波与光的统一性。这样,赫兹证实了麦克斯韦的电磁场理论。赫兹的实验为无线电技术的发展开拓了道路,后人为了纪念他,把频率的单位定为赫兹。
根据电磁场理论,电磁场的转换就是电场能量和磁场能量的转换,因而电磁波的发射过程就是辐射能量的过程,传播过程就是能量传播的过程。能量是电磁场的物质性最有说服力的证据之一。当法拉第提出“力线”和“场”的概念时,它们还仅仅被看作是一种描述电磁力的方法,但是当麦克斯韦提出电磁场理论并被赫兹的实验证实以后,电磁场就像光一样真实了。由此,人们认识到物质存在两种形式,一种是由原子和分子构成的实物,另一种则是以电磁场为代表的场。
麦克斯韦电磁场理论的建立
法拉第发现电磁感应现象那年,麦克斯韦在苏格兰爱丁堡附近诞生了。他从小热爱科学,喜欢思考。1854 年从剑桥大学毕业以后,他精心研读了法拉第的著作。麦克斯韦被法拉第关于“场”和“力线”的思想深深吸引,但他也看到了法拉第定性表述的弱点。因此,这位初出茅庐
的科学家下定决心,要把法拉第的物理思想用数学公式定量化地表达出来。
1860 年初秋,麦克斯韦特意去拜访法拉第。两人虽然在年龄上相差 40 岁,在性情、爱好、特长方面也迥然各异,可是对物质世界的看法却产生了共鸣。法拉第鼓励麦克斯韦:“你不应停留在用数学解释我的观点,而应该突破它!”
在麦克斯韦研究电磁现象的时候,科学家的研究已经从静止的、恒定的特殊情形扩展到运动变化的普遍情形;从孤立的电作用、磁作用扩展到彼此的联系。在这些研究的基础上,麦克斯韦历时 10 年终于建立了普遍的电磁场理论。

麦克斯韦首先从类比研究入手,借用适当的数学工具表述法拉第的“力线”;后来,为了进一步说明“力线”的分布和性质,他转而建立新的模型并提出位移电流与电磁波的概念;最后,他把电磁场作为客体放在核心位置,总结出麦克斯韦方程组(图 4.2–5),建立了完整的电磁场理论。
麦克斯韦电磁场理论的意义足以跟牛顿力学体系相媲美,它是物理学发展中一个划时代的里程碑。电磁波的发现使得我们进入了无线电科学与技术的时代,从对电磁波的利用中诞生了收音机和电视机,再到后来的卫星通信、互联网和移动电话。
1.“变化的磁场产生电场”,这是麦克斯韦电磁场理论的重要支柱之一。请你通过相关的实验事实和一定的逻辑推理,说明这个结论的正确性。
2.赫兹在 1886 年做了一个有名的实验,证明了电磁波的存在。他把环状导线的两端各固定一个金属小球,两小球之间有一很小间隙,他把这个装置放在一个距离正在放电发生电火
花的感应圈不远的地方,令他振奋的现象发生了。他当时看到了什么现象?为什么说这个现象让他捕捉到了电磁波?
3.你能否用生活中的例子说明电磁波的存在?
4.我们通常听到的声音是靠声波来传播的,而手机接收的是电磁波。请你小结一下:声波和电磁波有哪些地方是相同的?有哪些地方存在着差异?
第 2 节 电磁场与电磁波 教学建议
1.教学目标
(1)进一步了解麦克斯韦电磁场理论的基本思想。知道电磁波的概念。初步了解电磁场是物质的一种形式。会从电磁场的物质性与能量传播的观点解释电磁波的发射与接收。
(2)领会在发现电磁波的过程中所蕴含的科学精神和科学研究方法,体会赫兹实验证明电磁波存在的重大意义。
(3)了解发现电磁波的历史背景,知道麦克斯韦对电磁学的伟大贡献。领会物理实验对物理学发展的基础意义。
2.教材分析与教学建议
本节内容也是本章的重点和难点内容。在电磁振荡的基础上,从电磁振荡中能量转化的角度提出损失的能量有一部分会以电磁波的形式辐射出去,进而引出电磁波是如何产生的。
电磁学的核心内容就是电磁场的概念和麦克斯韦电磁场理论.但这些内容非常抽象,在中学阶段学生很难完全理解,只能要求学生对电磁场理论有一个初步的定性了解。教材突出了电磁场理论中最核心的内容:变化的电场产生磁场,变化的磁场产生电场;变化的电场和磁场交替产生,传播出去形成电磁波。
需要注意的是,教材中还特别强调了“变化的磁场产生电场”和“变化的电场产生磁场”均是麦克斯韦的假设,并对后者通过旁批指出:“这个假设没有直接的实验做基础,它出于对自然规律的洞察力,是很大胆的,但却更具有创造性。”从而突出了麦克斯韦电磁场理论建立过程中的创新科学思维。
赫兹实验是验证电磁波是否存在的实验,它是检验麦克斯韦电磁场理论是否正确的试金石,因此也是物理学史上起奠基作用的经典实验。这个实验对学生认识物理世界、培养科学思维都能起到一定的作用。在教学中,可以在赫兹实验结论的基础上引导学生体会场的多样性与统一性,在对电磁场物质性的分析、推理中渗透物理观念和科学思维的培养。
本节内容对学生来说比较抽象,学习起来有一定的难度。对麦克斯韦电磁场理论不要过多地展开,而应重点突出麦克斯韦的科学思维、赫兹实验、电磁波形成的条件以及对场的多样性、统一性和物质性的认识。
(1)问题引入
在上一节的学习中,通过演示实验观察到了振荡电路中的电压在逐渐减小(可以让学生再次观察教材图 4.1–1 乙),之后通过类比机械振动分析了电磁振荡中的能量变化情况,知道了在电磁振荡中损失的能量有一部分转化为了内能,还有一部分以电磁波的形式辐射到周围的空间中。由此提出问题:这些电磁波是怎样产生的?
(2)电磁场
对于电磁场理论的核心之一——变化的磁场产生电场,教材从电磁感应现象中随时间变化的磁场在线圈中产生感应电流谈起。为了使学生容易理解此内容及教材图 4.2–1,可以参考以下教学片段。
教学片段
变化的磁场产生电场
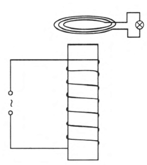
教师活动:按图 4–2 的实验装置进行实验演示。需要强调螺线管接交变电源。

教师提问:灯泡发光,说明在线圈中产生了电流,那么,这个电流是如何产生的?
学生回答:螺线管接交变电源,穿过螺线管的磁场随时间发生周期性变化,因此穿过线圈的磁通量也发生周期性变化,由法拉第电磁感应定律可知此时在线圈中产生了感应电动势,在闭合电路中产生了感应电流。(若学生对此部分知识有遗忘,教师可适时地进行启发、引导。)
教师提问:电流是如何形成的?
学生回答:电荷的定向移动形成电流。
教师陈述:变化的磁场在线圈中产生电场,正是这个电场促使线圈中的自由电荷做定向运动,形成了线圈中的感应电流。
教师提问:如果用不导电的塑料线绕制线圈,线圈中还会有电流、电场吗?线圈不存在时线圈所在处的空间还有电场吗?
学生回答:没有电流,但电场仍然存在。
这种逐步抽象的方法可以帮助学生理解麦克斯韦的想法。要说明,麦克斯韦认为线圈只不过是用来探知、显示电场存在的,线圈不存在时变化的磁场同样在周围空问产生电场。要强调指出,麦克斯韦揭露了电磁感应现象的本质——变化的磁场产生电场。
对于电磁场理论的另一个核心——变化的电场产生磁场,在教学中应该突出其提出的依据和思想,即电和磁的对称性。还可以以此作为切入点,进行对称性和类比方法的教育。教师可以启发学生回忆学过的知识,有哪些问题是从对称的角度提出的。例如,奥斯特发现电生磁后,法拉第从对称的角度出发提出磁生电的问题,最终发现电磁感应现象。因为有前面的例子作铺垫,再引出当前的例子,就更加自然且具有说服力。麦克斯韦继承了法拉第关于场是客观存在、电场与磁场统一的思想,根据电现象与磁现象的相似性和变化的磁场能产生电场,相信电场和磁场具有对称之美,经过反复思考提出一个假设:变化的电场产生磁场。有了这一步,麦克斯韦才能建立完整的电磁场理论。
教材中提出:“如果在空间某区域中有周期性变化的电场,就会在周围引起变化的磁场……形成了电磁波。”对于其中的“周期性变化”的理解,教学中不应统一要求,如果学生对此有疑问,可参考以下解释:由 E = \(\frac{{\Delta \Phi }}{{\Delta t}}\) 可知,如果磁通量 Φ 均匀变化(即均匀变化的磁场),则产生的电动势 E 是恒定的,在周围空间中形成的电场是恒定不变的,而一个恒定不变的电场不会继续激发磁场;反之,如果磁通量中是周期性变化的,则产生的电动势 E 也是周期性变化的,即在周围空间中形成的是周期性变化的电场,这种周期性变化的电场将在空间中又形成周期性变化的磁场……由此,周期性变化的电场和磁场交替激发,形成了一个不可分割的整体——电磁场,这个整体由近及远向外传播,就形成了电磁波。
(3)电磁波
教材在电磁场的基础上介绍了电磁波的概念。在讲解电磁波的基本特点时要注意与机械波进行对比,使学生明确两种波的异同点。特别是电磁波可以在真空中传播的原因,电磁波在真空中的传播速度是光速 c,以及光是一种电磁波。
教材图 4.2–3 展示的是电磁波传播的图像,由此可以获得对电磁波性质的一些认识,从而使学生获得电磁波的图景:①电磁波在空间传播时,在任一位置上(或任意时刻)电场强度方向、磁感应强度方向和传播方向三者互相垂直;②在电场强度为最大值的空间某一位置上,磁感应强度也为最大值(这一点的理由不必解释,只告诉学生是被理论和实验所证实的);③电磁波波速与光速相同,这是麦克斯韦从电磁场理论中所预言的。通过这一点,教师应指出科学理论的重大意义在于可以预见人类尚未认识的事实。
电磁波的存在是由麦克斯韦电磁场理论导出的必然结论。在说明周期性变化的电场在周围空间产生周期性变化的磁场,周期性变化的磁场在周围空间产生周期性变化的电场,形成向外传播的电磁波时,要强调“周围空问”的含义。即:变化的电场(磁场)产生的磁场(电场)不局限于变化的电场(磁场)所在处,而是向周围空间扩展出去。
在介绍赫兹实验时,应该使学生认识到赫兹对于物理现象的敏锐洞察力来自对基本理论的深入理解。赫兹在实验室里检查仪器时偶然观察到感应线圈放电时发生的电火花,立即想到电火花是电磁波引起的。在这个思想引导下,赫兹设计了如教材图 4.2–4 所示的实验装置,其中圆形开口状的导线环是根据电磁感应现象设计出来的,导线环成了电磁波的检测器。正如赫兹设想的那样,实验获得了成功。电磁波从感应圈通过空间传到导线环,总需要一定的时间,因此第二个火花比第一个火花延迟出现,即检测器的火花和感应圈的火花不可能同时出现。1888 年赫兹终于测出了电磁波的传播速度,而且恰如麦克斯韦所预言的那样,它就是光速。赫兹还观察到电磁波的反射、折射、干涉、偏振和衍射等现象,从而从不同方面验证了麦克斯韦电磁场理论。教学中要注意引导学生体会场的多样性与统一性,还要特别凸显基于事实证据和科学推理进行检验的科学论证这种科学思维要素。此外,这部分内容还通过展现假说、理论预言、实验证实的过程体现了科学探究在科学发现中的重要作用。
最后,教材从能量的角度再次明确了场的物质性。在电磁场物质性的介绍中要给学生渗透物理观念和科学思维方法。说电磁场是一种物质,要有根据,要通过事实说明它们与水流、石块这样的实物具有某些共同的属性。实物的根本属性之一是具有能量。在第 1 节中已经专门讨论过振荡电路的能量转化过程,进而在第 2 节提出问题:“电磁振荡电路中的能量有一部分要以电磁波的形式辐射到周围空间中去,那么,这些电磁波是怎样产生的?”从而引发对电磁波的思考。在分析电磁波的性质之后发现,电磁波也具有能量,这是电磁场的物质性的最有力的证据之一。由此帮助学生认识到,实物和场是物质存在的两神形式。
(4)科学漫步 麦克斯韦电磁场理论的建立
教材通过“科学漫步”栏目介绍了麦克斯韦电磁场理论的建立过程。电磁场理论建立的历史过程是对我们有极大启发的、激动人心的过程。在教学中要挖掘“科学漫步”栏目中的素材,充分发挥其引导和教育的作用。首先,让学生体会麦克斯韦电磁场理论的基本思想在物理学发展中的理论意义;其次,学习科学家们的科学精神和研究物理问题的思想方法,例如从定性表述到定量表达、类比、推理等;最后,体会电磁波的发现给人们的生产生活带来的改变。
3.“练习与应用”参考答案与提示
本节共设置 4 道习题。第 1 题要求通过相关实验事实和逻辑推理,分析“变化的磁场产生电场”的正确性。第 2 题要求说明赫兹发现电磁波的实验现象和这一现象与电磁波的联系。第 3 题要求列举电磁波存在的例子。第 4 题要求小结声波和电磁波的异同。
1.在变化的磁场中放一个闭合电路,电路里就会产生感应电流。这是因为变化的磁场产生了电场,正是这个电场促使导体中的自由电荷做定向运动,产生了感应电流。即使在变化的磁场中没有闭合电路,同样会产生电场,即变化的磁场产生电场。
2.当与感应圈相连的两个金属球之间出现火花时,导线环两个小球之间也出现了火花。
当与感应圈相连的两个金属球之间产生电火花时,周围空间出现了迅速变化的电磁场。这种变化的电磁场以电磁波的形式在空间传播。当电磁波到达导线环时,它在导线环中激发出感应电动势,使得导线环两个小球之间也产生了火花,说明这个导线环接收到了电磁波。
3.收音机能接收无线电信号,遥控器能遥控电子设备,手机能接收和发射无线电信号,这些现象都说明了电磁波的存在。
4.声波与电磁波的异同见下表。
声波 | 电磁波 | ||
相同点 | 1.都有波的特性,如能产生反射、折射、干涉、衍射等现象。 2.都满足波速、波长、频率之间的关系式 v = λf。 |
||
不同点 | 产生机理 | 由发声体振动带动介质振动形成,属于机械波的一种。 | 由变化的电场和磁场在空间的传播形成 |
介质对传播的影响 | 声波的传播需要介质,不能在真空中传播。 | 电磁波可以在真空中传播,速度等于光速 c,也可以在介质中传播。 |
发布时间:2020/11/5 下午8:41:53 阅读次数:7911