十、力的分解
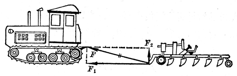
作用在物体上的一个力往往产生几个效果。拖拉机拉犁耕地,对犁的拉力F是斜向上方的,这个力产生两个效果:使犁克服泥土的阻力前进,同时把犁上提,这两个效果相当于两个力产生的(图1-27):一个水平的力F1使犁前进,一个竖直向上的力F2犁上提,可见力F可以用两个力F1和F2来代替。几个力,如果它们产生的效果跟原来一个力产生的效果相同,这几个力就叫做原来那个力的分力。求一个已知力的分力叫做力的分解。
因为分力的合力就是原来被分解的那个力,力的分解是力的合成的逆运算,所以一个力分解为两个力同样遵守平行四边形法则,把一个已知力作为平行四边形的对角线,那么与已知力共点的平行四边形的两个邻边就是已知力的两个分力。在图1-27中,F1和F2是F的两个分力。

我们知道,如果没有其他限制,对于同一条对角线,可以作出无数个不同的平行四边形(图1-28),也就是说,同一个力F可以分解为无数对大小、方向不同的分力,那么,一个已知力究竟该怎样分解呢?
把一个物体放在斜面上,物体受到竖直向下的重力,但它并不能竖直下落,而要沿着斜面下滑,同时使斜面受到压力。这时重力产生两个效果:使物体沿斜面下滑以及使物体压紧斜面,因此重力G应该分解为这样两个力:平行于斜面使物体下滑的力F1,垂直于斜面使物体压紧斜面的力F2(图1-29)。


如果已知斜面的倾角θ,就可以求出分力F1和F2的大小,由于直角三角形ABC与OQN相似,所以
F1=Gsinθ,
F2=Gcosθ。
可以看出,F1和F2的大小都和斜面的倾角有关。斜面的倾角增大时,F1增大,F2减小。车辆上桥时,力F1阻碍车辆前进;车辆下桥时,力F1使车辆运动加快,为了行车方便与安全,高大的桥要造很长的引桥,来减小桥面的坡度。

把重量为G的物体挂在图1-30所示的支架上,物体通过绳子使支架上的O点受到一个向下的作用力F,大小等于物体的重量G。力F对支架的两个梁产生的效果是什么呢?如果在M和N处加上小弹簧,可以看到M处的弹簧受到压缩,N处的弹簧受到拉伸。这时力F产生两个效果:沿NO方向拉斜梁,沿OM方向压横粱,因此应该把力F分解为这样两个力:沿NO方向拉斜梁的力F1,沿OM方向压横梁的力F2。设斜梁跟墙的夹角为θ,可以看出,
F1=F/cosθ,
F2=Ftanθ。
从上述例子可以看出,分解一个力要具体考虑这个力产生的效果,一个力我们可以根据它产生的效果来分解它。
练习七
(1)一个物体的重量是20N,把它放在一个斜面上,斜面长AB与斜面高BC之比是5∶3。把重力分解,求出平行于斜面使物体下滑的力和垂直于斜面使物体压紧斜面的力。
(2)图1-31是塔式起重机,钢索NO与水平悬臂MO成30°角,当起重机吊着4.0×104N的货物时,钢索和悬臂分别受多大的力?


(3)如图1-32所示,垂直作用在帆上的风力F=1.0×104N。F沿着船身方向的分力F1使帆船前进,垂直于船身方向的分力F2使船身侧倾。设F与船身方向成45°角,求力F1是多大。
(4)把竖直向下的180N的力分解为两个分力,一个分力在水平方向上并等于240N,求另一个分力的大小和方向。
(5)一个小同学跟一个大同学拔河,小同学拉不动大同学。可是用下述办法,小同学就可以拉动大同学。在树干上拴一条绳子,大同学拿着绳子的另一端,沿水平方向把绳子拉紧。小同学用力推绳子的中点,就可以拉动大同学了,实际做一做,并解释所发生的现象。
文件下载(已下载 680 次)发布时间:2015/6/24 下午12:24:12 阅读次数:2397
