利用激光的抛物线等寻找焦点
实验内容
利用激光制作可进行反射的抛物线反射体、椭圆反射体、双曲线反射体。并活用制成的装置进行与光的反射相关的实验。特别是通过实验寻找抛物线的焦点。
所需材料
激光器,幻灯片,树脂板,坐标纸(宽40cm,长40cm),硬纸板(宽3cm,长60cm),铝箔,泡沫塑料,胶水,固定线。
实验方法
【反射体的制作】
1.在坐标纸上以5cm为1个刻度,改变a的值,绘制一条方程式为y=ax2抛物线。将坐标纸夹在两张透明的树脂板中。
2.在硬纸板的一面涂上胶水,贴上铝箔,注意不要弄皱。
3.把宽3cm的泡沫塑料切割成与1中的抛物线相同的形状。
4.用固定线把加工好的泡沫塑料和2中的铝箔按照抛物线的形状固定在一起。印制成抛物线反射体。
5.按照同样的方法可制作椭圆反射体,双曲线反射体。
【实验步骤】
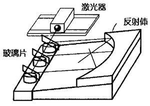
1.用激光照射铝箔制成的抛物线反射体(如图1),将其反射光记录在固定干坐标纸上的树脂板上。
2.将实验得到的焦点位置与理论值进行比较。

3.用同样的方法测定椭圆与双曲线的焦点。
延伸
1.除了实验以外,可进行作图练习。按照图2所示画出连接线,测定入射角,并以此为依据画出反射光线。以测出焦点。

2.作为实验以外的活动,可使用电脑进行模拟图像练习。如下图所示:

发布时间:2015/1/15 下午8:47:53 阅读次数:6622
