水压与水量有关吗?
实验内容
1.用薄的塑料袋,去感觉通常用手感觉不到的压力。
2.了解水压只决定于水深,与水量无关(水深10cm、压强10g/cm2,确认水压与水深的比例关系)。
所需材料
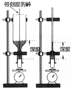
1.灌肠器或大号注射器(直径1.8cm、2.5cm、3.6cm等)及玻璃管(内径10mm、长度30cm左右);

2.去掉底的塑料瓶或玻璃瓶;
3.台秤(最小刻度2g,秤重1kg左右);
4.架台(支撑容器等);
5.洗净的塑料瓶,口部细长(可以便利地调节水的加入、排出量);
6.带刻度的玻璃棒(刻度间隔5cm)和用于固定棒上部的架台;
7.橡胶塞或橡胶管(连接1、2)。
注意事项
1.灌肠器或大号注射器管筒和活塞之间要尽量避免摩擦。(用打磨金属的砂纸打磨光滑)。关键是不要有任何小的摩擦(水必须干净、不能用摸过粉笔的手进行操作。在实验中要不断确认有无摩擦发生)。
2.用夹子夹住大号注射器。管筒不要有晃动。耍注意夹子夹紧的地方。
3.测量水深的方法是:将带刻度的玻璃棒放到活塞上部,从这里开始测量水深。
4.深度5cm时的水量太少(效果不明显),如果增加5-10cm(深度的)水量的话,就可以从中明白压力和水量及水深的关系。
实验方法
1.实际感觉受被水压迫的压力
用薄的塑料袋包住手腕,不与水直接接触,将手腕放到水中,可以很明显地感到水的压力。
2.测量水压
(1)安装A装置,读取不加水时台秤的刻度(这时的重量相当于活塞和测量水深用的细棒的重量和)。
(2)向装置的容器中加水到5cm深,读取台秤的刻度。
(3)记录刻度增加的部分,水深到10cm时,提问学生刻度增加了多少(A:和5cm时的增加量一样,B:比这个多。C:比这个少,D:不清楚)。让学生选其一。
(4)记录刻度的增加量,当水深达到15cm时,问学生刻度增加了多少(A:和5cm时的增加量一样,B:比这个多。C:比这个少。D:不清楚)。让学生选其中之一。
(5)安装B装置(注射器的粗细不同),进行同样的实验。
(6)安装C装置,进行同样的实验。
文件下载(已下载 1821 次)发布时间:2014/12/5 下午9:25:00 阅读次数:9375
