太阳能小船
利用太阳能电池让小船快速航行。
实验内容
如果手边有太阳能电池,就能制作能够跳跃式航行的小船。该小船是以阳光为能量的,依靠其强有力的螺旋桨可以持续转圈的小船。
所需材料
太阳能电池(各个种类)1~2个,马达1~2个,螺旋桨(中)1~2个,舵(中)1个,橡胶管1根,马达座1~2个,泡沫塑料(厚2.8cm),轻木材料(厚5mm),泡沫塑料用粘合剂、木工用粘合剂,万能抹布,锯,刀,木螺丝(小)。
实验方法
【制作方法】

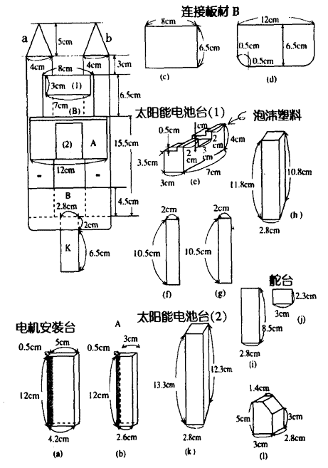
1.从主体开始制作。测量轻木板和泡沫塑料板后进行切割,使用粘合剂将轻木板粘在泡沫塑料板上(要把两块轻木板粘在一起使用)。
2.将马达安装台或舵安装台按照太阳能电池台的大小进行切割,然后用粘合剂把它们分别粘好。马达台是将(b)的斜线部粘在(a)的斜线部上方;太阳能电池台(1)是将(d)贴在(c)的沟槽处,比(d)的两端稍稍内侧的上方都位,将(e)(f)的中心部与(d)呈垂直状态粘贴上。

3.在马达底座上安装马达,固定在步骤2的电机台上。然后安装螺旋桨,橡胶管。
4.太阳能电池安装台(2)的制作是:将泡沫塑料粘在电机台上,再从其上方粘贴贴有万能抹布的板子、固定好。最后要达到可自由安装、拆卸太阳能电池的状态。
5.如图所示做好模型后,装上太阳能电池(1.7V,400mA左右),首先就是要调整平衡。当小船左右摇摆时,可适当地削割船底部四周的棱角使之平衡。然后就是调整前后的平衡,这就要看螺旋桨没入水中的深度。如果后部下沉的状态不太好,可试着对船底中央部进行修整,使底部中央有一些凹陷。螺旋桨完全没在水中是最好的。

将太阳能电池连接在马达上。太阳能电池要并联连接,然后再连接马达,连接时要注意马达的旋转方向。晴天时,在日照比较好的场所,我们会听到很大的螺旋桨旋转时发出的声音。小船也会静静地浮在平静的池水中。当让螺旋桨强劲旋转时,小船就会快速前进。
我们让舵歪斜时,小船就会一边转着圈一边前进。天气不太好的情况下,我们可以在家里做实验,在一个较大的脸盆里,使用家里的照明灯就可以。根据照明灯照射的角度、远近的不同.我们能观察到小船移动方向的变化。注意事项照明灯不要距离太阳能电池过近,另外也要注意不要长时间做此实验。我们还可以试着制作双马达的小船,看看效果如何。
实验内容
使用2个马达,太阳能电池的种类也要改变
实验方法

【制作方法】
基本上与1号机的制作顺序相同。将2个船体连在一起后,各安装1个马达,然后连接太阳能电池。电池可用1.7V、400mA,或1.9V、750mA,或者1.93V、1000mA,要并联连接。

马达安装台A要用木工粘合剂粘在斜线部分。将f、g粘在h处,这样就做成了太阳能电池台(1)。
把i和j粘在一起做成舵台。在马达和安装台的中央部(2)的位置粘上l。在其上方放置k并粘好,贴上万能抹布,这样太阳能电池(2)就做好了。
为了保证在①和②的主体上安装的马达、螺旋桨能够同时同方向产生相等的推力,就要确认配线的连接口听到稳定的旋转声音后,把它放在水面上,然后轻轻地一松手。那么,你就可以欣赏有着双倍能量的双马达小船疾速航行的情景了。
文件下载(已下载 1978 次)发布时间:2014/10/20 下午12:21:15 阅读次数:8132
