电流在磁场中受力
实验内容
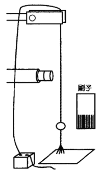
在架子上水平放置一根棒状强力磁铁。在其中一个磁极前方吊一根导线,使导线下方能自由摆动。
让同学们想像一下当导线中通过电流时会怎样。
所需材料
架子,细的绝缘线(4芯的,80cm),强力棒状磁铁(马甲型钕磁铁若干或者把吸铁石并排在一起形成棒状),铝箔,钓鱼用的铅坠(4B型,约1g—)1个,电池(2~4节串联,或者6~12V蓄电池)、带有小夹子的导线2根。
实验方法
1.将绝缘线的一端剥掉约1cm的绝缘层,在这一端的5cm处装上铅坠。将1cm×3cm的铝箔用剪刀剪成如图那样,在导线的一端用玻璃带固定,做成一个刷子。
2.用架子上的可调节高度夹子吊着绝缘线。
3.在导线上放一片铝箔,调整刷子的高度使之刚好接触到铝箔。
4.用可移动夹子水平地夹住棒状磁铁,再将磁铁的一端设置在导线上方1~2cm的地方。
5.将导线上端接到电源的一个电极上,把铝箔连接到另一个电极上。
在这里可以问一下同学们,“当导线中通过电流时导线会怎样呢?”不要给出可供选择的答案。同学们可能会认为“导线会被磁铁的一端吸引”或者“会被磁铁的一端排斥”。受过正规理科教育的同学们只能给出以上两种答案。
在牛顿力学中,物体间有相互作用力。让物体运动的力,是相互作用力(物体之间力的方向)在起作用。也许同学们一生当中都不会有其他的体验。实验时导线会向旁边松弛。同学们就会惊讶地说:“怎么回事?难道有超能力?”这里就是想让同学们有错觉。这样就可以借机超越牛顿力学,引出磁场的概念。
若实验中使用U型磁铁,就会与本实验的本质相背离。那时不管同学们回答“被吸进磁铁中”还是“被磁铁排斥出来”都是对的。那样的话还是遵守“牛顿定律”而不能超越它。
注意事项
1.电源使用蓄电池即可。在摩托车的专卖店或修理店都可以找到废弃的电瓶,必要时可充电后再使用,这时为了不使导线的温度升高,可缩短电流流动的时间。
2.钕磁铁很窄,所以要将几个钕磁铁并在一起(用大钉子或螺丝钉)固定在铁棒的一端使用。
3.若同学们能从导线回旋的实验过程中联想到连续的回旋运动,距法拉第电动机就只有一步之遥了。
4.然后,让同学们看一下棒状磁铁形成的磁感线,即可找到关于力的方向的线索。那就是这个实验中导线的运动方向是横穿磁感线。
5.导线所受的力是向左还是向右,其实哪边都不是,也哪边都是。因为“改变电流方向就会改变力的方向”,“改变磁极就会改变力的方向”,这个“逆•逆法则”是谁都可以想到的,所以只要验证一下它就可以了。其实“弗莱明左手定律”就是“弗莱明的左手记忆法”。
文件下载(已下载 1904 次)发布时间:2014/6/8 下午8:05:17 阅读次数:6502
